Jenn-Air Electric Walloven WM27260B Timer Repair

What is the timer/clock part number for the Jenn-Air WM27260B Electric Walloven?

Timer part number 71002215 for Jenn-Air WM27260B

The WM27260B Electric Walloven uses timer part number 71002215.

Do you have a failed Jenn-Air WM27260B control panel? Click here:

Request Appliance Timer Service

We can repair or replace your faulty Jenn-Air WM27260B timer.

WM27260B are also sometimes referred to using these Alternative Names/Model numbers

Maytag WM27260B Electric Walloven, Whirlpool WM27260B Electric Walloven

WM27260B Schematic and Wiring Diagrams

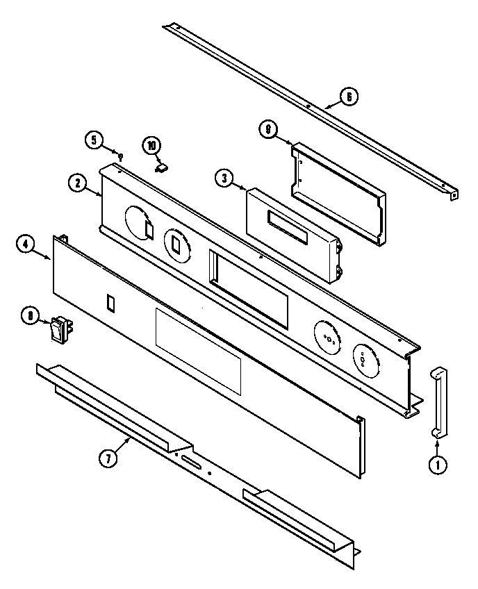
Control panel Parts diagram
WM27260B Electric Walloven Control panel Parts diagram
Internal controls Parts diagram
WM27260B Electric Walloven Internal controls Parts diagram
Body Parts diagram
WM27260B Electric Walloven Body Parts diagram
Oven Parts diagram
WM27260B Electric Walloven Oven Parts diagram
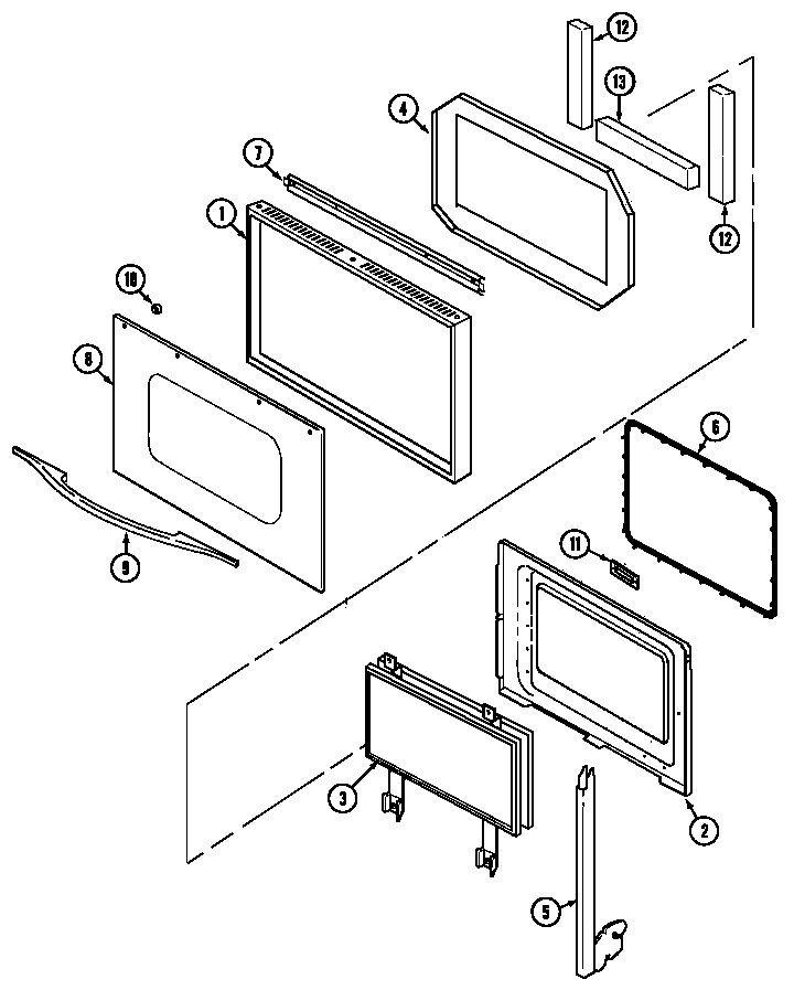
Door Parts diagram
WM27260B Electric Walloven Door Parts diagram
Microwave Parts diagram
WM27260B Electric Walloven Microwave Parts diagram
Microwave trim kit Parts diagram
WM27260B Electric Walloven Microwave trim kit Parts diagram
Microwave trim & mounting (ser. 14) Parts diagram
WM27260B Electric Walloven Microwave trim & mounting (ser. 14) Parts diagram

Recent Service Requests

CityProblem DescriptionResolution
Twelve Mile, IndianaWas cooking and timer display just went out. Light on oven works so know there is power, but no display on timer so can't get an error code. I turned off breaker at fuse panel to reset but no display.Awaiting receipt of timer
HOUSTON, TexasWill not operate above ~350 degRepaired
Greenback, TennesseeClock temp controler dead.Awaiting receipt of timer
HAMBURG, MinnesotaTHIS IS A MICROWAVE AND OVEN WALL UNIT.
MICROWAVE IS OK.
OVEN WILL NOT HEAT ON BAKE, CONVECTION, OR BROIL.
I REPLACED THIS PART IN 2007, NOW IT HAS BEEN DISCONTINUED.
Repaired
Babbitt, MinnesotaIn the middle of the night the clock maybe went blank (don't know if that was after I turned off the circuit breaker because it was making a pretty loud humming noise.) After turning the circuit breaker back on it has definitely stayed dark.Repaired
Royalton, IllinoisNo display, convection fan runs all the time, up button sticks.Beyond Repair
Royalton, IllinoisNo display, convection fan runs all the time, up button not working properly.Beyond Repair

Common problems for Jenn-Air Electric Walloven WM27260B Timer Repair

Are you encountering a similar problem as them? Contact us now and we will try to help you fix your WM27260B timer-related problem.
The direct drive motor is locking upand making a squealing sound as if the forward and reverse coils are energizing simultaneously. I had a repair tech test the commutator and the wiring harness - all were OK. The tests suggested the problem was in the main power board. But replacing it did not help. The first time this happened I unplugged the machine so the process could reset. This solved the problem. But now the motor locks up at the start of the cycle and trips an LE error. The repair tech has never encountered a problem like this before. Any suggestions would be appreciated.u
I have a LG wasing machine and it quit working mid cycle. It had smoke coming from the control panel and smelled like electrical wire burning inside the panel. Did LG have a problem with the panels? Would a clock do this? Any help wiound be greatly appreciated.
I have a jenn air electric wall oven. Model #WM27260B The broiler works but the oven doesn't. When I set it on bake 350 degrees. It takes 20-30 minutes for the oven to warm to 200 degrees and it won't get any hotter. What do you suggest? How do I repair it?
I have a LG Tromm front load washer that fills with water when not in use. The machine just started with the problem this week. I need help!
I have a GE WLSR2000G3WW it is barely a year old. At first when the water comes in, it won't cut off and the dial doesnt move. It runs onto the basement floor and does not wash. It does pump the water out after I turn the dial , but it doesnt want to spin or let the rinse water come in most of the time, also it doesnt want to spin on the final spin. I have to turn the dial around a couple of times to get it to work halfway properly. Is this a clock problem?
Jenn Air Oven Model WM27260B Error code F7 plus beeping My Jenn Air Oven, Model WM27260B, shows Error code F7 plus beeping. the cancel/off button does not work. I disconnected power multiple times in excess of 20 Mins no help. Can someone tell me what this error code means. Any help much appreciated. Thanks in advance Bob L
I have inherited at GE Hotpoint washer and dryer. They may be older than ten years also.....I can't really tell. The dryer works fine but the washer has a problem. Whenever I wash clothes I have to take the clock knob and advance it by hand or it stays in the cylcle it is in. I have a feeling a new clock might be in order except that I don't have over $100 for the part to spare right now. The Model # is: WLW330BNL and the serial # is: TD181965H I am tempted to pull the timing mechinism out but am opting to get some professional advice before doing that. Any suggestions, folks? Could it possibly be something else besides the timing mechinism? Please let me know if you get a chance.
Need help. Single mom with 2 kids and my machine isnt working. Fills great for wash cycle, aggitates ,rinses and drains. Then when it goes to refill the water trickles out so it never fills. If I move the knob it will spin out and drain but the clothes still has soap on it. Month ago went on utube and fixed the pressure value which was clogged. Now don't know what it is.
Model# : WLSR3000G1WW Age: 2yrs Problem: Washer will not spin or agiatate. PC board comes up with error code, 6 flashes "Locked Rotor". I am able to reset the code and get a standby flash. After resetting it will throw the same code, with out spinning the motor. I am wondering if there is somekind of load unbalance reset or something else that could be preventing the rotor from turning. I can spin all parts by hand freely. Is this motor shot? We had the same problem last year and a tech was able to reset the code and get it working agian. Am I missing something?
My washer's clock knob is broken - its a GE WLSR2000G2WW. It doesn't push in and pull out properly. When I looked inside there is this white clock box and I can't get it open to look inside. How the heck do you get this box off to see what's going on with the knob connection? Hope this makes sense. Here's a picture of the part I can't remove.
Wall oven model #WM27260B. Heating elements do not turn on and heat in any setting(bake, conv cook, or broil). Temp gauge shows 100 degrees and the fan does not start up. At initial start-up a click can be heard. Ther are 2 circuit boards according to the diagram and would image that one of these controls the elements?