Jenn-Air W188W Timer Repair

What is the timer/clock part number for the Jenn-Air W188W Range?

Timer part number 702801 for Jenn-Air W188W

The W188W Range uses timer part number 702801.

Do you have a failed Jenn-Air W188W control panel? Click here:

Request Appliance Timer Service

We can repair or replace your faulty Jenn-Air W188W timer.

W188W are also sometimes referred to using these Alternative Names/Model numbers

Maytag W188W Range, Whirlpool W188W Range

W188W Schematic and Wiring Diagrams

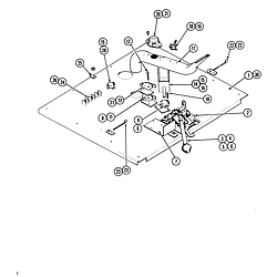
Control panel Parts diagram
W188W Range Control panel Parts diagram
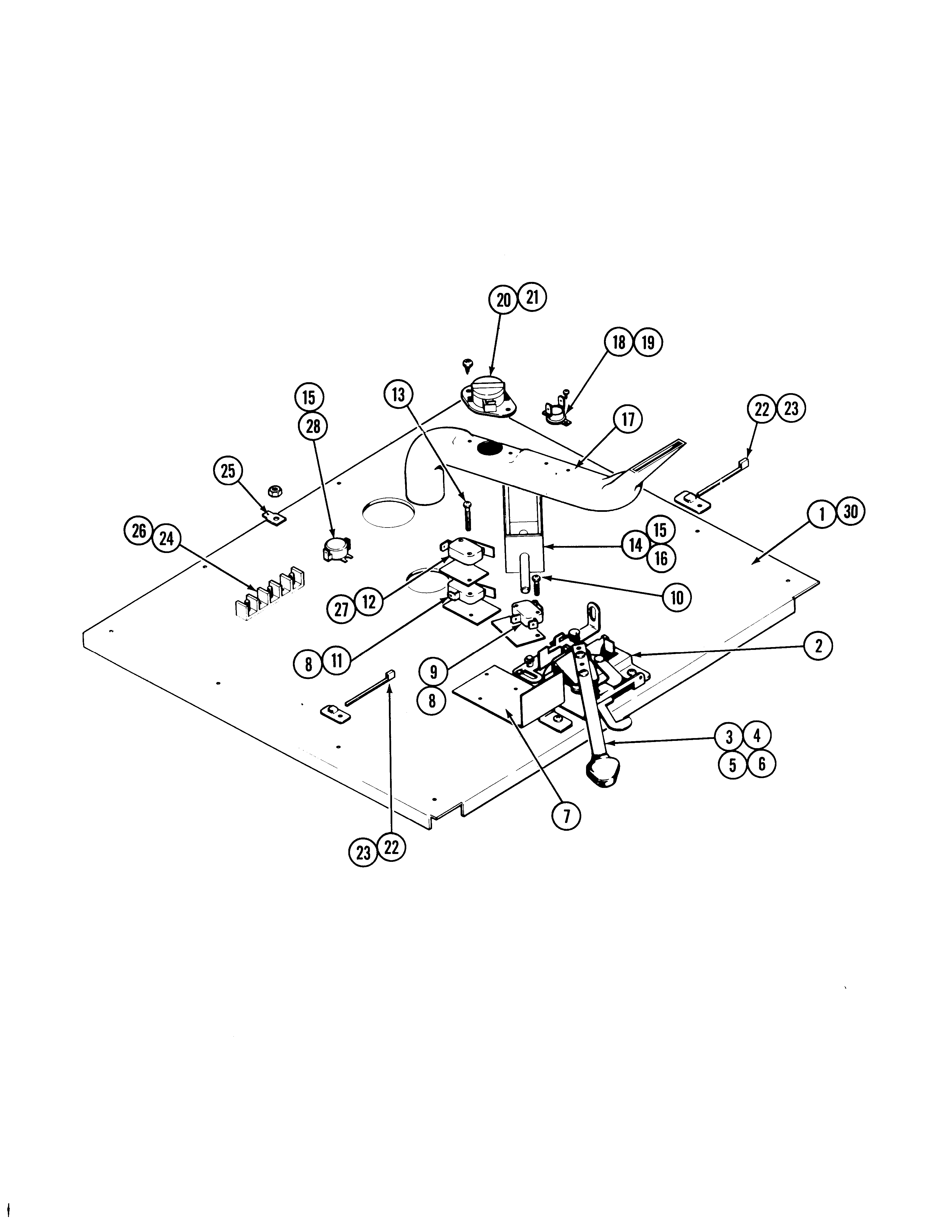
Control panel (w188w) Parts diagram
W188W Range Control panel (w188w) Parts diagram
Door (w188w) Parts diagram
W188W Range Door (w188w) Parts diagram
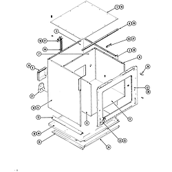
Basic body (w188w) Parts diagram
W188W Range Basic body (w188w) Parts diagram
Internal controls (w188w) Parts diagram
W188W Range Internal controls (w188w) Parts diagram
Oven liner (w188w) Parts diagram
W188W Range Oven liner (w188w) Parts diagram
Fans-cooling (w188w) Parts diagram
W188W Range Fans-cooling (w188w) Parts diagram
Fans-convection (w188w) Parts diagram
W188W Range Fans-convection (w188w) Parts diagram

Common problems for Jenn-Air W188W Timer Repair

Are you encountering a similar problem as them? Contact us now and we will try to help you fix your W188W timer-related problem.
Our Jenn Air W132B serial # 23826092WK burned out the bake element last week. We purchased a new bake element and had an appliance repairman install the new element. The element failed to come on, even though the broiler works, the clock works, the controls to turn the oven off and on work - but no power seems to be getting to the bake element. The repairman says we need a new "power source" for the bake element - it probably "burned out" when the bake element "died". We spoke to Whirlpool customer service - they tell us the power control for the bake element is "likely" housed in the clock in this model. we would like to purchase a new part for this oven, and have it professionally installed. we are uncertain whether purchasing part # AP 4397494 from Appliance Parts which is labeld as "electronic control" will solve our problem. The part costs $217.00 and we hesitate to purchase it unless it will solve the problem of getting power to the new bake element. Your good counsel on this rep
I received an old Jenn-Air wall oven from a customer and would like to give it to my son-in-law, but it has problems and I cannot find a wiring diagram. Any help appreciated.
My Jenn-Air W188W wall oven control panel has stopped working. It is either the control board (202801A is the original number but now is called a PS119188) or the Glass front panel (PS505758) which has what must be capacitive switches for buttons. How can I get this replaced or repaired?