Bosch SMU7052UC14 Timer Repair

What is the timer/clock part number for the Bosch SMU7052UC14 Dishwasher?

Timer part number 92198 for Bosch SMU7052UC14

The SMU7052UC14 Dishwasher uses timer part number 92198.

Do you have a failed Bosch SMU7052UC14 control panel? Click here:

Request Appliance Timer Service

We can repair or replace your faulty Bosch SMU7052UC14 timer.

SMU7052UC14 are also sometimes referred to using these Alternative Names/Model numbers

SMU7052UC-14 (FD 7507-790, SMU7052UC-09 (FD7307, 750, SMU7052UC-09 (FD 7507-790

SMU7052UC14 Schematic and Wiring Diagrams

Fascia panel and outer door Parts diagram
SMU7052UC14 Dishwasher Fascia panel and outer door Parts diagram
Inner door Parts diagram
SMU7052UC14 Dishwasher Inner door Parts diagram
Inner liner Parts diagram
SMU7052UC14 Dishwasher Inner liner Parts diagram
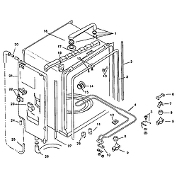
Component assemblies Parts diagram
SMU7052UC14 Dishwasher Component assemblies Parts diagram
Body Parts diagram
SMU7052UC14 Dishwasher Body Parts diagram
Dispenser Parts diagram
SMU7052UC14 Dishwasher Dispenser Parts diagram
Toe kick Parts diagram
SMU7052UC14 Dishwasher Toe kick Parts diagram
Racks Parts diagram
SMU7052UC14 Dishwasher Racks Parts diagram

Common problems for Bosch SMU7052UC14 Timer Repair

Are you encountering a similar problem as them? Contact us now and we will try to help you fix your SMU7052UC14 timer-related problem.
Hello, I have an old Bosch smu 7052 uc/14 dishwasher and I need help replacing the program monitor drive. How do I remove the fascia panel insert to access the back of the panel to replace the drive. Also, there is a small curved clip that I believe goes under the blue and ooven monitor drive--it fell out when I tried to reinstall the part and I'm not sure how/where it attaches. Thanks for your help, Robin