Jenn-Air Electric Slide-In Range S176 Timer Repair

What is the timer/clock part number for the Jenn-Air S176 Electric Slide-In Range?

Timer part number 71003096 for Jenn-Air S176

The S176 Electric Slide-In Range uses timer part number 71003096.

Do you have a failed Jenn-Air S176 control panel? Click here:

Request Appliance Timer Service

We can repair or replace your faulty Jenn-Air S176 timer.

S176 are also sometimes referred to using these Alternative Names/Model numbers

Maytag S176 Electric Slide-In Range, Whirlpool S176 Electric Slide-In Range

S176 Schematic and Wiring Diagrams

Control panel (s176) Parts diagram
S176 Electric Slide-In Range Control panel (s176) Parts diagram
Control panel (s176w) (s176w) Parts diagram
S176 Electric Slide-In Range Control panel (s176w) (s176w) Parts diagram
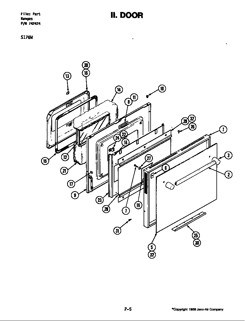
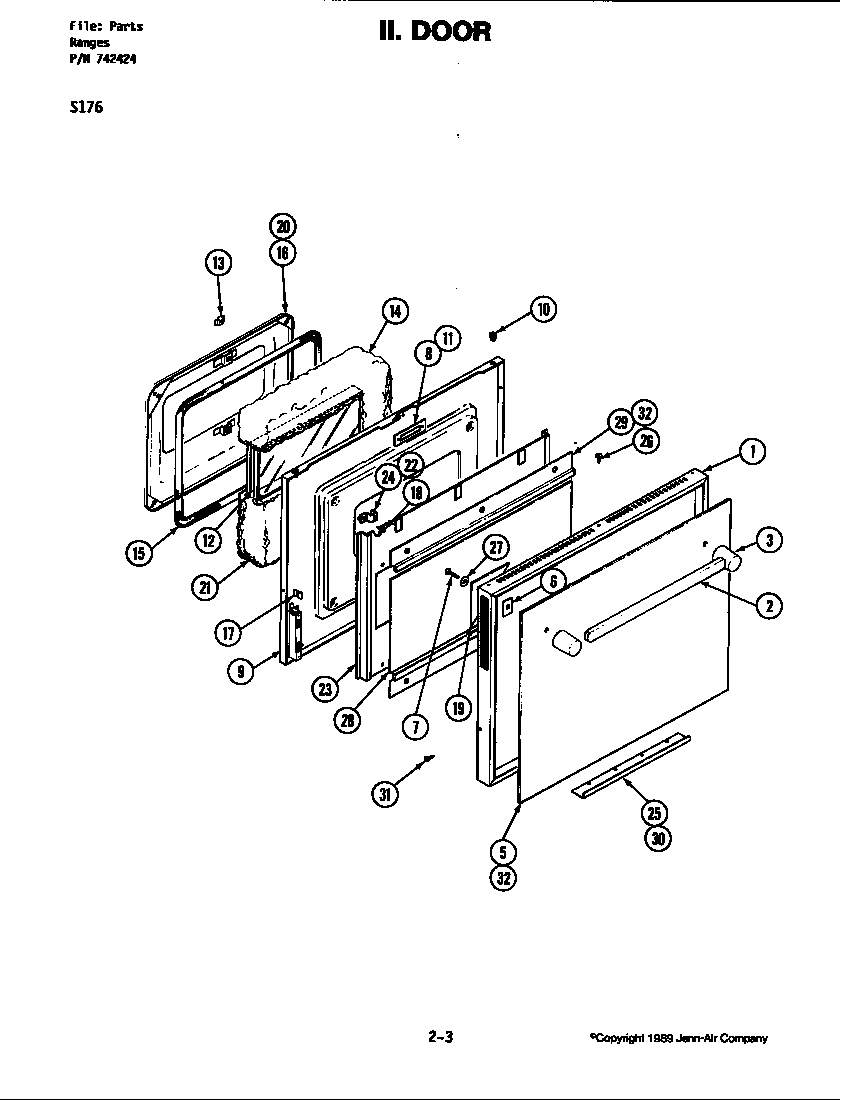
Door (s176) Parts diagram
S176 Electric Slide-In Range Door (s176) Parts diagram
Door (s176w) (s176w) Parts diagram
S176 Electric Slide-In Range Door (s176w) (s176w) Parts diagram
Access panel (s176) Parts diagram
S176 Electric Slide-In Range Access panel (s176) Parts diagram
Access panel (s176w) (s176w) Parts diagram
S176 Electric Slide-In Range Access panel (s176w) (s176w) Parts diagram
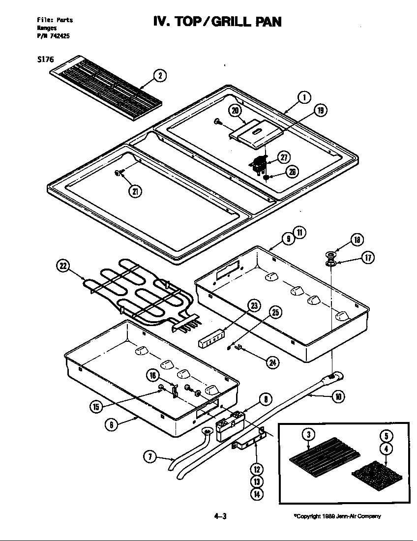
Top/grill pan (s176) Parts diagram
S176 Electric Slide-In Range Top/grill pan (s176) Parts diagram
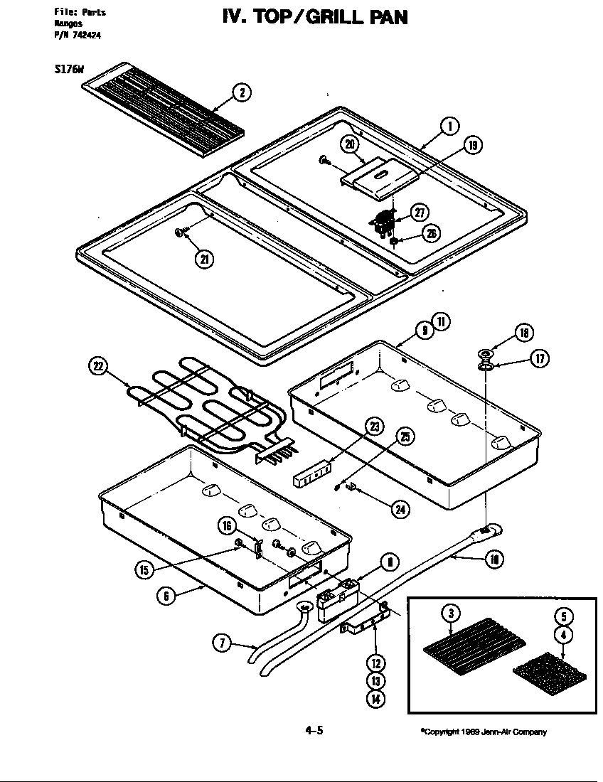
Top/grill pan (s176w) (s176w) Parts diagram
S176 Electric Slide-In Range Top/grill pan (s176w) (s176w) Parts diagram
Body (s176) Parts diagram
S176 Electric Slide-In Range Body (s176) Parts diagram
Basic body (s176w) (s176w) Parts diagram
S176 Electric Slide-In Range Basic body (s176w) (s176w) Parts diagram
Internal controls (s176) Parts diagram
S176 Electric Slide-In Range Internal controls (s176) Parts diagram
Internal controls (s176w) (s176w) Parts diagram
S176 Electric Slide-In Range Internal controls (s176w) (s176w) Parts diagram
Liner (s176) Parts diagram
S176 Electric Slide-In Range Liner (s176) Parts diagram
Oven liner (s176w) (s176w) Parts diagram
S176 Electric Slide-In Range Oven liner (s176w) (s176w) Parts diagram
Blower motor (cooling fan) (s176) Parts diagram
S176 Electric Slide-In Range Blower motor (cooling fan) (s176) Parts diagram
Blower motor-cooling fan (s176w) (s176w) Parts diagram
S176 Electric Slide-In Range Blower motor-cooling fan (s176w) (s176w) Parts diagram
Blower motor (convection fan) (s176) Parts diagram
S176 Electric Slide-In Range Blower motor (convection fan) (s176) Parts diagram
Blower motor-convection fan (s176w) (s176w) Parts diagram
S176 Electric Slide-In Range Blower motor-convection fan (s176w) (s176w) Parts diagram
Blower motor (blower/plenum) (s176) Parts diagram
S176 Electric Slide-In Range Blower motor (blower/plenum) (s176) Parts diagram
Blower motor-blower/plenum (s176w) (s176w) Parts diagram
S176 Electric Slide-In Range Blower motor-blower/plenum (s176w) (s176w) Parts diagram

Recent Service Requests

CityProblem DescriptionResolution
Toronto, OntarioDisconnected timer from touch pad while on and still get F0Awaiting receipt of timer
Menominee, MichiganOven will turn on then in a few seconds will click, click, click then turn itself off. Will not stay on.Repaired
Menominee, MichiganOven will turn on then in a few seconds will click, click, click then turn itself off. Will not stay on.Repaired
Maynardville, TennesseeConvection doesn't work, can't turn off oven when it is hot.Awaiting receipt of timer
Fredericton, New BrunswickClock operates but touch pad does not turn on the ovenRepaired
Cascade, MontanaControl board has no function at all. No lighting of clock, timer, or oven functions. The rest of the range works including burners, grill, down draft fan & oven light.Repaired
Starkville, MississippiTimer has been dimming over the last 5 years to the point it is now no longer readable. Additionally now the digital timer even when it is not set will go off every 50-60 seconds. You can cancel the timer and 50-60 seconds later it will alarm again. Nothing will stop the timer form going off except cutting the power. The timer does not effect the function of the stove top just a pain constantly cancelling the timer form alarming.Awaiting receipt of timer
Laval, QuebecThe lower oven element won't heat at all. All other top burners and broil element, timer, clock, ect function normally. Just the lower oven element will not heat.
We changed the lower element with a new one and the problem persists.
We now need a new control (clock) board
Y04100262 Oven Control Board
Awaiting receipt of timer
Toronto, OntarioThe stove is beeping continually on a F1 error code. But - if we turn on an element or turn on the oven - the stove works normally - I would hope & I have searched for this part (which they tell me they no longer have in stock) so I am hoping that this part can be repaired.
Would appreciate any help you can give me.
Marilyn Bower
23 Ealing Drive
Toronto, Ontario - phone # 416-449-9897
Awaiting receipt of timer
MONROE, Louisianait worked then fault code F1 and beeping, disconnected from power for 24 hours and went back to working for a month or so, then repeat of the fault, tried disconnecting power and soon as i turned the breaker back on F1 and beeping.Repaired
Wainfleet, OntarioF1 code and no response to touch pad.Awaiting receipt of timer
Jefferson, MarylandDisplay goes dark. Can usually be brought back to life by wiggling the knob/post used to adjust oven temperature or clock time.

Oven/broiler will additionally occasionally stop working in the middle of a baking session.
Repaired
Apple Creek, OhioLCD screen fades out and usually hitting it with palm brings it back on momentarily, usually long enough to set temp or timer.Repaired
Lind, WashingtonOven turns on for a few seconds and then shuts off. Appliance repair shop said it was a controller board/timer.Awaiting receipt of timer
tipton, IndianaOven, broil, convection does not work. I can hear relay engage when pushing pad button, can set temperature, after 5 seconds I can hear relay drop out and the temp setting goes away
clock works
Repaired
Callander, Ontariono codes display components missing, constant beepingTimer inspected, no repairs necessary
Port Elgin, OntarioThis timer was beeping with an error code (F1, I think?).. but is now completely dead, no display at all. There is power going to the board.Repaired
Seven Mile, OhioMy range will begin to beep sporadically and sometimes shuts off the oven on its' own after I set it to preheat. The clock seems to work just fine. The beeping comes and goes, but is very annoying.Awaiting receipt of timer
Jefferson, MarylandAwaiting receipt of timer
west babylon, New Yorkclicks on but then oven does not go on and within 10 secs it goes offRepaired

Common problems for Jenn-Air Electric Slide-In Range S176 Timer Repair

Are you encountering a similar problem as them? Contact us now and we will try to help you fix your S176 timer-related problem.
Jenn_Air Oven Problem Our Jenn-Air oven is Model D156 or S176; I suspect it is an S176, because ours is a "Slide-in" version. When we push the button for "Bake," or "Convection Bake," everything looks normal for several minutes. After the dial is turned to select the baking temp, the Digital Read-out indicates 140 degrees, as is normal. The indicated temperature should begin to increase until the desired temp is achieved, (at which time, the oven beeps). Most of the time now, the oven malfunctions and turn off. This morning I had make repeated attempts to start the oven. It took about 9 or 10 tries before the temperature reading began to increase. If the temp ever starts going up, it will complete the baking job just fine.
Jenn-aire s176 electric oven will not hold set temperature The electric oven heats to the set temperature, but then goes down and will not maintain the set temperature. I hear the relay clicking. I resoldered the relay board and checked the connections. Whenever i touch the j2 cable or the relay board the relays click on/off as if there is a loose connection.
I inherited the job of fixing an older Jenn-Air model S160 oven that has numerous wiring problems--I found some exposed wiring and burned female contacts, which are all easy to fix, but it looks like someone rewired the burner element to be a 3-wire system, while the oven wiring is all 4-wire (and some of it looks like it's been changed). There is no wiring diagram, so I do not know the correct wiring for either the burner or the oven inself. Help!
While my convection oven was running, I heard a pop, then lights out, elements no longer light up, no control panel, the downdraft fan switch doesn't work. The oven still heats but no temperature control. Any ideas on the potential problem?
jenn-air Model S176 shows a f1 fault.....will not stop BEEPing......oven and burners work
How can I get a manual for this product? I bought one used and it does not have a manual. It is model number s176, run number 01, serial number 942167by. Thank you.
JennAir F8 Our Jenn-air oven/oven is an older model (maybe 20 years? - model #S176) and the oven will only beep and flash a F8 code, when you press cancel/off you can bake or any other function for under two minutes when it again shuts and begins beeping and flashing F8. A repairman says we need to have the electronic oven controls replaced (I believe that is the electric control panel). Oddly enough they are on national back order till October. With installation it is $350 we are told so getting an new oven seems smarter.Is there a temporary solution that allows us at least partial use of the oven, maybe a way to disengage the controls or the like? We saw some mention of that when searching online.Thanks!
My older but very functional Jenn Air down draft oven with oven has a fan noise problem. Still works but fan is getting very noisy. Must it be replaced? If so, please give me some hints and tips on how to proceed without paying more than the cost of a new range.
I have an old Jenn Air electrical oven (model S176). Recently it throws out F1 code and continues beeping. How can I fix this? Can I use the oven without the touchpad?
I have a Jenn Air oven/oven model S176. The digital readout on the clock/temp etc went dimm and finally out over time. Everything else seems to work fine. I ordered and installed a new Electrical Control Panel part Y04100262. It installed fine, but even with the new part the clock/temp etc still does not work. The touch panel and everything else works fine, except for the digital readout. Is there another part, or what do I do next.
I have an older S176 Jenn Air oven. Based on the error codes I have gotten (F1 and F0) I think the touchpad is bad. If you press bake you can hear a faint click, then about five seconds later another faint click, both from inside the oven. I understand the part is obsolete, but my local appliance repair man claims to have one for about $220. I have replaced these parts once a few years ago and don't want to do this again if this is going to be an ongoing problem. I detached the touchpad from the clock. You can "jumper" the connections where the clock connects (where the little mylar strip goes) and sometimes when you jump from "bake" to ground the bake lights will come on for a few seconds then go off. Sometimes it just makes the click sounds. In any case, is this failure caused by heat and would it be worth trying to insulate the touchpad / controls from the oven? Also, is there any better place to get a replacement touch pad? Thanks, XXXXX XXXXX
I have a 20 year old S176 electric oven. When I set an oven temperature it begins to warm up, then abruptly turns off after about 15 seconds. Same with the broiler. However it is intermittent. About one out of five times it will actually heat up to the set temperature. However, the touch pad works fine in setting the clock. What part is likely to be at fault and needs replacing? Touch pad? Thermostat? These parts are expensive, hard to find and not returnable given the age of the oven so I want to avoid buying a part I don't need. Finally, can I install these myself?
Replaced old Jenn-air s176 with a new jgs999000cds downdraft oven old duct work wont line up It hits the gas regutlator on the new range any soultions?
After baking today I turned my Jenn Air Oven model S176 off because I knew it would be awhile before the next batch of cooked would be ready to bake. When I went to turn the oveb back on I touched "Clean" instead of of "Bake" and the oven started to go into the self clean mode. I didn't know I had done this until I heard the fan running. I had already started to turn the temp dial up when I realized what I must have done. I hit cancel at least 4-5 times and the LED read out went back to the clock mode and there was nothing about the cleaning cycle being active on the control panel LED screen. However the oven door is locked and when open. It been about an hour and it is still lock. I don't know if it had to cool down to zero warmth inside from the prior baking or if I have messed something up. Any help would greatly be appreciated. Thank you
Jenn-Air s176 Just the cancel button works on the front panel and the clock keeps time (some leads stay and some dont come on at all). The oven was being used (bake at 450)when the inside of the clock steam up. When they notice the hit cancel, but got a beeping a fault code (F something). Hit cancel again, all clear for a second, then beeping and a flashing vertical PRB and the clock working (as describe above). Switch breaker off, waited and put back on. Only cancel button works and clock as 1st stated and no codes at all.
I have a Jenn-Air Model D156 or S176 Manual. A code of F8 came up and we replace the main card, but now it saying door and we can't get it to release. Do we have to replace the part that opens the door or can't it be in the harness wires.