Caloric Gas Range RSK3700UWW Timer Repair

What is the timer/clock part number for the Caloric RSK3700UWW Gas Range?

Timer part number 307045 for Caloric RSK3700UWW

The RSK3700UWW Gas Range uses timer part number 307045.

Do you have a failed Caloric RSK3700UWW control panel? Click here:

Request Appliance Timer Service

We can repair or replace your faulty Caloric RSK3700UWW timer.

RSK3700UWW are also sometimes referred to using these Alternative Names/Model numbers

Amana RSK3700UWW Gas Range, Whirlpool RSK3700UWW Gas Range, RSK3700UW-P1141253NW, RSK3700UWW-P1141223WW, RSK3700UL-P1141247NL, RSK3700UWW-P1141247WW, RSK3700UL-P1141253NL, RSK3700UW-P1141247NW, RSK3700UK-P1141247NK, RSK3700UK-P1141223NK, RSK3700UWW-P1141247NWW, RSK3700UL-P1141223NL, RSK3700UK-P1141253NK, RSK3700UW-P1141223NW, RSK3700UWW-P1141253WW

RSK3700UWW Schematic and Wiring Diagrams

Cabinet assembly Parts diagram
RSK3700UWW Gas Range Cabinet assembly Parts diagram
Oven assembly Parts diagram
RSK3700UWW Gas Range Oven assembly Parts diagram
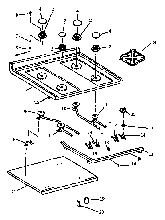
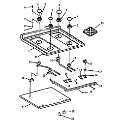
Sealed burner Parts diagram
RSK3700UWW Gas Range Sealed burner Parts diagram
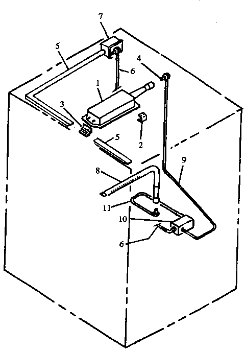
Backguard Parts diagram
RSK3700UWW Gas Range Backguard Parts diagram
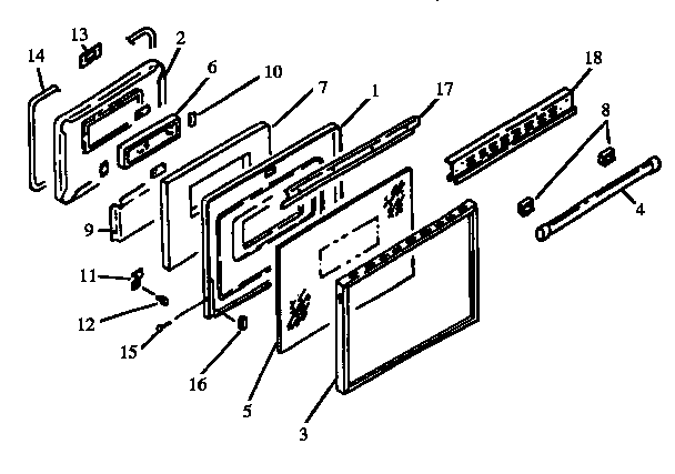
Oven door assembly Parts diagram
RSK3700UWW Gas Range Oven door assembly Parts diagram
Storage drawer assembly Parts diagram
RSK3700UWW Gas Range Storage drawer assembly Parts diagram
Gas components Parts diagram
RSK3700UWW Gas Range Gas components Parts diagram
Electric components Parts diagram
RSK3700UWW Gas Range Electric components Parts diagram

Recent Service Requests

CityProblem DescriptionResolution
Santa Monica, CaliforniaOven & broiler will not light. No gas flows. Press to turn on, "Clunk" with start up, then beeps as it shuts off after 5 seconds. Oven had been intermittent before then.Repaired

Common problems for Caloric Gas Range RSK3700UWW Timer Repair

Are you encountering a similar problem as them? Contact us now and we will try to help you fix your RSK3700UWW timer-related problem.
The "cancel" knob on my old caloric oven (Model no. RSK3700UWW, Mfg no. P1141223NWW) broke off. Unfortunatly it was not just the knob but also the shaft that the knob slid onto. I need the switch assy but have not been able to find it online. Any thoughts?
I have a Caloric Ultra Ray RSK3700UWW. 3 of the burners on the rangetop will not light at all, and the front left one (as you're viewing it) only has a very small flame--even cranked out on high. The Oven will not heat past 100 degrees. I know this sounds crazy--but can propane freeze, or slow down, in the line? The propane tank is located outside, and plumbed to the range. We just had a big snowstorm today and part of the line outside was covered with snow. The symptom is making me think I've run out of propane, but we just had a delivery a couple months ago, and we don't usually go through Propane that quickly.
I have a Caloric Ultra Ray RSK3700UWW and we ran out of propane, We now have the propane tank refilled, however, I can not get the burners or the range to work. Need to know how to restart the pilot for range a and burners....Thanks-Scott
I have a Caloric oven/range - Ultra Ray Broiler - Model RSK3700UWW, bought in 1994. Almost from the beginning, sy 1995 or 1996, the oven come up only intermittently & hence unreliable. A service person who took a look asked to replace some electronic unit costing over $300 at that time & we did not go with it (too expensive, plus we thought the intermittent nature will settle to some predictable way). Pl. help!