Caloric Gas Range RSK3700UL Timer Repair

What is the timer/clock part number for the Caloric RSK3700UL Gas Range?

Timer part number 31-307045 for Caloric RSK3700UL

The RSK3700UL Gas Range uses timer part number 31-307045.

Do you have a failed Caloric RSK3700UL control panel? Click here:

Request Appliance Timer Service

We can repair or replace your faulty Caloric RSK3700UL timer.

RSK3700UL are also sometimes referred to using these Alternative Names/Model numbers

Amana RSK3700UL Gas Range, Whirlpool RSK3700UL Gas Range, RSK3700UL-P1141247NL, RSK3700UL-P1141253NL, RSK3700UL-P1141223NL

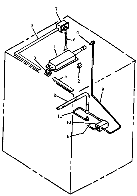
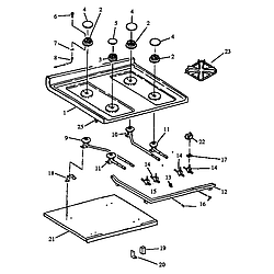
RSK3700UL Schematic and Wiring Diagrams

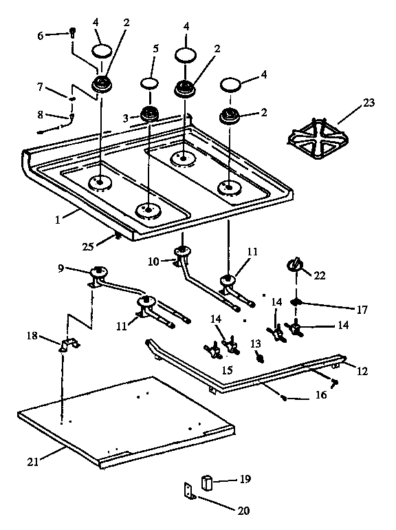
Cabinet assembly Parts diagram
RSK3700UL Gas Range Cabinet assembly Parts diagram
Oven assembly Parts diagram
RSK3700UL Gas Range Oven assembly Parts diagram
Sealed burner Parts diagram
RSK3700UL Gas Range Sealed burner Parts diagram
Backguard Parts diagram
RSK3700UL Gas Range Backguard Parts diagram
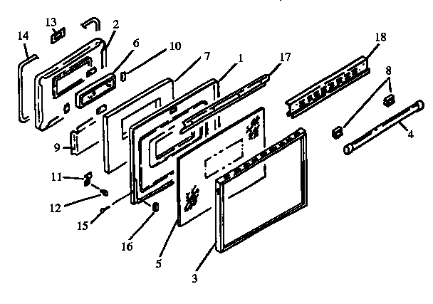
Oven door assembly Parts diagram
RSK3700UL Gas Range Oven door assembly Parts diagram
Storage drawer assembly Parts diagram
RSK3700UL Gas Range Storage drawer assembly Parts diagram
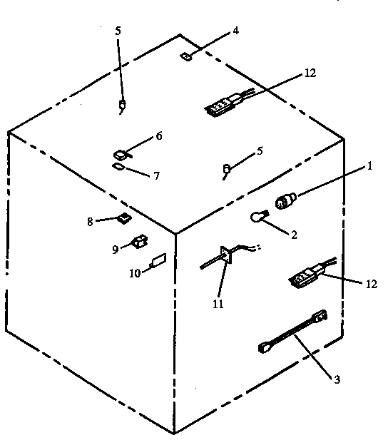
Gas components Parts diagram
RSK3700UL Gas Range Gas components Parts diagram
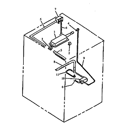
Electric components Parts diagram
RSK3700UL Gas Range Electric components Parts diagram

Recent Service Requests

CityProblem DescriptionResolution
Lake Orion, MichiganHad power surge and now the timer does not function.Awaiting receipt of timer
Brunswick Hills, OhioThe oven is not staying on and warming. It turns on and turns right off without warming up.Awaiting receipt of timer
Niagara falls, OntarioSelect Bake or Broil eg. 350o F a few seconds later entire request vanishes with only time of day remaining.Also no heat activation has occured (This is a gas Range) Thank you I hope you can helpRepaired

Common problems for Caloric Gas Range RSK3700UL Timer Repair

Are you encountering a similar problem as them? Contact us now and we will try to help you fix your RSK3700UL timer-related problem.
My Caloric oven won't ignite. Broiler works. range top works, but oven won't ignite. Is it just a case of needing a new ignitor?
We have a Caloric model RSK3700UK. Neither the oven nor the broiler will light. Neither ignitor seems to glow at all. The range top works as normal. Any suggestions?
Oven will not light up properly not heating, error read F3 M rsk3700ul, s.a XXXXXXXXXX
caloric oven bake broil and clean push buttons do not register.
how do i convert from natural gas to lp i got a oven for nothing and no manual
My Caloric gas oven takes about 15-25 minutes to reach the selected oven temp. i.e. 375 degrees will take 20 or more minutes to get that hot. Any idea whats wrong? The ignitor glows red and the gas flows when I uncover the elements to see what is happining. Help!! Wife is asking for a new Oven.
Hi to all I have a below side by side refrigerator : SRS684GDHSS Side by Side 684L capacity - OVERVIEW | SAMSUNG and please sea below picture to know my problem in this side by side : http://up98.org/upload/server1/02/i/...meexlqmlr3.jpg http://up98.org/upload/server1/02/i/...1y2z6qij3g.jpg Can you please tell me why i have thrush and ice in my side by side? The fridge degree is set on : 3 centigrade The freezer degree is set on : -20 centigrade I am wait for your help
A couple of weeks ago there was a loud noise coming from the fridge part of my american style fridge/freezer. (it sounded like a vibrating noise). When the door was opened the noise stopped but started again intermitently once the door was closed. The noise has now stopped but the fridge is not cold. The freezer part is fine. The thermostat on the front of the appliance is still showing the fridge temperature as 4 deg C. but the temperature is definitely not 4 deg C. My guarantee expired in 3 months ago on this appliance. Please can you help
The oven and broiler will not come on, the top burners are OK. Would appreiciate any help Alan
The dual burner element(on top part of my range) on this model has gone out in the center portion. Initially I was told they no longer make the part I need(#100656-01). It seems that Dacor had some trouble with a new company making the part and pulled it(the new maker was doing a service kit that included a new switch even though only the burner element was needed). I think there may have been wiring difficulties with installation but I'm not sure . The new part # I was given was #700411-01. Now in talking to Dacor directly,THEY gave me the 700411-01 number as the current part number for the dual number and said it WAS available(BUT I think it's really for the dual COOKTOP and not the freestanding unit model). YOUR website has a part that lists this part's old and new part numbers.1)Is it a kit with a switch included? 2)Does it require a rewire instead of wiring the same way as the original burner that I need to replace? 3)Do you know if this is the part that caused problems when origi
Replaced the Dual Gas Valve in the subject unit because the Bake Ignitor would come on, glow brightly and maybe and maybe not the Bake side of the valve would open. Broiling side works fine. Baking side of new valve will not open even though Ignitor is glowing brightly. And, again, Broiling funtion works fine. Checked voltage between Ignitor and Valve. It was around 3 vac hooked to valve and 118 vac checking with lead disconnected from valve. Can't figure this one out. Any suggestions?
I have a Dacor RSG30 and when I use the oven I can sometimes smell gas - when I open the door I get a whoosh of gas/flame (like a back draft) - this does this on both regular oven use and convection. I was told it was probably a faulty gas valve as I do not smell gas when the oven is not in use.. Any thoughts?