Caloric Gas Range RSF3400UL Timer Repair

What is the timer/clock part number for the Caloric RSF3400UL Gas Range?

Timer part number 306288 for Caloric RSF3400UL

The RSF3400UL Gas Range uses timer part number 306288.

Do you have a failed Caloric RSF3400UL control panel? Click here:

Request Appliance Timer Service

We can repair or replace your faulty Caloric RSF3400UL timer.

RSF3400UL are also sometimes referred to using these Alternative Names/Model numbers

Amana RSF3400UL Gas Range, Whirlpool RSF3400UL Gas Range, RSF3400UL-P1141222NL

RSF3400UL Schematic and Wiring Diagrams

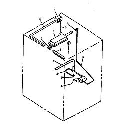
Cabinet assembly Parts diagram
RSF3400UL Gas Range Cabinet assembly Parts diagram
Oven assembly Parts diagram
RSF3400UL Gas Range Oven assembly Parts diagram
Sealed burner Parts diagram
RSF3400UL Gas Range Sealed burner Parts diagram
Backguard Parts diagram
RSF3400UL Gas Range Backguard Parts diagram
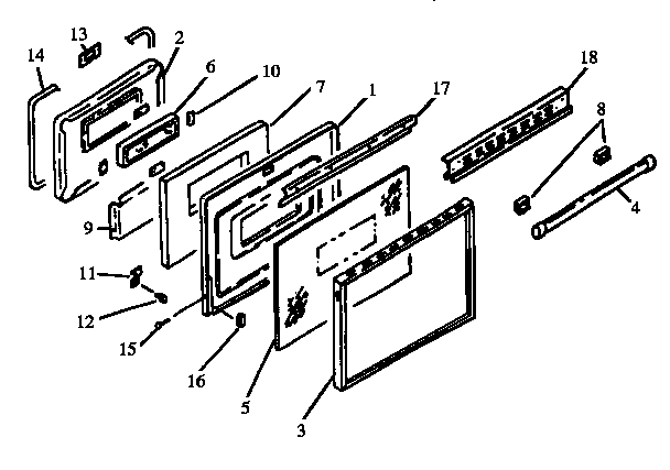
Oven door assembly Parts diagram
RSF3400UL Gas Range Oven door assembly Parts diagram
Storage drawer assembly Parts diagram
RSF3400UL Gas Range Storage drawer assembly Parts diagram
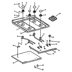
Gas components Parts diagram
RSF3400UL Gas Range Gas components Parts diagram
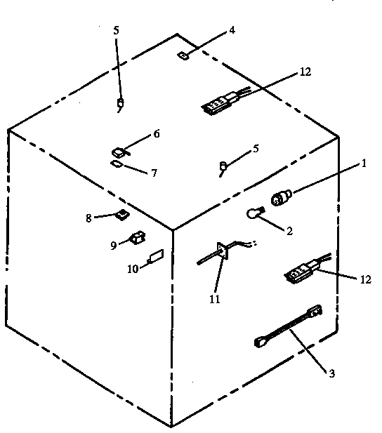
Electric components Parts diagram
RSF3400UL Gas Range Electric components Parts diagram

Common problems for Caloric Gas Range RSF3400UL Timer Repair

Are you encountering a similar problem as them? Contact us now and we will try to help you fix your RSF3400UL timer-related problem.
caloric rsf3400ul freestanding gas oven: the oven will not light; the broiler works fine. The oven igniter seems to glow as brightly as the broiler igniter, but there does not appear to be any gas flow through the oven burner tube. Could the gas valve (that I understand feeds both the oven and broiler) be the problem?
problem getting Caloric RSF3400UL into cleaning cycle
Any direction on proper replacement on the glass defrost heater elements with the side-by-side refrigerator? Working within such a narrow compartment (< 14") difficut to see if the coils need to be removed completely along with the defrost assembly.
I had a problem with the fridge about a month ago where both the fridge and freezer weren't working. I used the screwdriver on the defrost clock and then it started to work. I let it run for a month and the fridge part doesn't get very cold even at the coldest setting. The freezer works just fine. I just replaced the defrost clock thinking that was the problem but the fridge still isn't getting any colder. I've just checked the back wall of the freezer and there is frost on it. Could this have been caused be my using the appliance for the last month with a faulty defrost clock? Is it possible that I caused something else to go wrong by not replacing the defrost clock right away. If I just uplug the refridgerator for awhile would that fix it?
At the lowest settings for the fresh food side and freezer side the freezer was at -5 F and the fresh food side froze everything and caused a soda can to rupture and it was still running. It sits in the attached garage near the back door to the house where it has been for 6 years and only rolled out and back to paint the wall behind it.