Whirlpool Oven RBD306PDT12 Timer Repair

What is the timer/clock part number for the Whirlpool RBD306PDT12 Oven?

Timer part number 4452890 Rev. A for Whirlpool RBD306PDT12

The RBD306PDT12 Oven uses timer part number 4452890 Rev. A.

Do you have a failed Whirlpool RBD306PDT12 control panel? Click here:

Request Appliance Timer Service

We can repair or replace your faulty Whirlpool RBD306PDT12 timer.

RBD306PDT12 Schematic and Wiring Diagrams

Oven/literature Parts diagram
RBD306PDT12 Oven Oven/literature Parts diagram
Oven door Parts diagram
RBD306PDT12 Oven Oven door Parts diagram
Internal oven Parts diagram
RBD306PDT12 Oven Internal oven Parts diagram
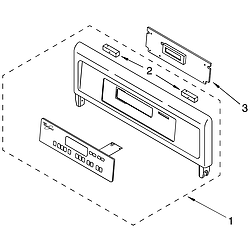
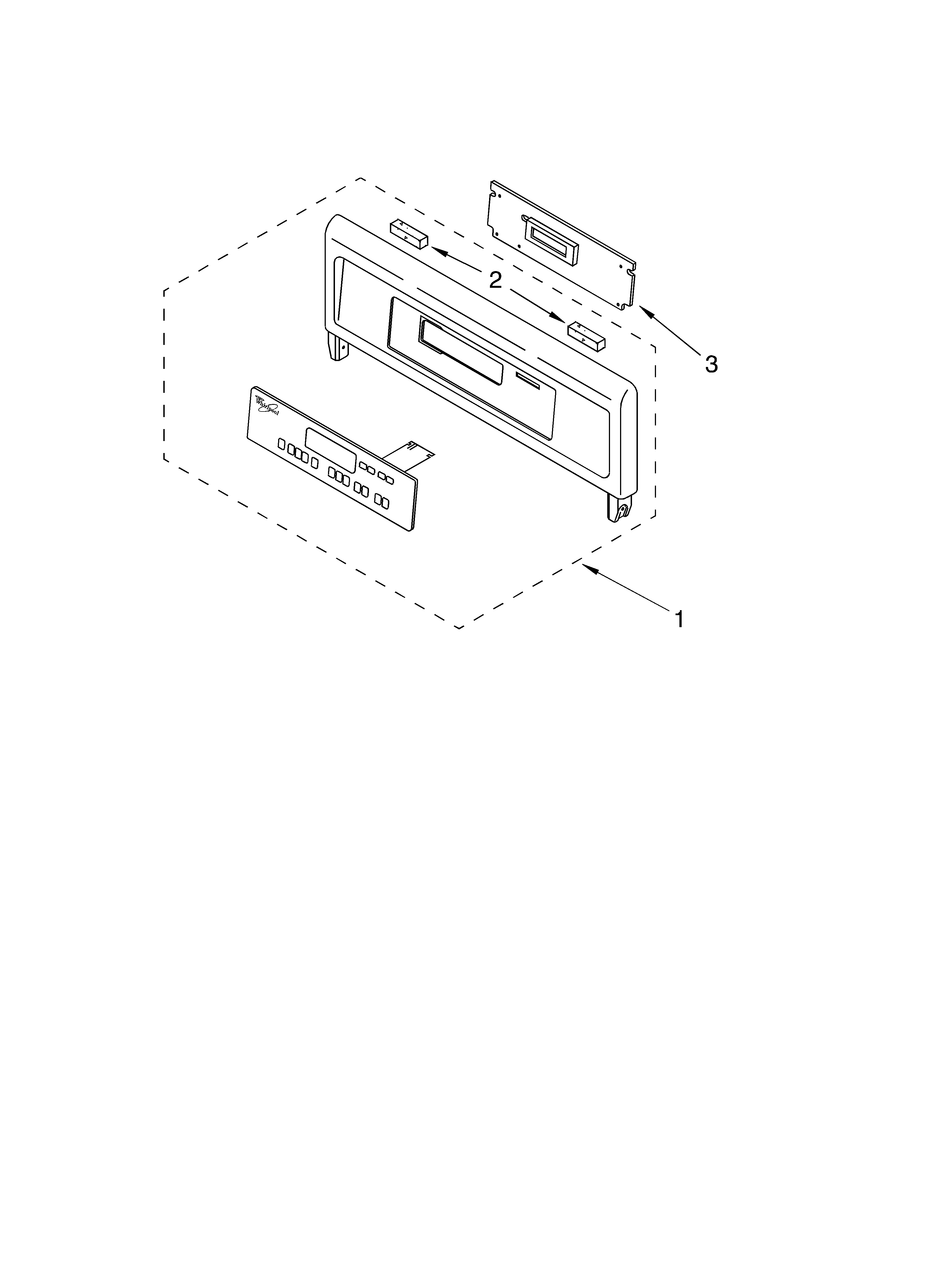
Control panel Parts diagram
RBD306PDT12 Oven Control panel Parts diagram
Top venting Parts diagram
RBD306PDT12 Oven Top venting Parts diagram

Recent Service Requests

CityProblem DescriptionResolution
Gainesville, VirginiaDisplay shows error code E6 F2, beeps 5x then display turns off.Awaiting receipt of timer

Common problems for Whirlpool Oven RBD306PDT12 Timer Repair

Are you encountering a similar problem as them? Contact us now and we will try to help you fix your RBD306PDT12 timer-related problem.
i have a whirpool RBD305PRS00 double electric oven almost 4 years old. about six months ago i noticed the display was dimmed, but the oven was still functioning. it continued to dim, until the display was black. the oven still functioned for a while, but you just couldn't see anything on the display. next thing that happened was, i would press the bake button, then start. the fan would kick on as usual, but after 30 seconds to a minute, there would be a long beep and it would shut off. after a few days, the oven stopped functioning all together. does anyone have any idea as to what the problem may be?
So my Whirlpool built-in double oven started flashing the error code F2 E6 a few weeks ago. At first I could just press the clock Off button and it would clear and be fine for a while. Now it will appear fine (go back to control panel), but will turn off after a few minutes of heating, or will just randomly beep and the display will go black and then come up with the error code even when the oven is not in use. From looking at the error codes, it appeared to be the control keypad. Having not initially found this forum, and having no idea how to even begin to fix it myself, I called Legions of Idiots Appliance Repair (or that should be their name). They sent a tech out who had to "phone home" to diagnose the problem, and was basically looking at the same error code print out that I found online. He ordered the keypad (same price as available online, so okay), and we had to wait a week to get it installed. So Larry and Moe showed up today to install the new keypad, and they had to phone
I have a double oven whirlpool model #rbd305prb00, I noticed the display clock going dim. About 24hrs later the display clock was completely gone but I used the oven and it worked without showing anything on the display. The next day when I tried to use the oven, I pressed upper oven and it just beeped at me and it would not work. What do you suggest?
I need to replace the inner glass door on a whirlpool built-in oven model RBD306pdt12. How do I rremove the door from the oven?