Whirlpool Built In Oven - Electric RBD275PDB15 Timer Repair

What is the timer/clock part number for the Whirlpool RBD275PDB15 Built In Oven - Electric?

Timer part number 8302319 for Whirlpool RBD275PDB15

The RBD275PDB15 Built In Oven - Electric uses timer part number 8302319.

Do you have a failed Whirlpool RBD275PDB15 control panel? Click here:

Request Appliance Timer Service

We can repair or replace your faulty Whirlpool RBD275PDB15 timer.

RBD275PDB15 Schematic and Wiring Diagrams

Lower oven Parts diagram
RBD275PDB15 Built In Oven - Electric Lower oven Parts diagram
Upper oven Parts diagram
RBD275PDB15 Built In Oven - Electric Upper oven Parts diagram
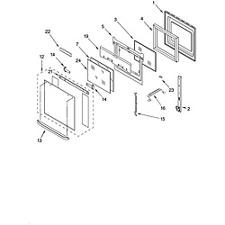
Lower oven door Parts diagram
RBD275PDB15 Built In Oven - Electric Lower oven door Parts diagram
Upper oven door Parts diagram
RBD275PDB15 Built In Oven - Electric Upper oven door Parts diagram
Internal oven Parts diagram
RBD275PDB15 Built In Oven - Electric Internal oven Parts diagram
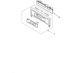
Control panel Parts diagram
RBD275PDB15 Built In Oven - Electric Control panel Parts diagram
Top venting Parts diagram
RBD275PDB15 Built In Oven - Electric Top venting Parts diagram

Common problems for Whirlpool Built In Oven - Electric RBD275PDB15 Timer Repair

Are you encountering a similar problem as them? Contact us now and we will try to help you fix your RBD275PDB15 timer-related problem.
I recently had the same problem that many on this forum have encountered. The display on the Double oven went blank. The inside light continued to work and the oven would beep. The oven is not used very frequently and the self clean feature has never been used. From the information on this forum, it was pointing me in the direction that the control board needed to be replaced (part no. 8302319. I purchased this part from APP.com and installed it over the weekend. Initially, it appeared that it had fixed the problem. The display now works, programming seems to be working fine etc. I tested the upper oven, and it appears to be working as designed (heats up, pre-heats, keypad functions....) When I attempted to test the lower oven, the keypad appeared to be functioning by allowing me to set the temp, and the clock began counting down during the pre-heat cycle. I left the room and when I returned, the oven beeped alerting me that the lower oven had finished pre-heating (set point 350 degree
I have a whirlpool oven RBD275PDB15. The display is out this morning. The keys all beep when pushed and the light button will activate the lights. Nothing comes on the display and the oven doesn't start. I turned off/on the power. pressing upper, bake, start did turn the oven on. After I turned if off it wouldn't come on again. Any thoughts on what I should try next? Thanks
digital display has no lights