Whirlpool Electric Built-In Oven RB262PXYQ Timer Repair

RB262PXYQ are also sometimes referred to using these Alternative Names/Model numbers

RB262PXYQ0

RB262PXYQ Schematic and Wiring Diagrams

Front cover Parts diagram
RB262PXYQ Electric Built-In Oven Front cover Parts diagram
Control panel Parts diagram
RB262PXYQ Electric Built-In Oven Control panel Parts diagram
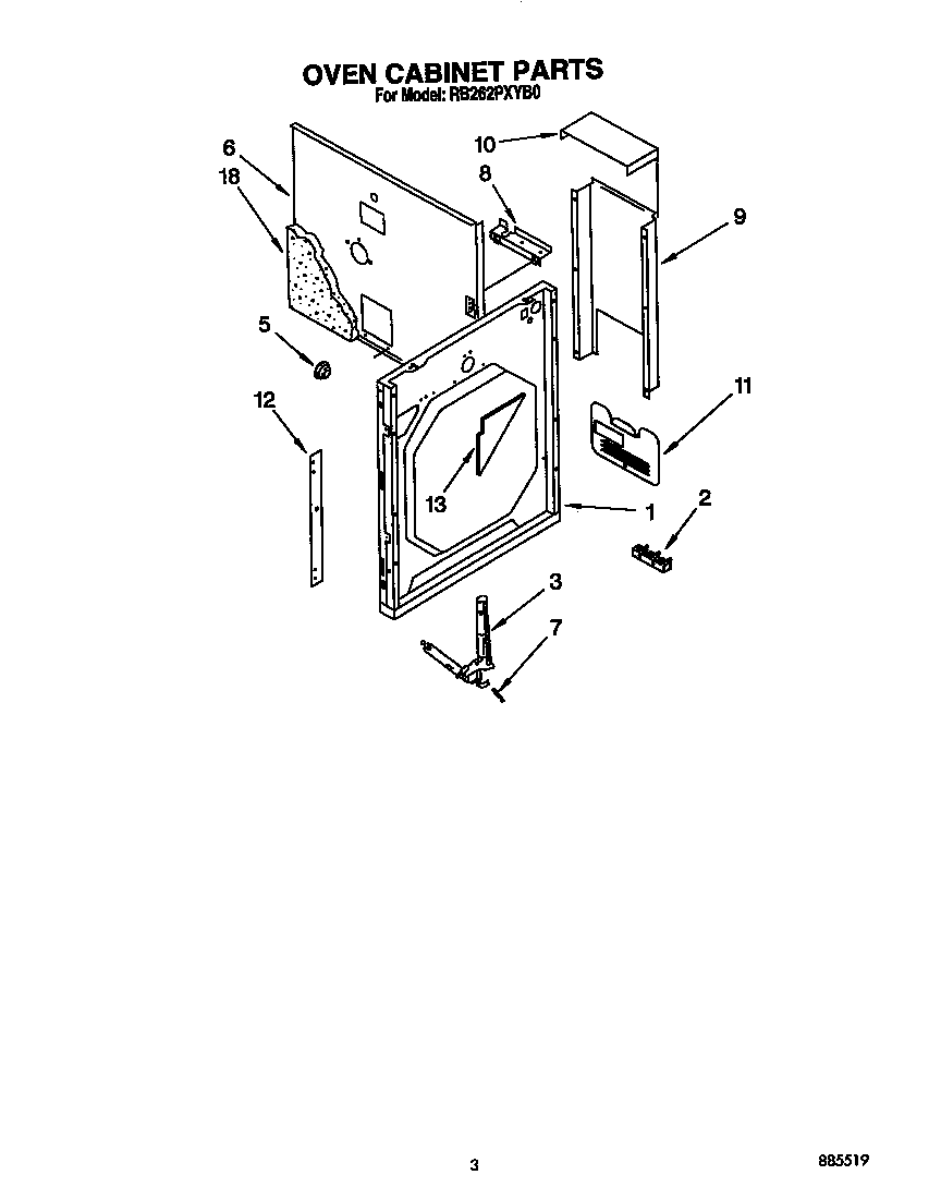
Oven cabinet Parts diagram
RB262PXYQ Electric Built-In Oven Oven cabinet Parts diagram
Internal oven Parts diagram
RB262PXYQ Electric Built-In Oven Internal oven Parts diagram
Oven door Parts diagram
RB262PXYQ Electric Built-In Oven Oven door Parts diagram
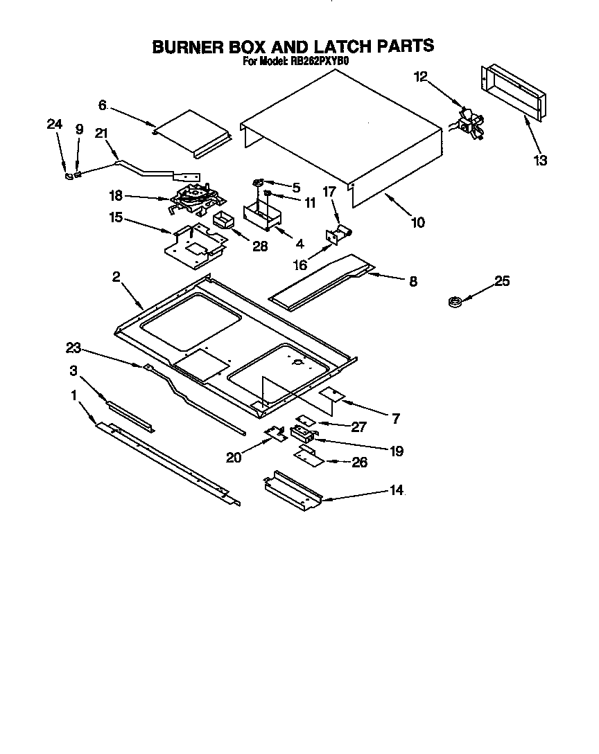
Burner box and latch Parts diagram
RB262PXYQ Electric Built-In Oven Burner box and latch Parts diagram

Recent Service Requests

CityProblem DescriptionResolution
VALENCIA, CaliforniaCAN NOT SETBeyond Repair

Common problems for Whirlpool Electric Built-In Oven RB262PXYQ Timer Repair

Are you encountering a similar problem as them? Contact us now and we will try to help you fix your RB262PXYQ timer-related problem.
My Whirlpool electric oven (RB262PXYQ model) turns on only for a minute or two, then shuts off. I can get it up to temperature or to broil only if I turn it back on every couple of minutes when it goes off. What is the problem and how do I fix it?