KitchenAid KUDM220T0 Timer Repair

What is the timer/clock part number for the KitchenAid KUDM220T0 Dishwasher?

Timer part number 4171360 for KitchenAid KUDM220T0

The KUDM220T0 Dishwasher uses timer part number 4171360.

Do you have a failed KitchenAid KUDM220T0 control panel? Click here:

Request Appliance Timer Service

We can repair or replace your faulty KitchenAid KUDM220T0 timer.

KUDM220T0 are also sometimes referred to using these Alternative Names/Model numbers

Whirlpool KUDM220T0 Dishwasher

KUDM220T0 Schematic and Wiring Diagrams

Front cover Parts diagram
KUDM220T0 Dishwasher Front cover Parts diagram
Door and panel Parts diagram
KUDM220T0 Dishwasher Door and panel Parts diagram
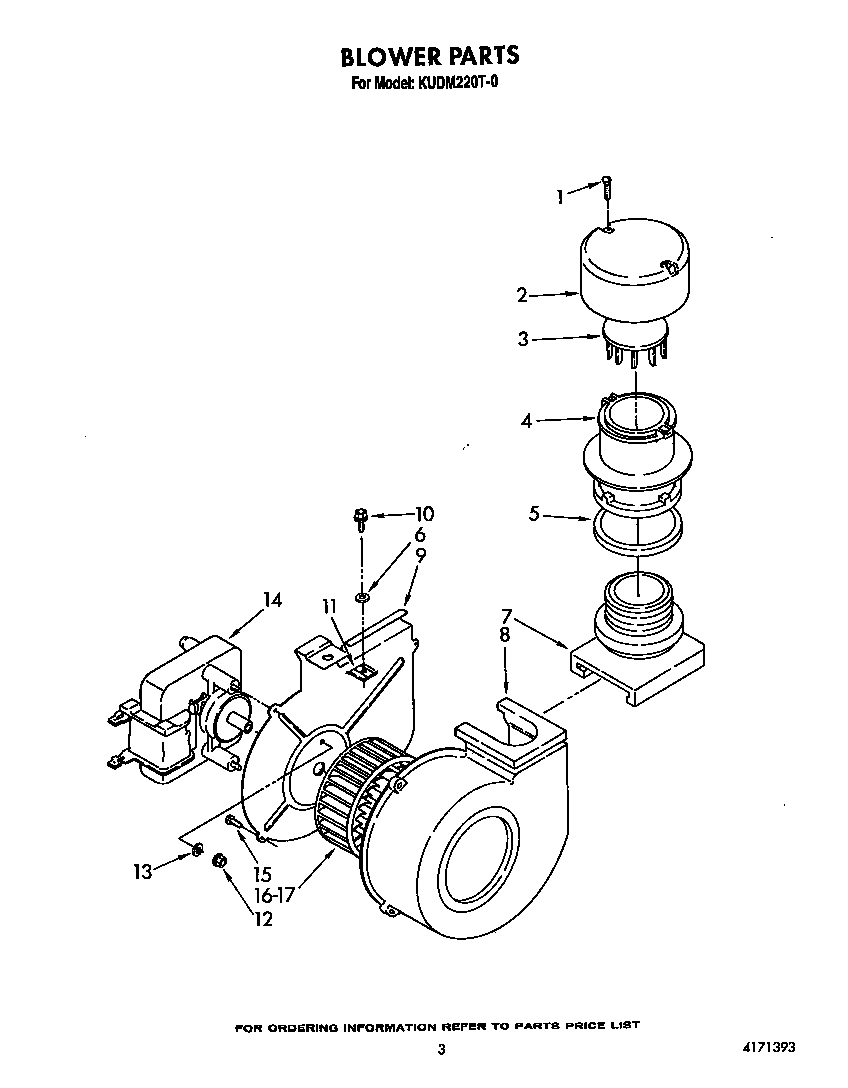
Blower Parts diagram
KUDM220T0 Dishwasher Blower Parts diagram
Control panel Parts diagram
KUDM220T0 Dishwasher Control panel Parts diagram
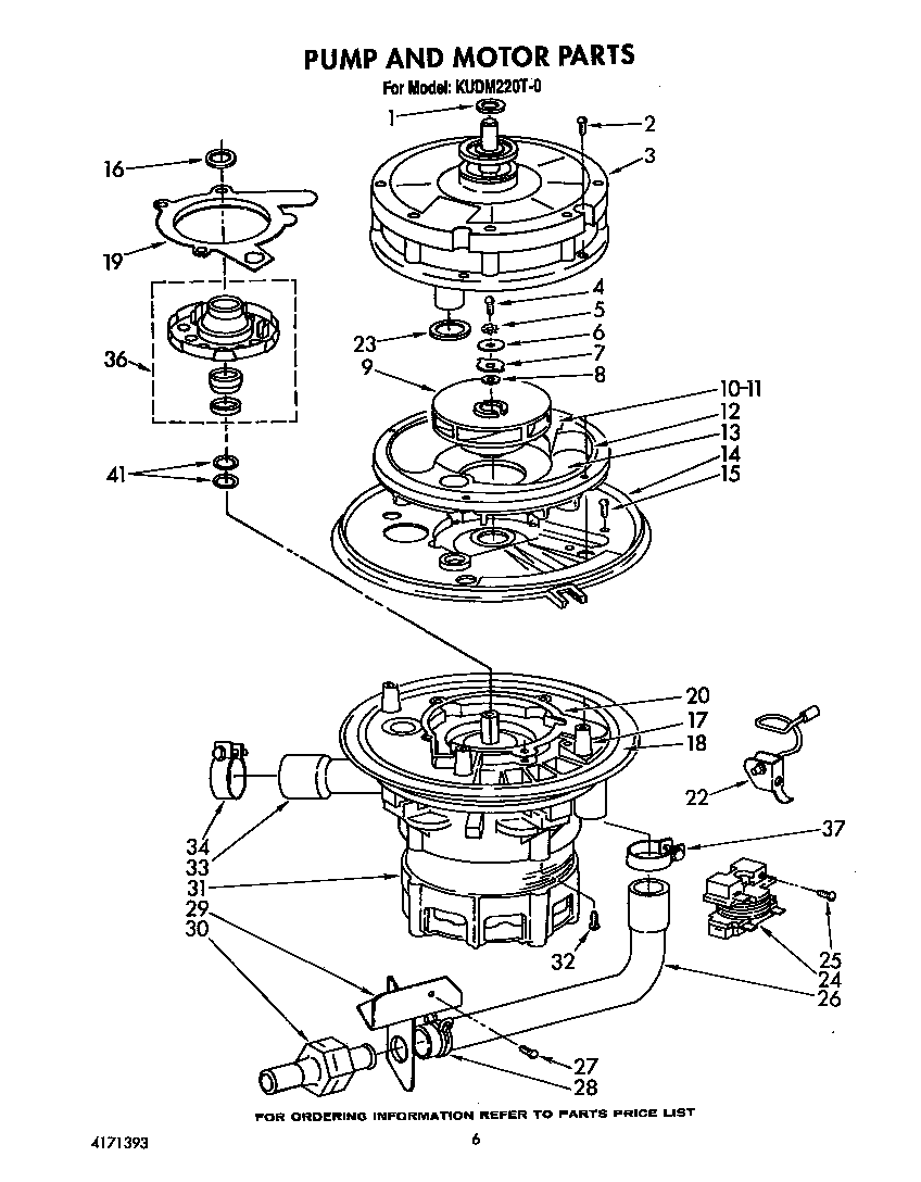
Pump and motor Parts diagram
KUDM220T0 Dishwasher Pump and motor Parts diagram
Lower washarm and strainer Parts diagram
KUDM220T0 Dishwasher Lower washarm and strainer Parts diagram
Heater Parts diagram
KUDM220T0 Dishwasher Heater Parts diagram
Fill and overfill Parts diagram
KUDM220T0 Dishwasher Fill and overfill Parts diagram
Upper wash and rinse Parts diagram
KUDM220T0 Dishwasher Upper wash and rinse Parts diagram
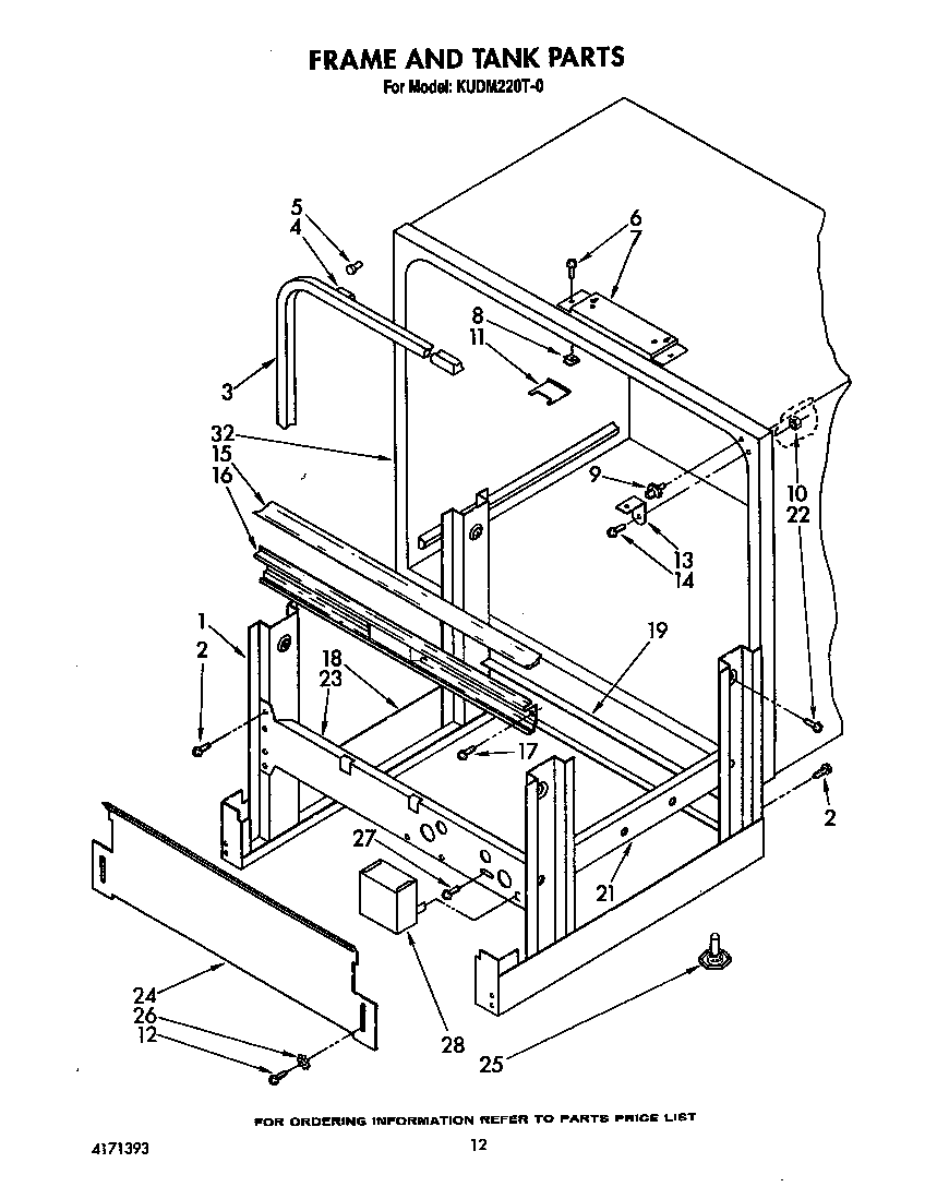
Frame and tank Parts diagram
KUDM220T0 Dishwasher Frame and tank Parts diagram
Upper rack and track Parts diagram
KUDM220T0 Dishwasher Upper rack and track Parts diagram
Lower rack Parts diagram
KUDM220T0 Dishwasher Lower rack Parts diagram
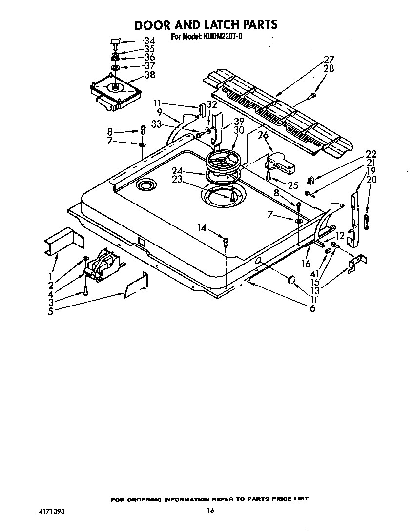
Door and latch Parts diagram
KUDM220T0 Dishwasher Door and latch Parts diagram

Common problems for KitchenAid KUDM220T0 Timer Repair

Are you encountering a similar problem as them? Contact us now and we will try to help you fix your KUDM220T0 timer-related problem.
Hello, This dishwasher leaks down the standpipe during the wash cycle. I cleaned the dishwasher by hand and ran wash cycles with draino, CLR, and Lemi Shine separately. I checked the float switch and it ohms at 23 in one direction and infinity in the other. Also, when I lift up on the float stem to trip the float switch the water flow stops immediately. The water level in the dishwasher when full is just below the heater element. I checked the vent at the sink and it appears okay. The dishwasher drains completely. I thought that maybe a gasket or o-ring was missing from the float stem where it goes into the standpipe but when I order the replacement float from AppliancePartsPros there is nothing on the float stem. I would greatly appreciate any help at this point as I am stumped. Please note that the water is not leaking from the door gasket and the water is not sudsy. It just leaks a lot of water down the standpipe hole where the float stem stick down to the float switch and this take
The bottom panel of our Kitchenaid Superba dishwasher dropped open and I cannot figure out how to get it to stay closed.
I have a KitchenAid Dishwasher Model KUDP220T the will not empty. It will comllete all cycles except draining the water. It will start but after a few seconds draining will shut off. Drains are clear. What part do I need to repair?