KitchenAid Gas Range KGBS276XBLO Timer Repair

What is the timer/clock part number for the KitchenAid KGBS276XBLO Gas Range?

Timer part number PS366448 for KitchenAid KGBS276XBLO

The KGBS276XBLO Gas Range uses timer part number PS366448.

Do you have a failed KitchenAid KGBS276XBLO control panel? Click here:

Request Appliance Timer Service

We can repair or replace your faulty KitchenAid KGBS276XBLO timer.

KGBS276XBLO are also sometimes referred to using these Alternative Names/Model numbers

Whirlpool KGBS276XBLO Gas Range, KGBS276XBL0

KGBS276XBLO Schematic and Wiring Diagrams

External oven Parts diagram
KGBS276XBLO Gas Range External oven Parts diagram
Manifold Parts diagram
KGBS276XBLO Gas Range Manifold Parts diagram
Internal oven Parts diagram
KGBS276XBLO Gas Range Internal oven Parts diagram
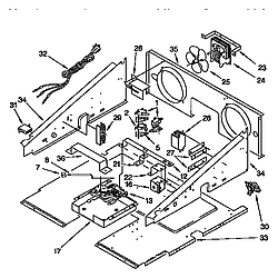
Control panel Parts diagram
KGBS276XBLO Gas Range Control panel Parts diagram
Door latch and control Parts diagram
KGBS276XBLO Gas Range Door latch and control Parts diagram
Oven door Parts diagram
KGBS276XBLO Gas Range Oven door Parts diagram
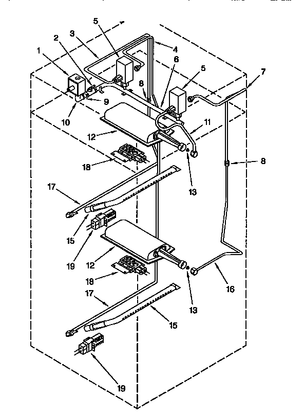
Wiring harness Parts diagram
KGBS276XBLO Gas Range Wiring harness Parts diagram

Recent Service Requests

CityProblem DescriptionResolution
Charleston, South CarolinaNO DISPLAYRepaired
Jericho, New YorkNothing can be seen. Appears to be due to utility line power surges/outages.
Replacement unit not available through KitchenAid.
Repaired
Edgewood, New Mexico, New MexicoLEDs flash on/off constantly. Appears to be due to utility line power surges/outages.
Replacement unit not available through Kitchenaid/Whirlpool.
Repaired
Edgewood, New Mexico, New MexicoLEDs flash on/off constantly. Appears to be due to utility line power surges/outages.
Replacement unit not available through Kitchenair/Whirlpool.
Repaired