KitchenAid Electric Range KERC507HWH3 Timer Repair

What is the timer/clock part number for the KitchenAid KERC507HWH3 Electric Range?

Timer part number 8190681 for KitchenAid KERC507HWH3

The KERC507HWH3 Electric Range uses timer part number 8190681.

Do you have a failed KitchenAid KERC507HWH3 control panel? Click here:

Request Appliance Timer Service

We can repair or replace your faulty KitchenAid KERC507HWH3 timer.

KERC507HWH3 are also sometimes referred to using these Alternative Names/Model numbers

Whirlpool KERC507HWH3 Electric Range

KERC507HWH3 Schematic and Wiring Diagrams

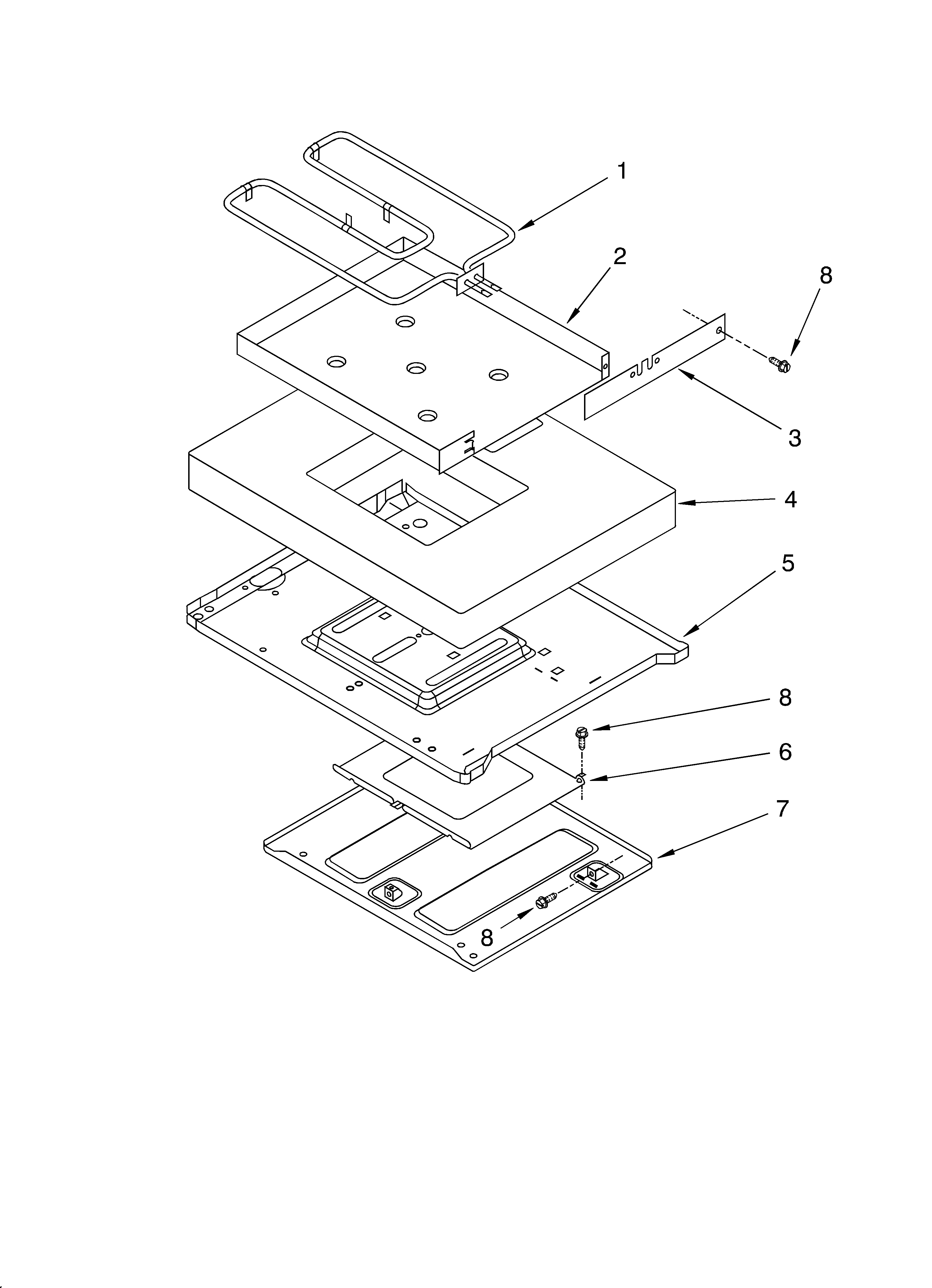
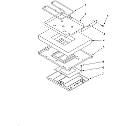
Cooktop/literature Parts diagram
KERC507HWH3 Electric Range Cooktop/literature Parts diagram
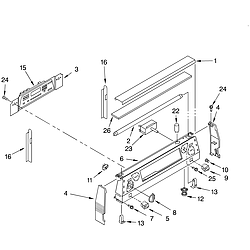
Control panel Parts diagram
KERC507HWH3 Electric Range Control panel Parts diagram
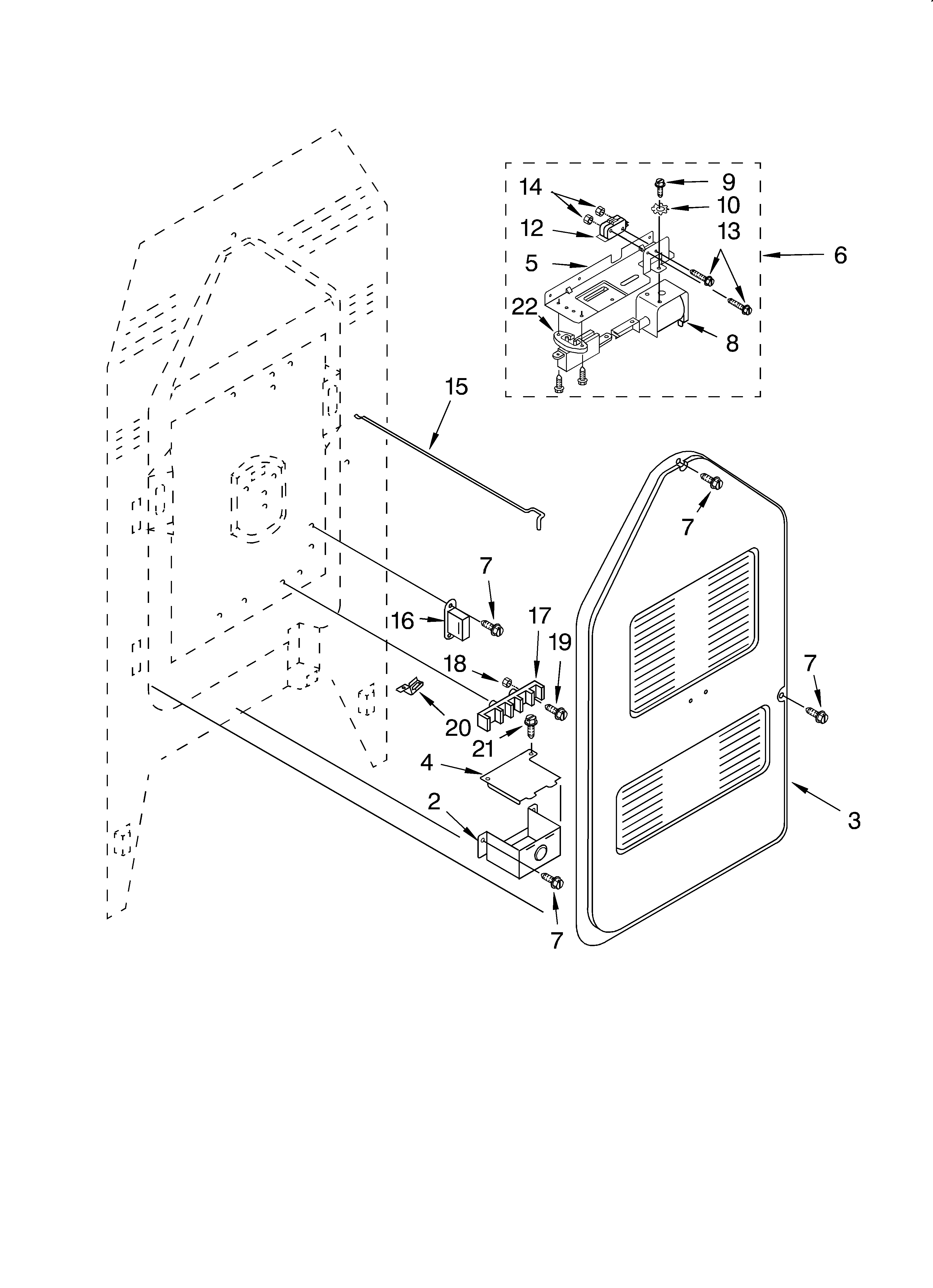
Door and drawer Parts diagram
KERC507HWH3 Electric Range Door and drawer Parts diagram
Oven chassis Parts diagram
KERC507HWH3 Electric Range Oven chassis Parts diagram
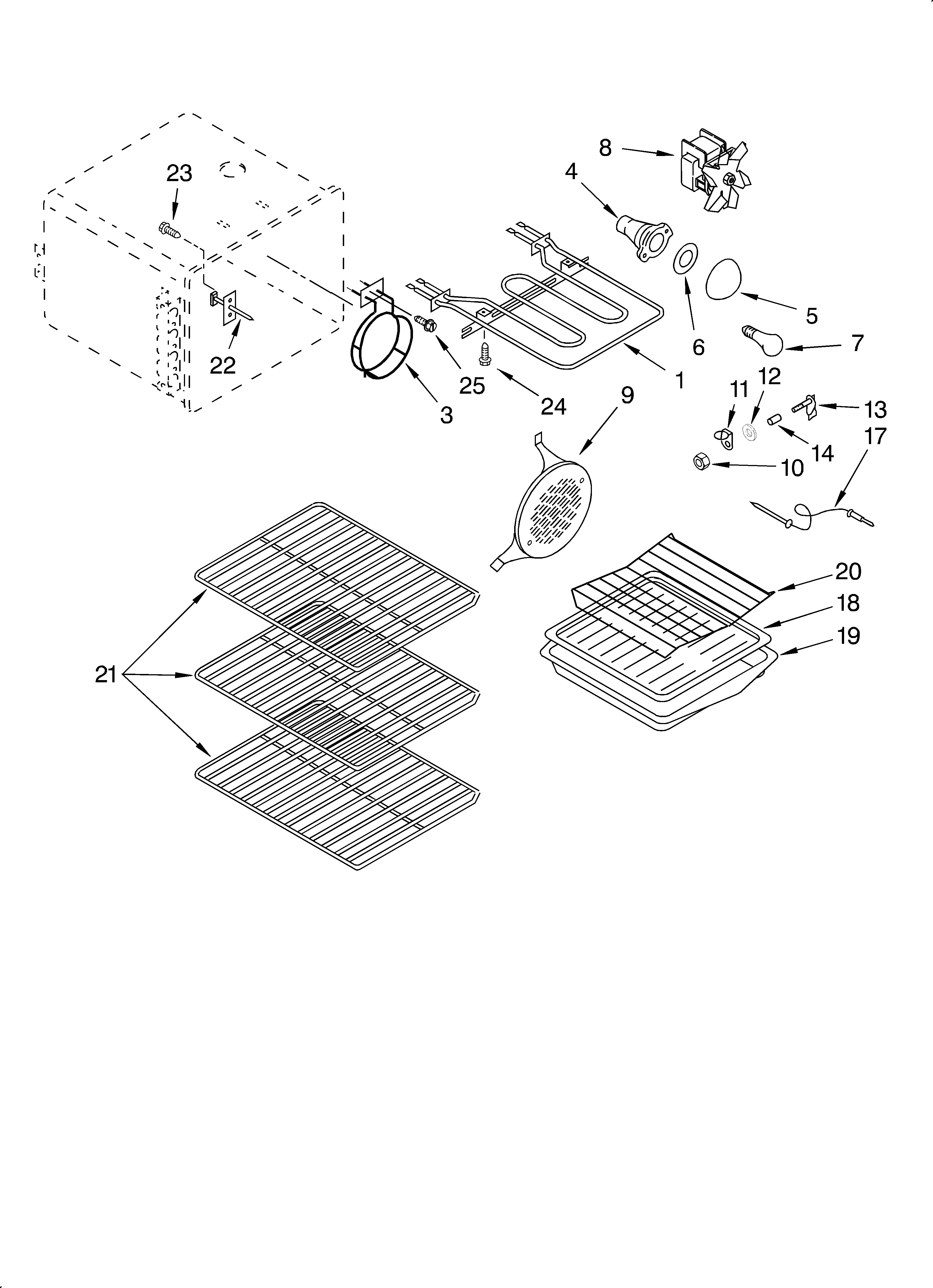
Oven Parts diagram
KERC507HWH3 Electric Range Oven Parts diagram
Rear chassis Parts diagram
KERC507HWH3 Electric Range Rear chassis Parts diagram
Hidden bake Parts diagram
KERC507HWH3 Electric Range Hidden bake Parts diagram

Recent Service Requests

CityProblem DescriptionResolution
Bennett, ColoradoTHE RIBBON IS TORN & WE NEED A REPLACEMENT.Awaiting receipt of timer
Andover, KansasThe standard oven heats unevenly and does not attain or maintain the correct temperature. The convection oven operates properly.Awaiting receipt of timer
Conover, North CarolinaOven doesn't work - everything else seems to work - also sending the fuseable link so if you can check it out and reInsulate it if possible .Timer inspected, no repairs necessary
Conover, North CarolinaOven doesn't work - everything else seems to work - also sending the fuseable link so if you can check it out and reInsulate it if possible .Timer inspected, no repairs necessary
Conover, North CarolinaOven doesn't work - everything else seems to work - also sending the fuseable link so if you can check it out and reInsulate it if possible .Timer inspected, no repairs necessary

Common problems for KitchenAid Electric Range KERC507HWH3 Timer Repair

Are you encountering a similar problem as them? Contact us now and we will try to help you fix your KERC507HWH3 timer-related problem.
Kitchen Aid electric oven display panel has an F2 code. No oven touch pad keys change the F2 display and the oven will not work. Burners work fine. First time poster. I just found your Error Code Sticky. I will check it out. Sorry in advance for not finding it sooner.
My kenmore 90 series cloth washer worked and stopped completely before the "rinse and spin" cycle with a tub full of water. I used a screw driver to push the lid switch and nothing happened. I reset the clock to spin and it runs with regular spins. I opened the washer lid at this cycle, it stopped and I used a screwdriver to activate the lid switch and it ran. I opened up the casing, took up the pump and saw no clogging etc. I don't think it is the lid switch, motor or coupler problems. can it be the clock or pump?
Hi, My Kenmore electric dryer drum spins but will not heat. I took the element to the store and all the fuses, power supply, and thermostat are functioning properly. The breaker is getting 220 volts. I was wondering if the clock is bad because it won't shut off or move in either the auto setting or timed dry. Could this be the problem? IF so can someone send me info on how to fix it? I greatly appreciate any help.
I have read the other posts related to soap dispensers and this is what I can tell you: It is not related to the amount of dishes in the dishwasher.It is not related to the kind of detergent that is place.I believe the problem lies within the panel behind the door. I have replaced the fuse twice before, I am accustomed to tinkering inside the panel. Perhaps I bumped a wire loose. Before I open the panel up though, I want to learn what causes the door to open up automatically in the cycle. I am sure a censor /clock and a wire is involved but witch? Please help, saint. Chris
Hello, My Kenmore Front Loader fell on its front onto concrete Ohhhden