KitchenAid KEBI276DBL1 Timer Repair

What is the timer/clock part number for the KitchenAid KEBI276DBL1 Oven?

Timer part number 4448868 for KitchenAid KEBI276DBL1

The KEBI276DBL1 Oven uses timer part number 4448868.

Do you have a failed KitchenAid KEBI276DBL1 control panel? Click here:

Request Appliance Timer Service

We can repair or replace your faulty KitchenAid KEBI276DBL1 timer.

KEBI276DBL1 are also sometimes referred to using these Alternative Names/Model numbers

Whirlpool KEBI276DBL1 Oven

KEBI276DBL1 Schematic and Wiring Diagrams

Oven Parts diagram
KEBI276DBL1 Oven Oven Parts diagram
Control Parts diagram
KEBI276DBL1 Oven Control Parts diagram
Oven door Parts diagram
KEBI276DBL1 Oven Oven door Parts diagram
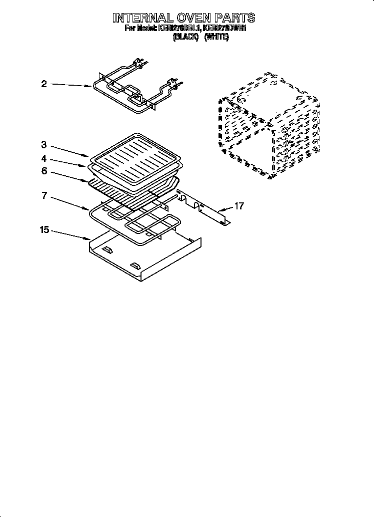
Internal oven Parts diagram
KEBI276DBL1 Oven Internal oven Parts diagram
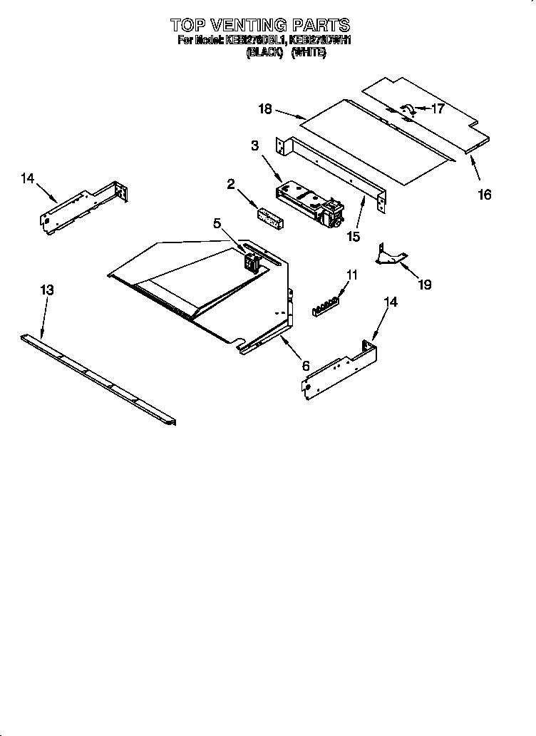
Top venting Parts diagram
KEBI276DBL1 Oven Top venting Parts diagram

Recent Service Requests

CityProblem DescriptionResolution
Decatur, GeorgiaDisplays are very dim, getting worse over time.Awaiting receipt of timer