General Electric Electric Oven JTP18 Timer Repair

What is the timer/clock part number for the General Electric JTP18 Electric Oven?

Timer part number WB27K5302 for General Electric JTP18

The JTP18 Electric Oven uses timer part number WB27K5302.

Do you have a failed General Electric JTP18 control panel? Click here:

Request Appliance Timer Service

We can repair or replace your faulty General Electric JTP18 timer.

JTP18 are also sometimes referred to using these Alternative Names/Model numbers

GE JTP18 Electric Oven, JTP18AA1AA, JTP18BW1BB, JTP18WA1WW, JTP18AT2AA, JTP18WA2WW, JTP18BA4BB, JTP18WA5WW, JTP18AT1AA, JTP18BA5BB, JTP18BA1BB, JTP18WW1WW, JTP18AA3AA, JTP18BD1BB, JTP18AV1AA, JTP18AA4AA, JTP18WA4WW, JTP18WA3WW, JTP18AA2AA, JTP18AA5AA, JTP18AW1AA, JTP18BA2BB, JTP18CD1CC, JTP18BA3BB, JTP18BXD1BB, JTP18SXD1SS, JTP18WXD1WW, JTP18AV2AA, JTP18SD1SS, JTP18WD1WW

JTP18 Schematic and Wiring Diagrams

Control panel Parts diagram
JTP18 Electric Oven Control panel Parts diagram
Body Parts diagram
JTP18 Electric Oven Body Parts diagram
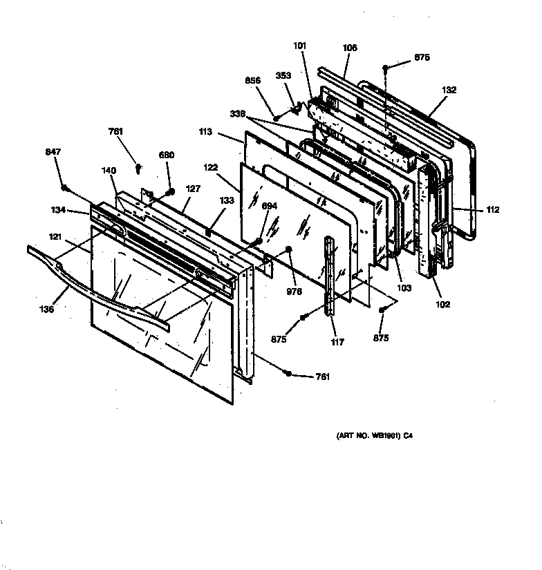
Oven door Parts diagram
JTP18 Electric Oven Oven door Parts diagram
Door lock Parts diagram
JTP18 Electric Oven Door lock Parts diagram
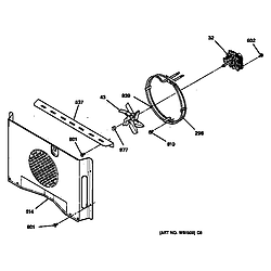
Fan Parts diagram
JTP18 Electric Oven Fan Parts diagram

Recent Service Requests

CityProblem DescriptionResolution
Newton, North CarolinaScreen is blank. Oven will not turn on. None of the controls will activate.
The failure occurred immediately following a self cleaning event.
Awaiting receipt of timer
Newton, North CarolinaDisplay will not light.
Display went out immediately following a self cleaning operation cycle.
Repaired
FOLSOM, Californiaset oven and then set temerature; after about 20 seconds field selected clears from screen; oven never turned on; have tried turning fuse off and then on after 30 secodns; doesn't correct problem; GE service guy was out and said needs new ERC and they don't have it.Beyond Repair
Mitcheville, MarylandNo power to door lock motorAwaiting receipt of timer
Burlington, North CarolinaThe oven comes on or off by itself and heats up, which is a dangerous condition when I am not home. If I should just buy a rebuilt one, just let me know.Timer inspected, no repairs necessary

Common problems for General Electric Electric Oven JTP18 Timer Repair

Are you encountering a similar problem as them? Contact us now and we will try to help you fix your JTP18 timer-related problem.
JTP18 oven come on fine and gets up to tempfor about 20minutes then it's like the power gets turned off. Wait maybe30 minutes and everything seems fine again. Is there a limit switch that perhaps is bad?
WE HAVE A GE ELECTRIC OVEN MODEL JTP18 PURCHASED IN 1997. THE PAST COUPLE YEARS WE HAVE EXPERIENCED A QUITE LOUD VIBRATION TYPE SOUND DURING THE LATTER PART OF THE BAKING PERIOD AND WELL INTO THE COOL DOWN TIME. MY WIFE USES THE CONVECTION MODE MOST OF THE TIME. THE NOISE ALMOST DROWNS OUT THE TV IN THE KITCHEN. I DID A VISUAL HANDS ON INSPECTION AND OF COURSE FOUND OUT NOTHING. THOUGH I DID PRETTY WELL FOR A FARMER. PLEASE HELP! JIM
I own a GE JTP18 Oven. The controls will no longer allow me to set the temperature on the oven. Never seen this before. When I activate the "Bake" control, it automatically goes to 350F, but again, won't let me reset the temperature. But some of the numeric pads allow me to move the temperature up incrementally. Any ideas? Any help would be appreciated.
I have a GE Oven model JTP18W0D1WW. It has had a F7 error on and off for a while now and we are considering repair or replacement. We have cleaned the contacts on the ribbon cable so many times it is no longer possible to do so. :( Is there another oven that will fit in the same cabinet without modification? I am told that just replacing the electronics/motherboard will result in the same problem as that issue was common with this model.
I have a JTP18 wall oven which is about 10 years old.We hardly ever use it except to use the clock feature, either using the microwave, toaster oven, or propane grill for most other type uses. Yesterday the panel showed the F7 error code. The F7 went off when I pushed the clear button. Today it came on again, I cleared it, then about thirty minutes later it came on again. I opened the circuit breaker and left it for about twenty minutes. When I closed the circuit breaker the clock came back on reading the time when I turned it off. Nothing else worked! Is there a permanent fix to this, or do I just replace the whole thing? Thanks
we completed a full self cleaning of our GE oven (model: jtp18) per the the instruction manual, when the process was complete the door would'nt open, when the door finally opened the "door locked" continued to flash , we pushed the clear button, but it is still flashing. we then shut the door and now it won't open at all. I went out to the circuit breaker box and flipped it off for ten minutes than turned it back on nothing has changed. what can we do to open the door and to get the doorlocked light from flashing. you can contact me XXXXX@XXXXXX.XXX or XXX-XXX-XXXX
jtp18 dble conv wall oven,top conv oven takes over an hr to come to 375 deg,bottom oven is fine oven is 5 yrs old
I have a Ge Model JTP18 oven that won't work. It keeps flashing locked and door. No SF code. I have turned off power to the oven and it still does the same. You can input time but no other function works except the flashing. Any suggestions?
Error code FO
I installed a new control panel/ clock 2 days ago. I thought all was fine when running it through the steps suggested in the install instructions. Bake, broil, timed bake, light, etc. all seemed to work great. Last evening after my wife used the oven, I asked her to let it self clean itself, because that was the only feature I hadn't tried. To my surprise this morning when I awoke, the oven was flashing locked on the display and the latch motor was cycling back and forth. I've tried tripping the breaker to the oven, and even unhooking the new door latch (which came with the control panel), completely. Still showing locked. I can open the oven door, but the keypad is not responsive, as long as the "locked" light is blinking. So, again, I can't bake or broil anything....
ge profile jtp18 wall oven. in the middle of replacing the electronic clock control. wiring slightly different than original. i have installed and control appears to work. however, the oven elements do not heat at all
Door Keeps Locking and Unlocking after Power Outage About one hour into a cleaning cycle of my JTP18, the power went out for about six hours. When the power came back on, I reset the clock, but noticed that the display was flashing LOCKED DOOR, and I could hear the motorized door latch continually locking and unlocking the door. Pressing CLEAR has no effect. If I press the SELF CLEAN button, then START, it looks like a clean cycle is starting, but it really isn't. The door keeps on locking and unlocking, endlessly. Pressing any button for a normal oven function makes the display show the word "door".
My GE Oven heating element and clock clock went My GE Oven heating element and clock clock went out went out during a power surge. Now the oven won't heat up and the clock lights are on but won't program time. The range top still works.Is there a reset button to restore power to oven and clock clock?
My GE oven wont stop beeping it has an FO on the screen. All the buttons will not press. I just bought the house and have no idea if its done this before. Please help!!!! Chelsea