General Electric Electric Wall Oven JTP11WS3WG Timer Repair

What is the timer/clock part number for the General Electric JTP11WS3WG Electric Wall Oven?

Timer part number WB27X5482 for General Electric JTP11WS3WG

The JTP11WS3WG Electric Wall Oven uses timer part number WB27X5482.

Do you have a failed General Electric JTP11WS3WG control panel? Click here:

Request Appliance Timer Service

We can repair or replace your faulty General Electric JTP11WS3WG timer.

JTP11WS3WG are also sometimes referred to using these Alternative Names/Model numbers

GE JTP11WS3WG Electric Wall Oven

JTP11WS3WG Schematic and Wiring Diagrams

Control panel Parts diagram
JTP11WS3WG Electric Wall Oven Control panel Parts diagram
Lock Parts diagram
JTP11WS3WG Electric Wall Oven Lock Parts diagram
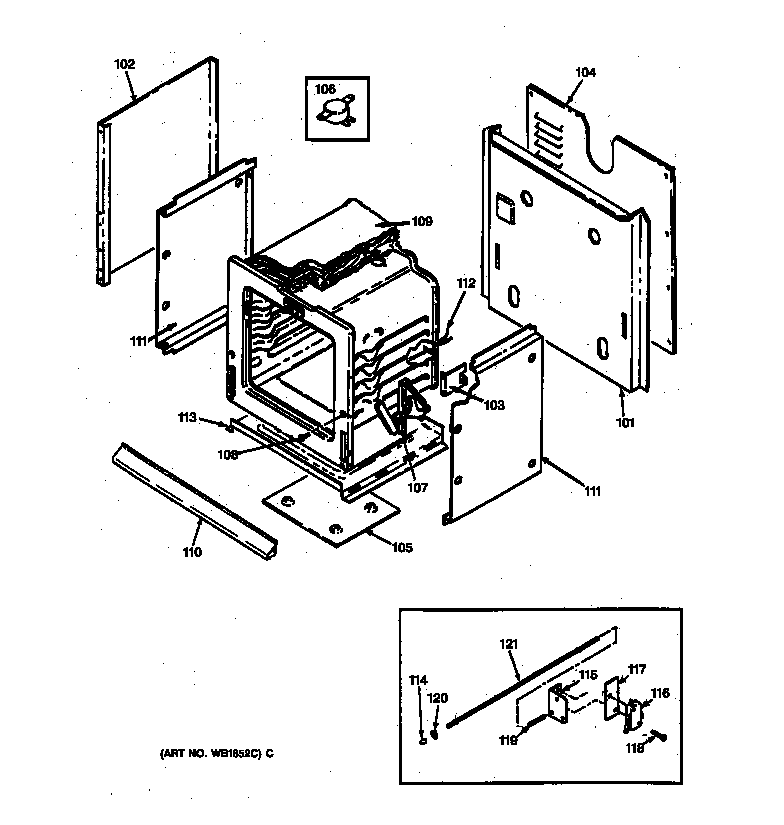
Case Parts diagram
JTP11WS3WG Electric Wall Oven Case Parts diagram
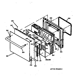
Oven door Parts diagram
JTP11WS3WG Electric Wall Oven Oven door Parts diagram
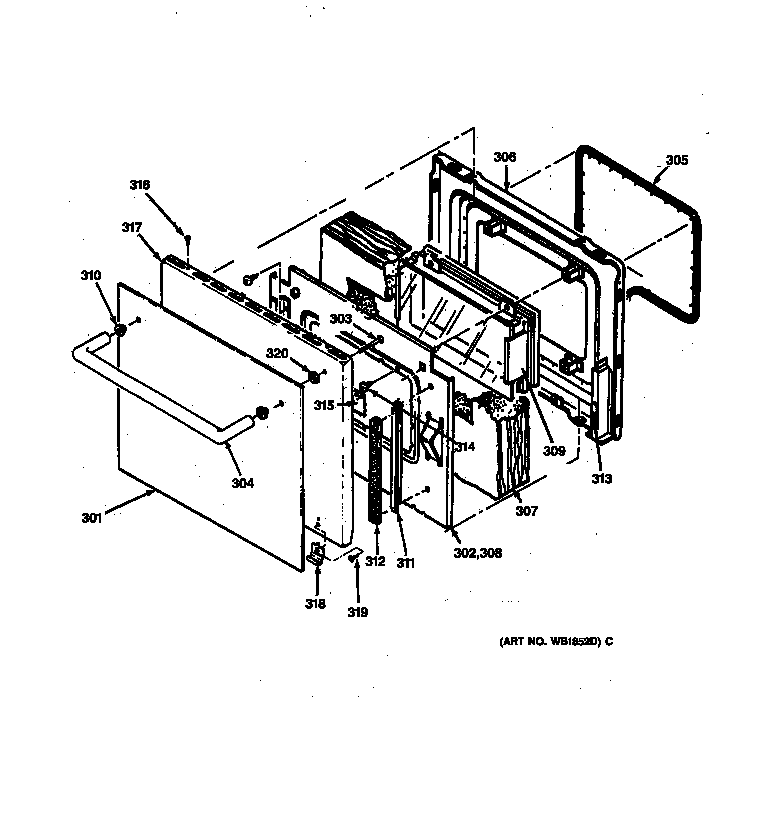
Body Parts diagram
JTP11WS3WG Electric Wall Oven Body Parts diagram

Recent Service Requests

CityProblem DescriptionResolution
Sylvania, OhioOven will only get up to 200 F.Repaired
Manhattan Beach, CaliforniaOven does not reach operating temperature. If set to 350 f, oven temp is only 250f or lower. Talked to Howard on March 29.Repaired
MIAMI, FloridaKEEPS THROWING A F-1 CODERepaired
West Chester, PennsylvaniaWhen shutting off oven, press clear/off makes timer alarm and fault code appear. Can not be cancelled without turning off appliance power at breaker. If problem can not be corrected, I would like to purchase a repaired/remanufactured timer.Awaiting receipt of timer
Beaverton, OregonF1 code and beeper always on,except when oven is baking or broiling. I've pressed all the keys and F1 code won't clear, except in bake & Broil mode.

I understand that I will be sending you my old ERC when yours is on the oven and working.
Awaiting receipt of timer