General Electric Electric Wall Oven JTP11WS2WG Timer Repair

What is the timer/clock part number for the General Electric JTP11WS2WG Electric Wall Oven?

Timer part number 255362 for General Electric JTP11WS2WG

The JTP11WS2WG Electric Wall Oven uses timer part number 255362.

Do you have a failed General Electric JTP11WS2WG control panel? Click here:

Request Appliance Timer Service

We can repair or replace your faulty General Electric JTP11WS2WG timer.

JTP11WS2WG are also sometimes referred to using these Alternative Names/Model numbers

GE JTP11WS2WG Electric Wall Oven

JTP11WS2WG Schematic and Wiring Diagrams

Control panel Parts diagram
JTP11WS2WG Electric Wall Oven Control panel Parts diagram
Lock Parts diagram
JTP11WS2WG Electric Wall Oven Lock Parts diagram
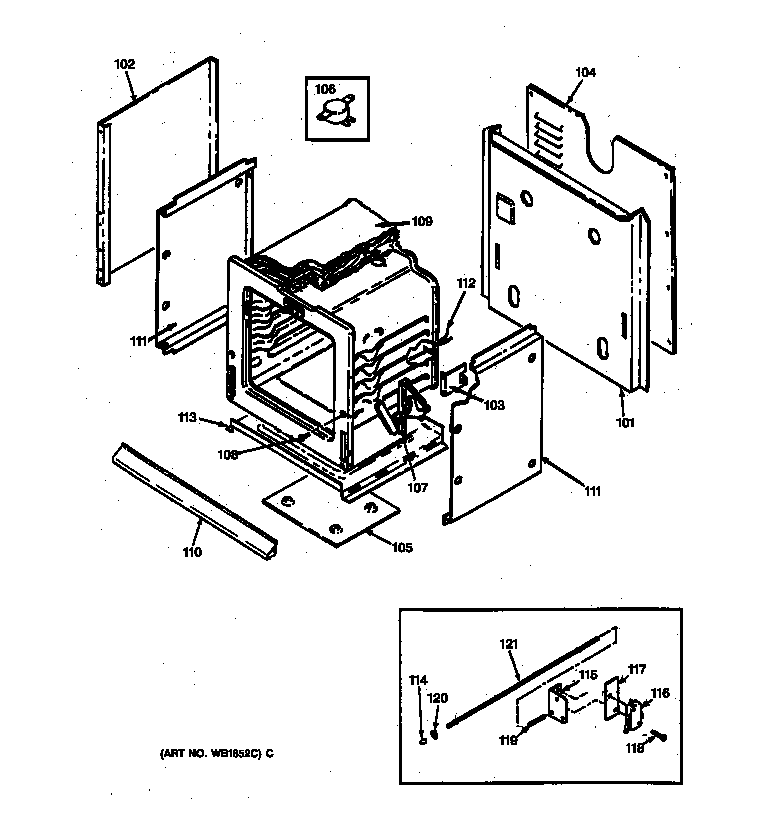
Case Parts diagram
JTP11WS2WG Electric Wall Oven Case Parts diagram
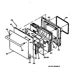
Oven door Parts diagram
JTP11WS2WG Electric Wall Oven Oven door Parts diagram
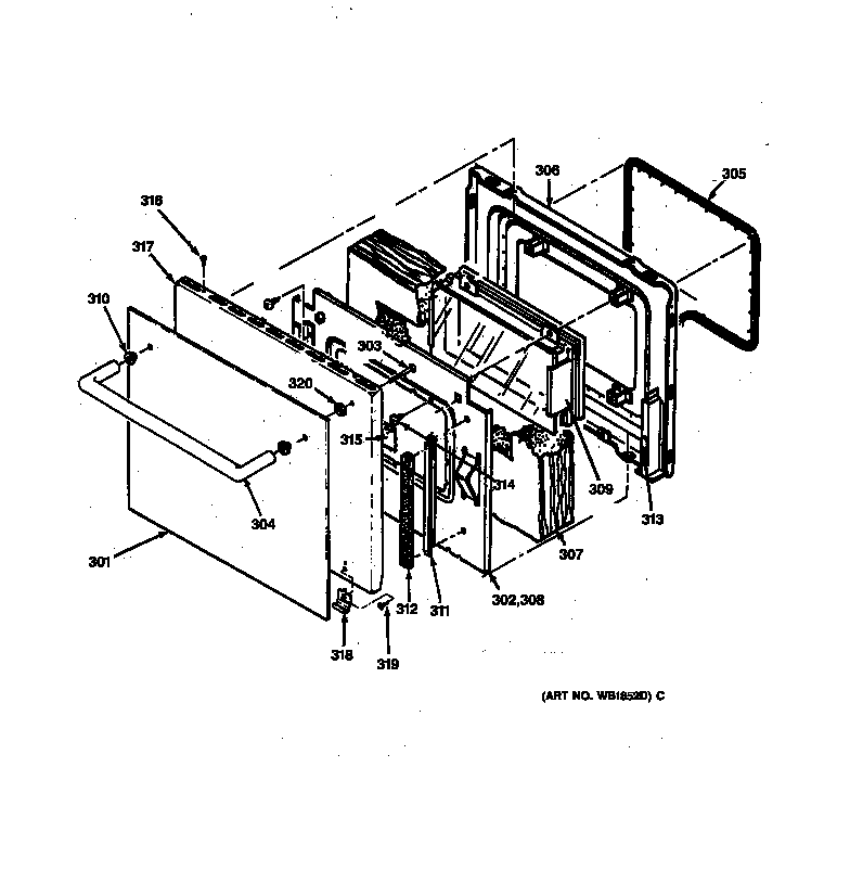
Body Parts diagram
JTP11WS2WG Electric Wall Oven Body Parts diagram

Recent Service Requests

CityProblem DescriptionResolution
Hoover, AlabamaF1 Fault CodeAwaiting receipt of timer
BELL, FloridaOVEN DOESN'T HEAT TO THE RIGHT TEMPERATURE. I REPLACED THE TEMPERATURE PROBE, AND THAT DIDN'T FIX THE PROBLEM. AN ERROR CODE F1 CAME UP. AFTER CONTINUOUSLY PRESSING THE OFF BUTTON THE OVEN FINALLY STOPPED BEEPING AND CODE WENT AWAY. DOES NOT GO THROUGH A PRE-HEAT CYCLE, IF YOU SET A TEMPERATURE, IT READS THAT TEMPERATURE AND AUTOMATICALLY BEEPS AS IF IT IS READY. A THERMOMETER PLACED INSIDE OVEN ONLY READ APPROXIMATELY 125 DEGREES. A FEW WEEKS AGO WHEN THE OVEN WAS SET AT 350 DEGREES THE TEMPERATURE INSIDE WAS ABOUT 300-325 DEGREES. SEEMS LIKE IT WAS FAILING EVEN MORE. IF YOU THINK THIS IS A FIXABLE PROBLEM, I AM WILLING TO TRY IT VERSES BUYING A NEW OVEN. PLEASE LET ME KNOW, IF YOU DO NOT HAVE A REFURBISHED REPLACEMENT ON HAND. THANKSBeyond Repair