General Electric Electric Wall Oven JTP10GS2BG Timer Repair

What is the timer/clock part number for the General Electric JTP10GS2BG Electric Wall Oven?

Timer part number ERC-14500-MC for General Electric JTP10GS2BG

The JTP10GS2BG Electric Wall Oven uses timer part number ERC-14500-MC.

Do you have a failed General Electric JTP10GS2BG control panel? Click here:

Request Appliance Timer Service

We can repair or replace your faulty General Electric JTP10GS2BG timer.

JTP10GS2BG are also sometimes referred to using these Alternative Names/Model numbers

GE JTP10GS2BG Electric Wall Oven

JTP10GS2BG Schematic and Wiring Diagrams

Control panel Parts diagram
JTP10GS2BG Electric Wall Oven Control panel Parts diagram
Lock Parts diagram
JTP10GS2BG Electric Wall Oven Lock Parts diagram
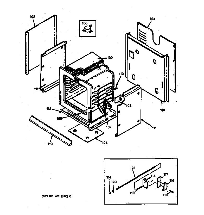
Case Parts diagram
JTP10GS2BG Electric Wall Oven Case Parts diagram
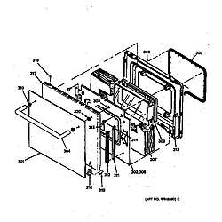
Oven door Parts diagram
JTP10GS2BG Electric Wall Oven Oven door Parts diagram
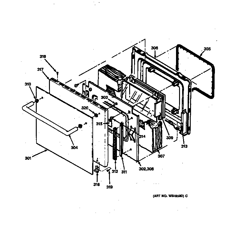
Body Parts diagram
JTP10GS2BG Electric Wall Oven Body Parts diagram

Recent Service Requests

CityProblem DescriptionResolution
Granbury, TexasThe oven will not heat over 230F. It appears that Potter Brumfield relay T90H1D12-24-18 will not close. The timer may need repair, or the relay may need to be refurbished.Repaired
Greenland, ArkansasOven only heats up to about 200 degrees while steadily climbing to set temp (400) on the display. Some problems with BAKE button, requiring you to push it several (random number) of times to get it to start.Repaired
Berwyn, PennsylvaniaWill start then fan will stop so have to push bake button again. Will stop again, then have to push the bake button again.
Sometimes the F1 F2 or F3 button comes on.
Have to push the Bake button until the oven and fan comes on again.
Repaired
Oakdale,, CaliforniaBig clock does not get up to temperature, but states that it is up to temperature which was selected.Repaired
Winchester Center, ConnecticutF1 error and beeping continuous. Power cycling ineffective at resetting.
No oven functions work
Tested keypad. OK
Disconnected keypad, returned power to oven, still F1 and beeping
Beyond Repair

Common problems for General Electric Electric Wall Oven JTP10GS2BG Timer Repair

Are you encountering a similar problem as them? Contact us now and we will try to help you fix your JTP10GS2BG timer-related problem.
(I entered this question last night, but saw no response. Am trying again:) Hello In the Winter of 2005 when I moved into this house, I inherited a GE Electric oven, model ? JTP10GS3BG - I do not know how old it is and I do not have any of the paperwork from the original owners. It has served us well, although recently it has been somewhat lukewarm in its enthusiasm for temperatures above 225º F. Regardless of whether it is set to Bake at 275º or 400º. In addition somewhere between the temperature input device in the Control Panel and the heat sensor in the Oven it suffers from some form of premature termination - signaled by its exclamatory, "Bing" although I could not tell you what it thinks is happening since the oven never reaches any of the temperatures to which it has been set. Lastly, when I turned on and set the Broiler to "Broil - High", the top element glowed bright red while the bottom one would not melt butter. I am looking
i am trying to replace the oven hinges on my ge oven model #JTP10GS3BG. The part numbers for the hinges are WB10X5209. I have removed the door but the hinges are behind the frame panel of the oven. What am I doing wrong to gain access to the hinges. I have partially pulled the oven out of the cabinet but am reluctant to proceed any further without guidance. Please help! Dave Z