General Electric Electric Wall Oven JTP10GP Timer Repair

What is the timer/clock part number for the General Electric JTP10GP Electric Wall Oven?

Timer part number WB27X5482 for General Electric JTP10GP

The JTP10GP Electric Wall Oven uses timer part number WB27X5482.

Do you have a failed General Electric JTP10GP control panel? Click here:

Request Appliance Timer Service

We can repair or replace your faulty General Electric JTP10GP timer.

JTP10GP are also sometimes referred to using these Alternative Names/Model numbers

GE JTP10GP Electric Wall Oven

JTP10GP Schematic and Wiring Diagrams

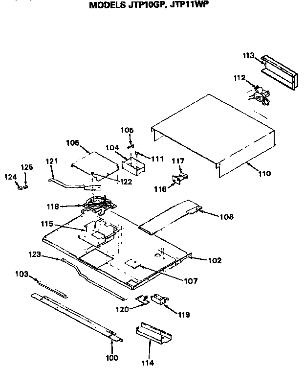
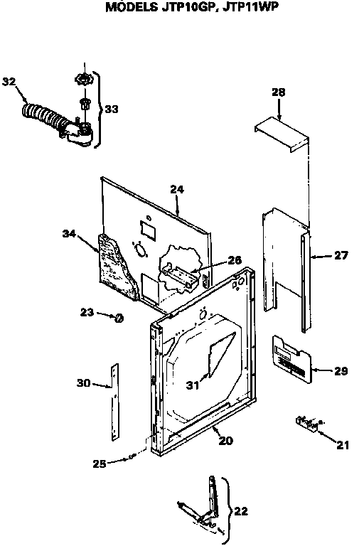
Case Parts diagram
JTP10GP Electric Wall Oven Case Parts diagram
Lock Parts diagram
JTP10GP Electric Wall Oven Lock Parts diagram
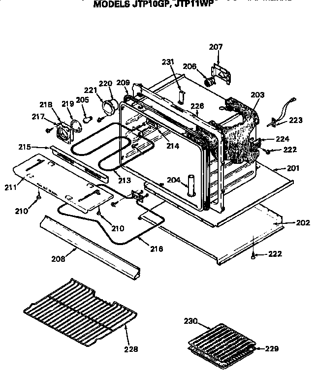
Oven Parts diagram
JTP10GP Electric Wall Oven Oven Parts diagram
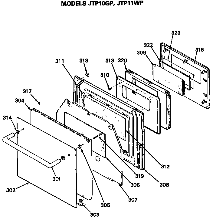
Door Parts diagram
JTP10GP Electric Wall Oven Door Parts diagram
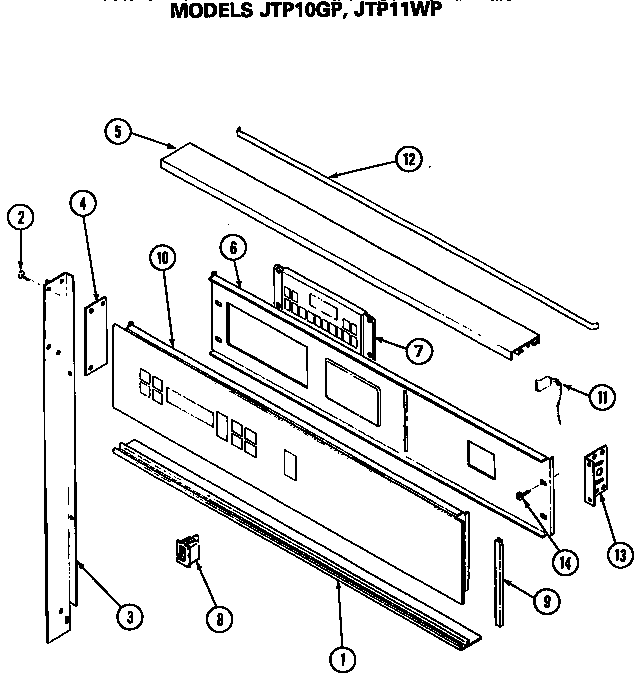
Control Parts diagram
JTP10GP Electric Wall Oven Control Parts diagram

Recent Service Requests

CityProblem DescriptionResolution
Goshen, KentuckyAfter hitting bake the unit attempts to warm up then F3 error code comes on- the unit is warming as the element is on.Awaiting receipt of timer
centennial, ColoradoOven turns on but will not maintain set temperature. oven display says it has reached the set temperature, but in fact temp is well below that.Repaired
Lancaster, Pennsylvaniabeyond repair.Awaiting receipt of timer
Westbury, New YorkThe Thermostat does not properly work. when set as high as 500 degrees the oven temperature is only 300 degreesAwaiting receipt of timer
San Luis Obispo, CaliforniaWill not stay on. Goes off in less than a minute. No error messageRepaired
Broken Arrow, OklahomaNo error codes. Only gets to about 200 degrees when baking. Self cleaning seemed to work OK. Oven sensor measures 1120 Ohms at room temperature. Talked with Howard on the phone and he felt sure it was the ERC that needed to be repaired. Bad timing my wife just sent in her State Fair Baking contest money. She wants a new oven. I can't afford that so I hope you folks can get me out of the dog house and back in the big house fast.

Thanks!
Repaired
Seattle, WashingtonThe control beeps that the oven is "at temperature", but the oven is actually still 125 to 150 degrees F below the setting. Maximum temperature is about 375 F when the control is set for 525 F. If I set the control for 530 F, the temperature appears to run wild. I tried replacing the sensor, but that checked out okay with a resistance of about 1100 ohm.Repaired
Seattle, WashingtonInquiry (part not sent yet). Oven will not come up to temperature. Control beeps saying it is at temp, but actual temp is about 125 to 150 degrees less. What is estimated cost to repair the unit? Do you have reconditioned units in stock for purchase?Repaired
lake forest, Illinoisno error codes displayed. oven does NOT come up to temperature. maximum temp is about 250 when set at 525. broil still worksRepaired

Common problems for General Electric Electric Wall Oven JTP10GP Timer Repair

Are you encountering a similar problem as them? Contact us now and we will try to help you fix your JTP10GP timer-related problem.
my oven shuts off after turning it on makes a clicking noise then shuts off if u mess with it turning it on about 10times it willstay on ge modl jpt 10gp2bg
I have a 14 year old GE wall oven model #JTP10GP and am getting an F2 error code. I have turned off power overnight and still get the F2 error code.
looking for the specs of the GE 30inch electric oven model JTP10GP. need to replace it, but need to know the exact specs in order to put another over in the same space.
I have a GE JTP10GP electric oven. I set the temp controls for either bake or broil, but before the oven can start heating up, the bake or broil display blanks and the oven does not heat up. All other display items seem to work.
My GE oven model either JTP10GP or JTP11W continues to display the F-2 function error code. Pressing the CLEAR pad only stops the "beeping" for a few seconds and then the error display comes on again. If I push the oven LOCK lever to the locked position, the error display stays off for about 24 hours and then resumes. What does this error code mean and what parts are needed to fix the problem?
I have a GE electric wall oven JTP10GP. When I set the controls to bake 350 it starts pre-heating at 315 and in less than a min it reaches 350. I put an oven thermometer in and it's not even on the scale and I can feel the oven is just slightly warm. I tested the oven sensor (ohms) and it was fine. I replaced it anyway but still have the same problem. Playing around with the settings I found I can get it to 350 by setting the controls to 530. It's not a consistent 350 though. Just for fun I did a self clean cycle and it worked fine but of course that didn't solve the problem.I did all the tests in the technicians use only document I found inside the key pad and every thing was fine.It dosen't display any failure codes. Help me! Lee