General Electric Electric Slide In Range JSP38GP Timer Repair

What is the timer/clock part number for the General Electric JSP38GP Electric Slide In Range?

Timer part number WB27K5068 for General Electric JSP38GP

The JSP38GP Electric Slide In Range uses timer part number WB27K5068.

Do you have a failed General Electric JSP38GP control panel? Click here:

Request Appliance Timer Service

We can repair or replace your faulty General Electric JSP38GP timer.

JSP38GP are also sometimes referred to using these Alternative Names/Model numbers

GE JSP38GP Electric Slide In Range, JSP38GP1

JSP38GP Schematic and Wiring Diagrams

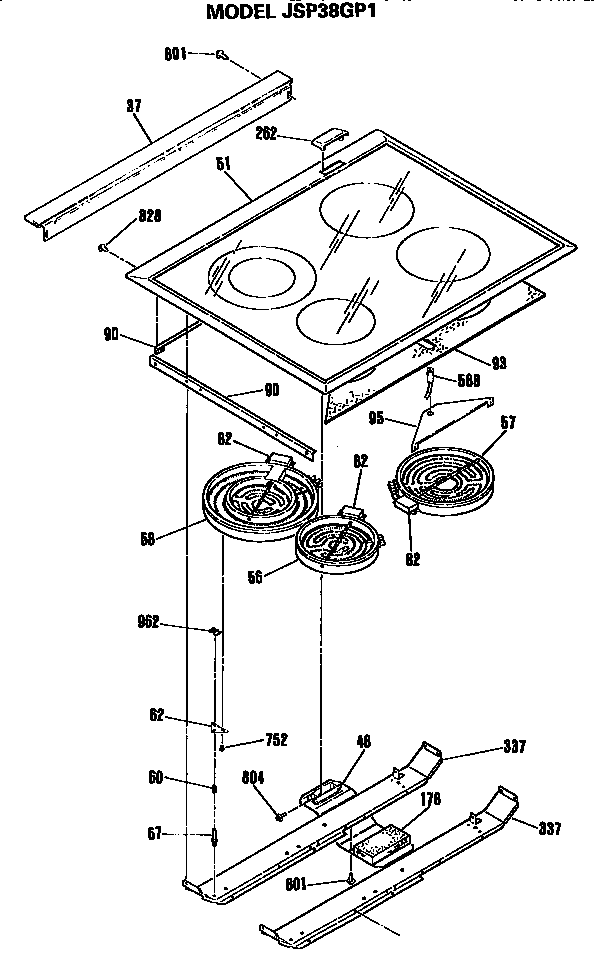
Top Parts diagram
JSP38GP Electric Slide In Range Top Parts diagram
Oven Parts diagram
JSP38GP Electric Slide In Range Oven Parts diagram
Door Parts diagram
JSP38GP Electric Slide In Range Door Parts diagram
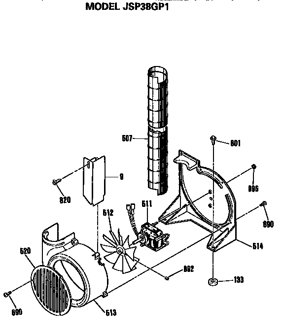
Exhaust Parts diagram
JSP38GP Electric Slide In Range Exhaust Parts diagram
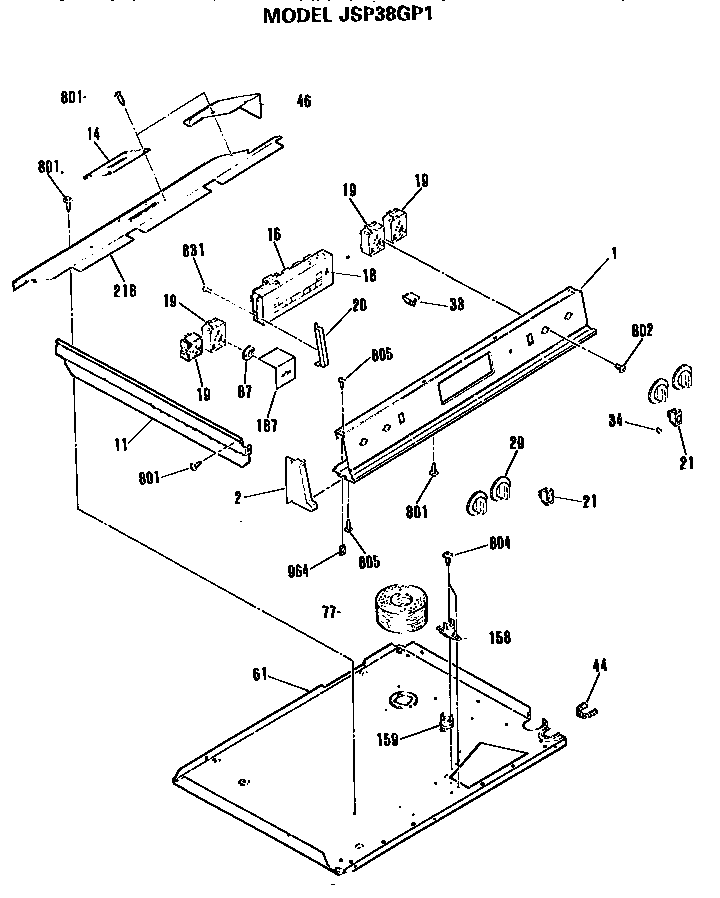
Control Parts diagram
JSP38GP Electric Slide In Range Control Parts diagram

Recent Service Requests

CityProblem DescriptionResolution
Rock HIll, South CarolinaOven will not heat.Repaired
Jacksonville Beach, FloridaOven / broiler will not stay on.Timer inspected, no repairs necessary
Jacksonville Beach, FloridaOven bake/broil will not stay on.Timer inspected, no repairs necessary

Common problems for General Electric Electric Slide In Range JSP38GP Timer Repair

Are you encountering a similar problem as them? Contact us now and we will try to help you fix your JSP38GP timer-related problem.
I have a GE rang J2P40A051AG Model . My oven will only reach a temperature of 240 and automatically shuts off. I have pulled the baking element and reinserted, but the temp will not rise.