General Electric Range JSP28GP Timer Repair

What is the timer/clock part number for the General Electric JSP28GP Range?

Timer part number WB27K5073 for General Electric JSP28GP

The JSP28GP Range uses timer part number WB27K5073.

Do you have a failed General Electric JSP28GP control panel? Click here:

Request Appliance Timer Service

We can repair or replace your faulty General Electric JSP28GP timer.

JSP28GP are also sometimes referred to using these Alternative Names/Model numbers

GE JSP28GP Range, JSP28GP4BG, JSP28GP2BG, JSP28GP3BG, JSP28GP1

JSP28GP Schematic and Wiring Diagrams

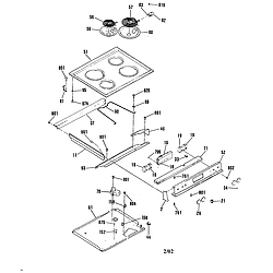
Maintop Parts diagram
JSP28GP Range Maintop Parts diagram
Oven body/insulation top and sides Parts diagram
JSP28GP Range Oven body/insulation top and sides Parts diagram
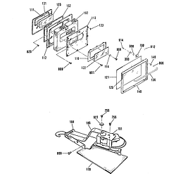
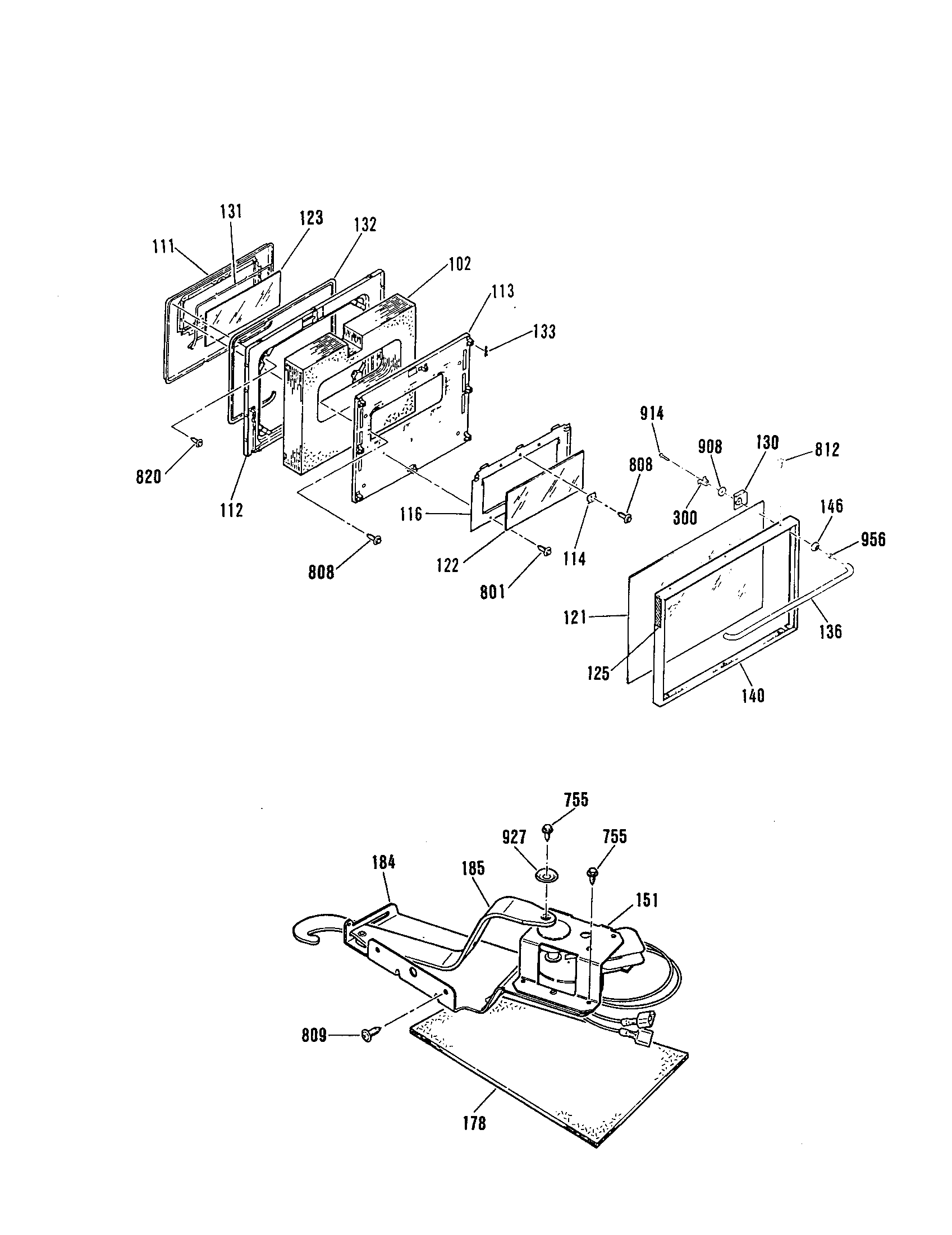
Door/latch Parts diagram
JSP28GP Range Door/latch Parts diagram
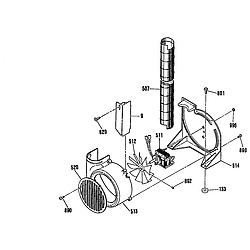
Fan/blower housing Parts diagram
JSP28GP Range Fan/blower housing Parts diagram

Recent Service Requests

CityProblem DescriptionResolution
Mount Vernon, IowaControl shuts down oven sporadically.Repaired
Quincy, Illinoiswon't keep temperature, already replaced thermostat and oven coil.Awaiting receipt of timer
Coral Gables, FloridaF-1 Error Signal and Warning "beep"Repaired
Marion, ArkansasF1 error messageReplaced with reconditioned timer
Wyandotte, MichiganOven temperature on digital display rises very quickly but actual oven temp
is much lower and never heats up completely. Oven sensor was replaced but
did not solve the problem.
Repaired
Boston, MassachusettsBeeping soundReplaced with reconditioned timer
Boston, MassachusettsBeeping soundReplaced with reconditioned timer

Common problems for General Electric Range JSP28GP Timer Repair

Are you encountering a similar problem as them? Contact us now and we will try to help you fix your JSP28GP timer-related problem.
We have a older (20 year) GE range model JSP28GP. The over is not working on either bake or broil. All the rest of the oven controls work. the failure happened within the last week. Is this an easy fix, hopefully