General Electric Electric Range JSP26GP4AD Timer Repair

What is the timer/clock part number for the General Electric JSP26GP4AD Electric Range?

Timer part number WB27K5107 for General Electric JSP26GP4AD

The JSP26GP4AD Electric Range uses timer part number WB27K5107.

Do you have a failed General Electric JSP26GP4AD control panel? Click here:

Request Appliance Timer Service

We can repair or replace your faulty General Electric JSP26GP4AD timer.

JSP26GP4AD are also sometimes referred to using these Alternative Names/Model numbers

GE JSP26GP4AD Electric Range

JSP26GP4AD Schematic and Wiring Diagrams

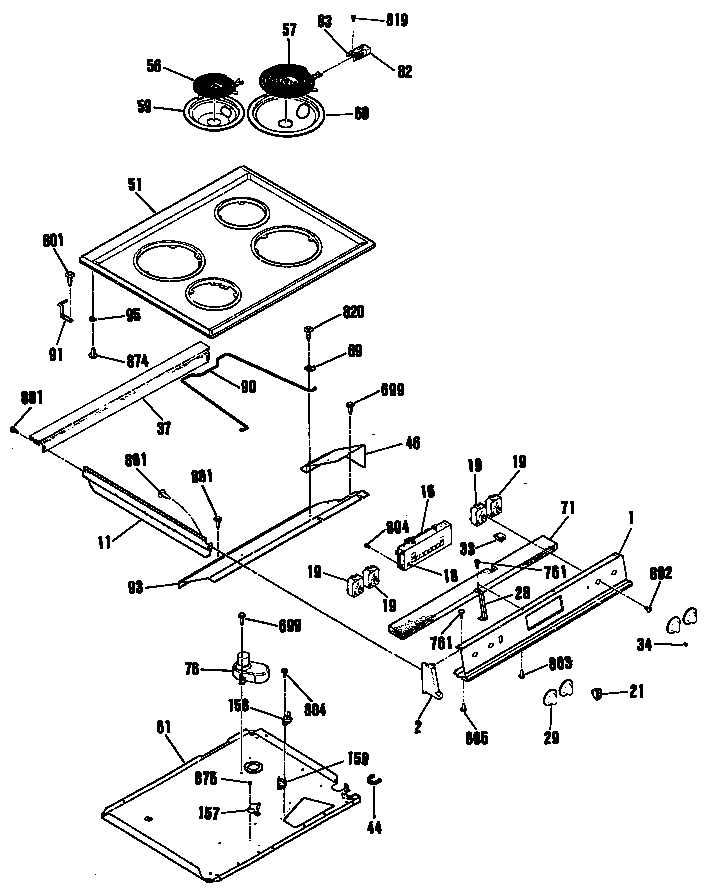
Cooktop Parts diagram
JSP26GP4AD Electric Range Cooktop Parts diagram
Oven Parts diagram
JSP26GP4AD Electric Range Oven Parts diagram
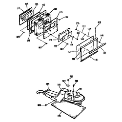
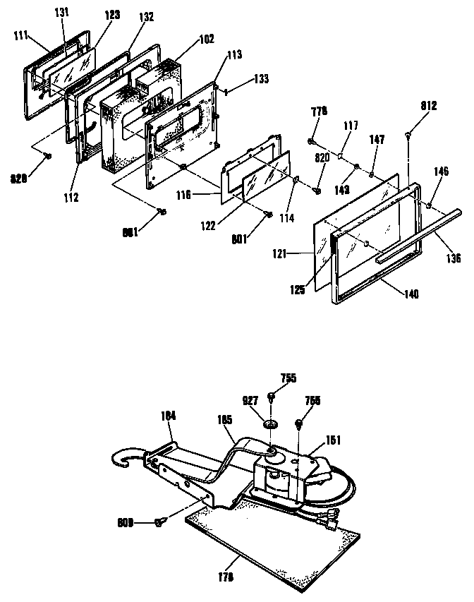
Door Parts diagram
JSP26GP4AD Electric Range Door Parts diagram
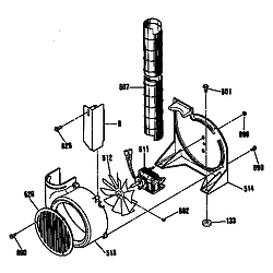
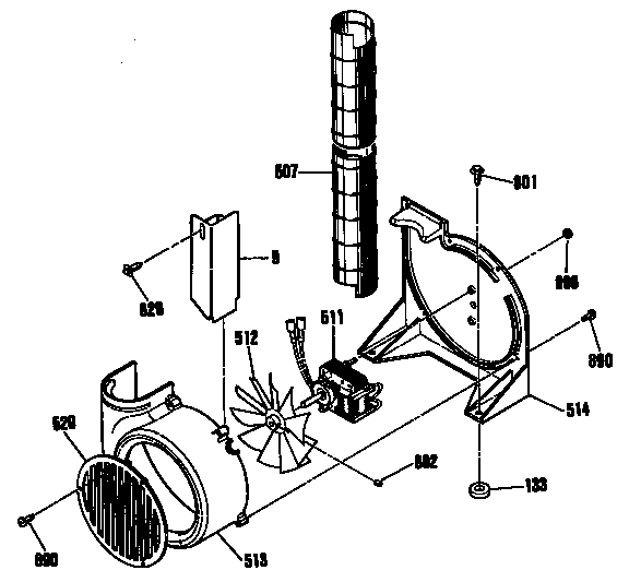
Fan Parts diagram
JSP26GP4AD Electric Range Fan Parts diagram

Recent Service Requests

CityProblem DescriptionResolution
Marietta, GeorgiaIt was displaying the F1 error code after the timer ended its countdown, but now the oven will not turn on.Awaiting receipt of timer
Indian Harbour Beach, FloridaPresent problem: When CLEAN, BROIL or BAKE is selected, timer will not go to these modes; other modes work.
First problem: Selecting CLEAR/OFF would not turn oven off; required to cycle OVEN circuit breaker in house panel-board to turn off oven. This problem lasted several days, then range returned to normal operation for several days, followed by present problem.
Repaired
Indian Harbour Beach, FloridaPRESENT PROBLEM: When CLEAN, BROIL or BAKE is selected, timer will not go to these modes; other modes work.
FIRST PROBLEM: Selecting CLEAR/OFF would not turn oven off; required to cycle oven circuit breaker in house panel-board to turn oven off. This 1st problem lasted several days, then range returned to normal operation for several days, followed by present problem.
Repaired

Common problems for General Electric Electric Range JSP26GP4AD Timer Repair

Are you encountering a similar problem as them? Contact us now and we will try to help you fix your JSP26GP4AD timer-related problem.
Hi, i own a ge profile model number js998sk1ss, suddenly the display board went off with no clock, no mumbers to click, no beep, anythig. i can steel use the cooktop, is the oven that is not working. There are so many boards inside of the unit that i dont know where to start. Could it be the touch panel? or some of the boards? maybe a fuse(that would be the easy and cheap way...) i will apreciate your help in this matter, Luis
Help!! Our refrigerator is not keeping anything cold! The freezer is working fine. This seemed to happen right after a storm cut the power to our house. When everything fired back up, the refrigerator is not cooling at all.... I really like my refrigerator and hope that someone can assist with ideas on how to easily fix this. LaDonna