General Electric Electric Wall Oven JRP15WP3WG Timer Repair

What is the timer/clock part number for the General Electric JRP15WP3WG Electric Wall Oven?

Timer part number WB27K5140 for General Electric JRP15WP3WG

The JRP15WP3WG Electric Wall Oven uses timer part number WB27K5140.

Do you have a failed General Electric JRP15WP3WG control panel? Click here:

Request Appliance Timer Service

We can repair or replace your faulty General Electric JRP15WP3WG timer.

JRP15WP3WG are also sometimes referred to using these Alternative Names/Model numbers

GE JRP15WP3WG Electric Wall Oven

JRP15WP3WG Schematic and Wiring Diagrams

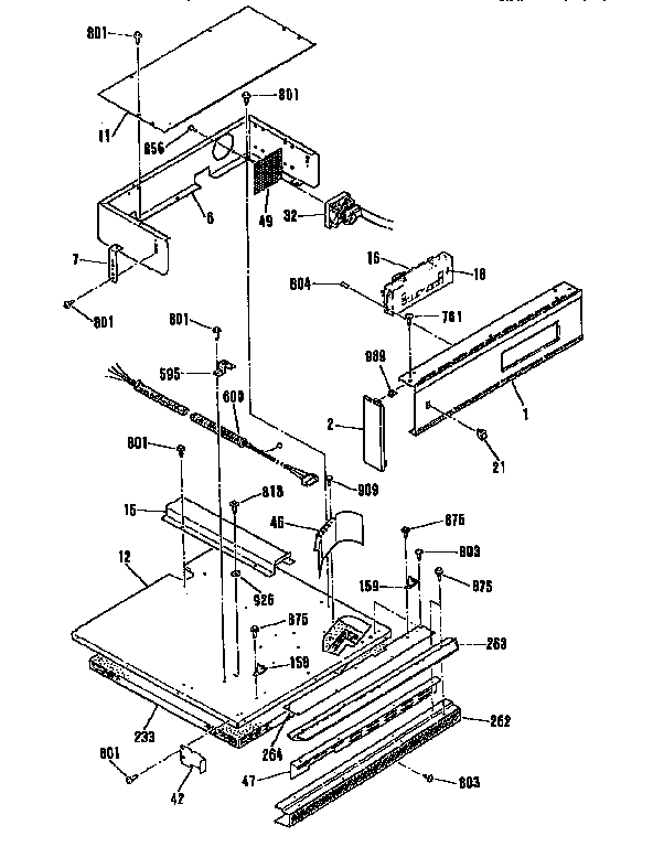
Controls and top Parts diagram
JRP15WP3WG Electric Wall Oven Controls and top Parts diagram
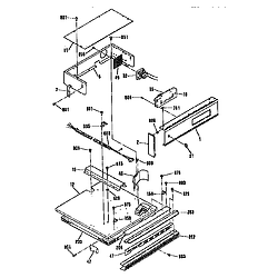
Main body Parts diagram
JRP15WP3WG Electric Wall Oven Main body Parts diagram
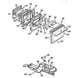
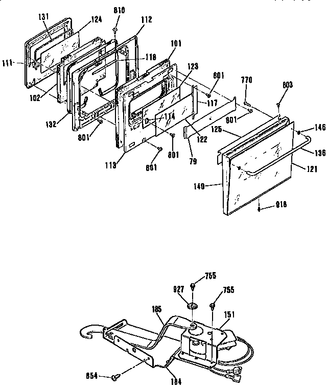
Door and lock Parts diagram
JRP15WP3WG Electric Wall Oven Door and lock Parts diagram

Common problems for General Electric Electric Wall Oven JRP15WP3WG Timer Repair

Are you encountering a similar problem as them? Contact us now and we will try to help you fix your JRP15WP3WG timer-related problem.
I am trying to help my brother with his wall oven. I am not 100% sure exactly what happened. He and his wife have a child on the way, and the wall oven was installed in their house when they moved in. The wiring on it was not good. There were wires coming from the conduit from the oven that had wire nuts going out to some romex for the house wiring just kind of laying all around under the cabinet. He thought he would fix the safety hazard, and put them in a junction box. The problem was that the wires were extended from the oven and not the right colors, can't say I blame him since there was no sign that they weren't the actual wires coming from the oven. He didn't inspect it until he had it all hooked back up and flipped the breaker for it, and then the breaker popped back out almost immediately. He inspected it and found out the true colors of the wires and he had wired the ground to the red wire, and red to the ground. Now that he has it wired correctly, it will not turn on at all.