General Electric Electric Range JMP31WR1 Timer Repair

What is the timer/clock part number for the General Electric JMP31WR1 Electric Range?

Timer part number WB27K5073 for General Electric JMP31WR1

The JMP31WR1 Electric Range uses timer part number WB27K5073.

Do you have a failed General Electric JMP31WR1 control panel? Click here:

Request Appliance Timer Service

We can repair or replace your faulty General Electric JMP31WR1 timer.

JMP31WR1 are also sometimes referred to using these Alternative Names/Model numbers

GE JMP31WR1 Electric Range, JMP31WR1WH

JMP31WR1 Schematic and Wiring Diagrams

Cooktop elements Parts diagram
JMP31WR1 Electric Range Cooktop elements Parts diagram
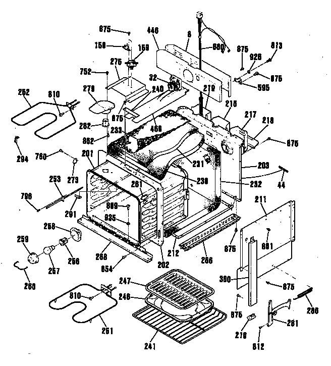
Cabintet Parts diagram
JMP31WR1 Electric Range Cabintet Parts diagram
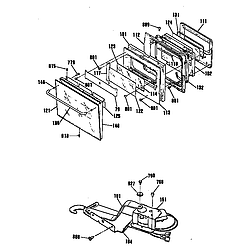
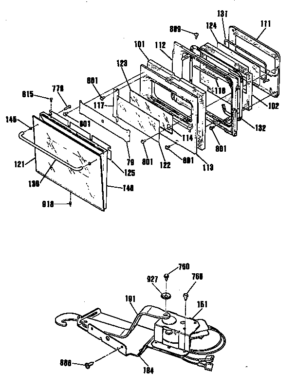
Oven door Parts diagram
JMP31WR1 Electric Range Oven door Parts diagram

Recent Service Requests

CityProblem DescriptionResolution
SAYVILLE, New YorkK2 relay (Bake) not working, remains open circuit in bake mode

Failed relay contacts operation test
Relay K2-Bake
Terminals BA to DBL
Voltage 240 VAC
Mode Bake
Repaired
Deerfield Beach, FloridaTalked with Howard and explained I have stove but no core.
He said will hold for me next core coming in for repair.
Thanks! Richard C. Epperly
Replaced with reconditioned timer