General Electric Electric Wall Oven JKP27WP Timer Repair

What is the timer/clock part number for the General Electric JKP27WP Electric Wall Oven?

Timer part number WB27K5190 for General Electric JKP27WP

The JKP27WP Electric Wall Oven uses timer part number WB27K5190.

Do you have a failed General Electric JKP27WP control panel? Click here:

Request Appliance Timer Service

We can repair or replace your faulty General Electric JKP27WP timer.

JKP27WP are also sometimes referred to using these Alternative Names/Model numbers

GE JKP27WP Electric Wall Oven, JKP27WP2WG, JKP27WP1, JKP27WP3WG

JKP27WP Schematic and Wiring Diagrams

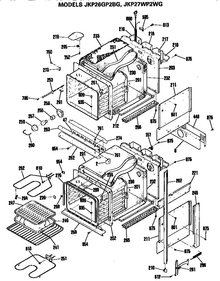
Ovens Parts diagram
JKP27WP Electric Wall Oven Ovens Parts diagram
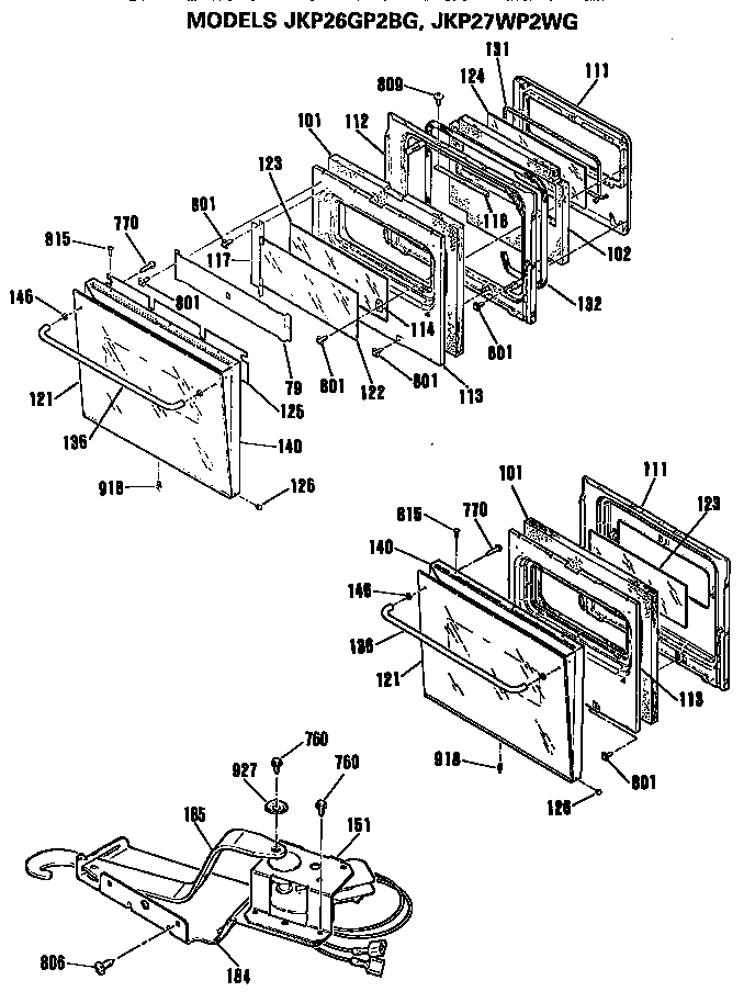
Doors Parts diagram
JKP27WP Electric Wall Oven Doors Parts diagram
Control Parts diagram
JKP27WP Electric Wall Oven Control Parts diagram

Recent Service Requests

CityProblem DescriptionResolution
MJeffersoOUNT vERNON, Illinoisclock,timer &top ovan won"t workRepaired
San Rafael, CaliforniaTimer accelerates uncontrollablyAwaiting receipt of timer
Austin, TexasNo Problem Code for months but oven would not maintain temp without increasing temp. set point high above desired oven temp. Finally would not heat over 150 degrees F. Two tests of the Self- Cleaning oven feature worked OK. Suddenly the ERC gave the F-1 failure code when not in use about one day after the last self-cleaning oven test. Bottom manual oven has been in use for months and operates satisfactoryAwaiting receipt of timer
Livermore, CaliforniaConstant F1 Error, with Beep. Beep stops if you hold cancel button down for 10 sec, but error code remains.Awaiting receipt of timer

Common problems for General Electric Electric Wall Oven JKP27WP Timer Repair

Are you encountering a similar problem as them? Contact us now and we will try to help you fix your JKP27WP timer-related problem.
I have a GE oven JKP27WP. The screen shows a K1 code and the buzzer continues to go off. How can I reset the oven so it will work?
I have a GE built-in electric wall oven, model JKP27WP. The top oven has electronic controls and the bottom has a knob. The top oven goes on, beeps when preheated, and then after a few minutes, it turns itself off and beeps. There are no error messages displayed. Sometimes it will allow me to turn it on again, but then it turns itself off. The bottom oven works fine. Do you think this is something I can fix myself (replacing a part?)
How old is a GE model # XXXXX built-in double oven? We found this for sale. Our older GE JKP27WP is 18 years old and the Electronic Control went out last week. No replacement available. What do you recommend? Thanks, Dennis
I have an older GE electric JSP26GN oven. The oven will not heat up. When I set a bake temperature the indicator changes to 100 degrees for about a minute and then just goes off. The same thing happens with turning on the broiler. I have played with the it a few times and have actually gotten it to start heating so I know the elements are still working but it will not stay on. From what I have found on the internet it looks like I need to replace either the Control panel, the Relay circuit board or the Oven clock but I do not know which one, and since replacing all three is about the same price as a new oven I would like some advice on which is the likely problem. The clock and all the burners are working.
I get F1 code and alarm on my oven. I can turn the the code off momentarally and the oven works fine. I want to know if there is a way to turn the code off? All people I talk to tell me I can't get the control panel or touch pad that they are no longer made. Can anyone help?