General Electric Electric Wall Oven JKP14WP1 Timer Repair

What is the timer/clock part number for the General Electric JKP14WP1 Electric Wall Oven?

Timer part number GE AP2025100 for General Electric JKP14WP1

The JKP14WP1 Electric Wall Oven uses timer part number GE AP2025100.

Do you have a failed General Electric JKP14WP1 control panel? Click here:

Request Appliance Timer Service

We can repair or replace your faulty General Electric JKP14WP1 timer.

JKP14WP1 are also sometimes referred to using these Alternative Names/Model numbers

GE JKP14WP1 Electric Wall Oven

JKP14WP1 Schematic and Wiring Diagrams

Control Parts diagram
JKP14WP1 Electric Wall Oven Control Parts diagram
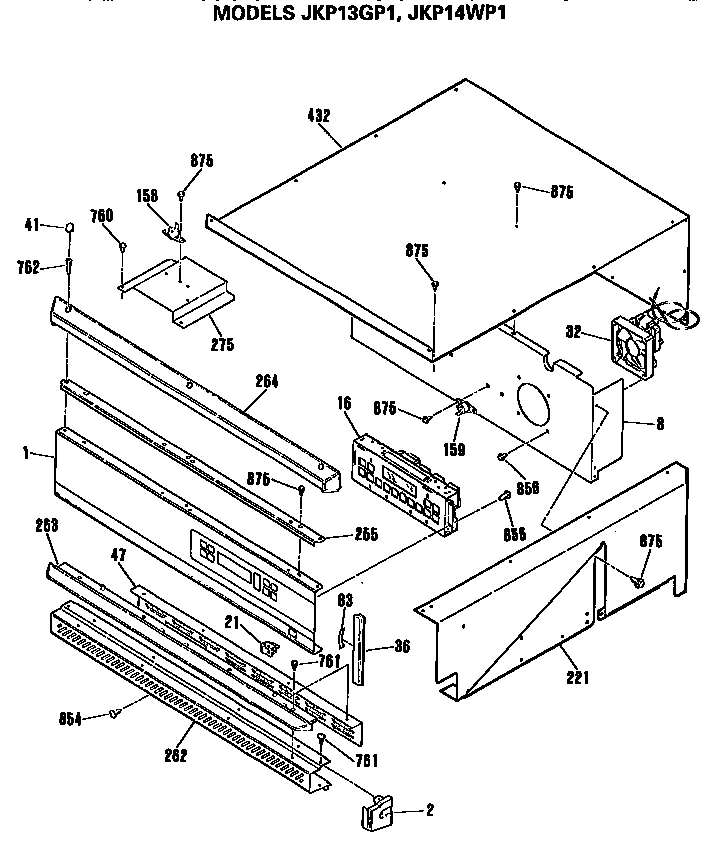
Oven Parts diagram
JKP14WP1 Electric Wall Oven Oven Parts diagram
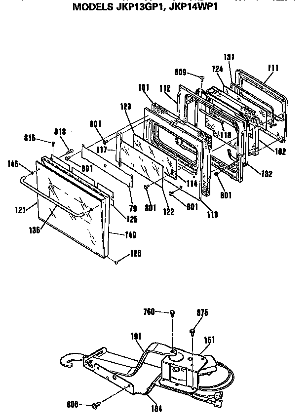
Door Parts diagram
JKP14WP1 Electric Wall Oven Door Parts diagram

Recent Service Requests

CityProblem DescriptionResolution
Conway, ArkansasCan set control bake or broil function with set temperature displayed.But no heat at either element.Awaiting receipt of timer
Bedford, New YorkHard to turn on. Must hold bake button until noise stops. Sometimes oven fails to heat and process must be repeated.Awaiting receipt of timer
Gig Harbor, WashingtonThe above part number came from the website http://www.appliancepartspros.com/partsearch/model.aspx?model_id=215268

I'm not sure which of the numbers on the part is the actual part number......

The symptoms are - oven elements both heat up, but oven shuts down at a low temperature. If we crank up the heat setting to 500F degrees, the oven heats to about 225-250F..... An error code flashed up at least once in the past, but it was not recorded and I could not reset the oven or make the code come up again.
Repaired
Largo, FloridaWhen turning on oven and selecting a baking temperature the oven readout is about
300 degrees too high to begin with. This prevents oven from ever reaching the desired temperature.
Repaired

Common problems for General Electric Electric Wall Oven JKP14WP1 Timer Repair

Are you encountering a similar problem as them? Contact us now and we will try to help you fix your JKP14WP1 timer-related problem.
oven does not heat to selected pre heat level. lower element does glow red as usual, oven heats a little, but not all the way to preheat temp. Broiler seems to be fine. Problem started 3 or 4 months ago and has slowly gotten worse. Lower element now heats oven to only about 120 degrees.
Neither the broiler nor oven setting will stay "on" more than 30 seconds once we set it. Just shuts itself off, no error code. (Last year we had a problem and had a F5 code I believe and looked into replacing the ERC panel, had an electrician look at it and put it back and then the oven worked fine again, so we let that go.) I'm wondering if this is something we can repair????
This probably started about 6 months ago. The oven is about 16 years. Do you think I should replace the bottom element, call a technician or do something else?
Oven Model jkp14wp F1 flashing. Unplugged over an hour but continues to flash when oven plugged back in.
Our oven (GE monogram JKP14WP) no longer reaches the selected temperature. For example, if 400 degrees is selected, the "beep" signal indicating the oven has reached the selected temperature comes on at about 250 degrees, and the oven never reaches 400 degrees. A local repairman suggested that the electronic control panel needs to be replaced. Is that likely correct, or is it possible that the problem lies elsewhere? He also says replacement control panels for that model oven are no longer available. Is this also correct?