General Electric Electric Wall Oven JKP13GP1BG Timer Repair

What is the timer/clock part number for the General Electric JKP13GP1BG Electric Wall Oven?

Timer part number WB27K5040 for General Electric JKP13GP1BG

The JKP13GP1BG Electric Wall Oven uses timer part number WB27K5040.

Do you have a failed General Electric JKP13GP1BG control panel? Click here:

Request Appliance Timer Service

We can repair or replace your faulty General Electric JKP13GP1BG timer.

JKP13GP1BG are also sometimes referred to using these Alternative Names/Model numbers

GE JKP13GP1BG Electric Wall Oven, JKP13GP1, JKP13GOP1BG

JKP13GP1BG Schematic and Wiring Diagrams

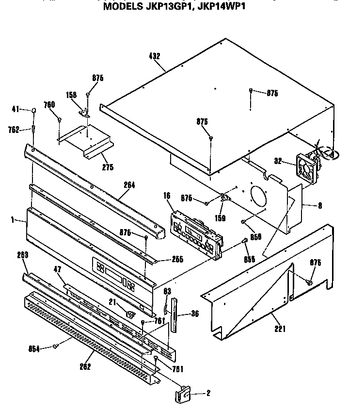
Control Parts diagram
JKP13GP1BG Electric Wall Oven Control Parts diagram
Oven Parts diagram
JKP13GP1BG Electric Wall Oven Oven Parts diagram
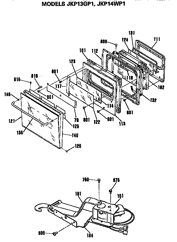
Door Parts diagram
JKP13GP1BG Electric Wall Oven Door Parts diagram

Recent Service Requests

CityProblem DescriptionResolution
North Augusta, South CarolinaOven does not heat up at all. Please repair it.Repaired
San Rafael, CaliforniaOven does not reach set BAKE temperature. Display can be set, but regardless of the BAKE temperature setting - never reaches beyond warm. I had replaced the probe in the unit with a service technician. No change. He said: you need a new ERC. The panel displays and runs up thru the temperatures as if it is heating up to bake. It ticks up thru all the numbers, and beeps when it stops at the set temp. Display works fine and accepts input. Shows correct time. The Broiler works. No error codes ever. I have had power outages but the thing always came back on.Repaired
San Rafael, CaliforniaOven does not reach set BAKE temperature. Display can be set, but regardless of the BAKE temperature setting - never reaches beyond warm. I had replaced the probe in the unit with a service technician. No change. He said: you need a new ERC. The panel displays and runs up thru the temperatures as if it is heating up to bake. It ticks up thru all the numbers, and beeps when it stops at the set temp. Display works fine and accepts input. Shows correct time. The Broiler works. No error codes ever. I have had power outages but the thing always came back on.Repaired
Kalamazoo, MichiganCustomer states F1 appeared after power outage. Upon reset fault code cleared temporarily until attempt to enter bake cycle. F1 reappeared & stayed onAwaiting receipt of timer
Kalamazoo, MichiganCustomer states F1 appeared after power outage. Upon reset fault code cleared temporarily until attempt to enter bake cycle. F1 reappeared & stayed onAwaiting receipt of timer

Common problems for General Electric Electric Wall Oven JKP13GP1BG Timer Repair

Are you encountering a similar problem as them? Contact us now and we will try to help you fix your JKP13GP1BG timer-related problem.
My daughter has a 27" GE Wall Oven which quit working on Thanksgiving; buzzer came on continuously and clock showed 'error code F3 (later F2). Local appliance repair service diagnosed failed or faulty control board, however a check of his parts source shows this part no longer available. I'm checking with you to determine if GE can still get this replacement part and save us from buying new oven. Nameplate data: GE 3716 Model: JKP13GOP1BG Serial: AG617469Q KW: 3.4 / 2.6 Est. age: ~ 15-20 yrs.
ge electric range and oven model # XXXXX when bake is turned on and temp is set the temp readout goes to 100 a little box on lower right corner says its on then i hear a click and it doesnt warm up at all
We have a GE Oven Model # XXXXX When we press the digital panel for oven and set the temperature for either Bake or Broil, it says on but after about 20 to 60 seconds, the panel clears and it does not heat.