General Electric Electric Wall Oven JKP13GP1 Timer Repair

What is the timer/clock part number for the General Electric JKP13GP1 Electric Wall Oven?

Timer part number WB27K5040 for General Electric JKP13GP1

The JKP13GP1 Electric Wall Oven uses timer part number WB27K5040.

Do you have a failed General Electric JKP13GP1 control panel? Click here:

Request Appliance Timer Service

We can repair or replace your faulty General Electric JKP13GP1 timer.

JKP13GP1 are also sometimes referred to using these Alternative Names/Model numbers

GE JKP13GP1 Electric Wall Oven

JKP13GP1 Schematic and Wiring Diagrams

Control Parts diagram
JKP13GP1 Electric Wall Oven Control Parts diagram
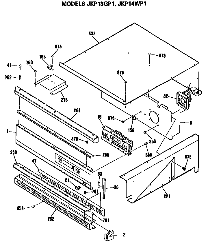
Oven Parts diagram
JKP13GP1 Electric Wall Oven Oven Parts diagram
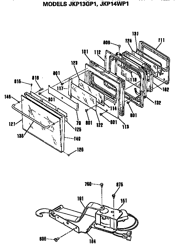
Door Parts diagram
JKP13GP1 Electric Wall Oven Door Parts diagram

Recent Service Requests

CityProblem DescriptionResolution
North Augusta, South CarolinaOven does not heat up at all. Please repair it.Repaired
San Rafael, CaliforniaOven does not reach set BAKE temperature. Display can be set, but regardless of the BAKE temperature setting - never reaches beyond warm. I had replaced the probe in the unit with a service technician. No change. He said: you need a new ERC. The panel displays and runs up thru the temperatures as if it is heating up to bake. It ticks up thru all the numbers, and beeps when it stops at the set temp. Display works fine and accepts input. Shows correct time. The Broiler works. No error codes ever. I have had power outages but the thing always came back on.Repaired
San Rafael, CaliforniaOven does not reach set BAKE temperature. Display can be set, but regardless of the BAKE temperature setting - never reaches beyond warm. I had replaced the probe in the unit with a service technician. No change. He said: you need a new ERC. The panel displays and runs up thru the temperatures as if it is heating up to bake. It ticks up thru all the numbers, and beeps when it stops at the set temp. Display works fine and accepts input. Shows correct time. The Broiler works. No error codes ever. I have had power outages but the thing always came back on.Repaired
Louisville, Kentuckywhen the oven is set to 350 it turns off at 130. when the broiler is turned on it almost immediatly acts as if it has reached temperature and turns off.Awaiting receipt of timer
Kalamazoo, MichiganCustomer states F1 appeared after power outage. Upon reset fault code cleared temporarily until attempt to enter bake cycle. F1 reappeared & stayed onAwaiting receipt of timer
Kalamazoo, MichiganCustomer states F1 appeared after power outage. Upon reset fault code cleared temporarily until attempt to enter bake cycle. F1 reappeared & stayed onAwaiting receipt of timer

Common problems for General Electric Electric Wall Oven JKP13GP1 Timer Repair

Are you encountering a similar problem as them? Contact us now and we will try to help you fix your JKP13GP1 timer-related problem.
Well, we've tried numerous things to try to repair oven and still no luck! We keep getting an F-3 error code - we've done the following: Changed oven sensor (twice), replaced fan switch, checked sensor wiriing at the back of the oven for crimps or pinched spots, and cleaned off contact points on wiring "tape" going into clock/oven control panel. After doing all this the oven did seem to work fine a couple of times, the last time working fine for an hour of heating. (At that point we thought it was fixed and were we HAPPY!) Yesterday, it turned on ok, preheated to 400 and worked for about 10 minutes, then apparently just shut itself off (no error code came up, no nothing, just a non working oven). After turning it back on and it shutting off several times, the F-3 error code came up again. HELP!, please. Do we need a new ERC - electronic oven control??
GE JKP13GP1 Replace Sensor I know I need to replace the Sensor (F3 error); I have found a replacement part WB21X5301 (original part is no longer available) I went to remove the sensor (to make sure I was getting the correct part) I remove the two screws, and pulled out the sensor - It does not come out far enough for me to disconnect it from the oven. I am not pulling very hard - can this repair be made without removing the wall oven? If so - can someone give me advice on how to replace the sensor?
I have a built in oven that is 18 years old and looks like its in great condition. I used to be able to cook a frozen pizza in 15 minutes as directed. Now the same kind of pizza burns in 8 minutes. It is a digital control panel. I need to know what parts I need and if it makes sense to try to repair.
My daughter has a 27" GE Wall Oven which quit working on Thanksgiving; buzzer came on continuously and clock showed 'error code F3 (later F2). Local appliance repair service diagnosed failed or faulty control board, however a check of his parts source shows this part no longer available. I'm checking with you to determine if GE can still get this replacement part and save us from buying new oven. Nameplate data: GE 3716 Model: JKP13GOP1BG Serial: AG617469Q KW: 3.4 / 2.6 Est. age: ~ 15-20 yrs.
ge electric range and oven model # XXXXX when bake is turned on and temp is set the temp readout goes to 100 a little box on lower right corner says its on then i hear a click and it doesnt warm up at all
We have a GE Oven Model # XXXXX When we press the digital panel for oven and set the temperature for either Bake or Broil, it says on but after about 20 to 60 seconds, the panel clears and it does not heat.
I have 1992 ish GE JKP13GP1 oven. Takes forever to heat up. No error codes. Ohm readings at elements are 25-30 each. Temp sensor reads(NNN) NNN-NNNNat rm temp. Where do I look next. Mark