General Electric Electric Range JBP56GR1 Timer Repair

What is the timer/clock part number for the General Electric JBP56GR1 Electric Range?

Timer part number WB27X5476 for General Electric JBP56GR1

The JBP56GR1 Electric Range uses timer part number WB27X5476.

Do you have a failed General Electric JBP56GR1 control panel? Click here:

Request Appliance Timer Service

We can repair or replace your faulty General Electric JBP56GR1 timer.

JBP56GR1 are also sometimes referred to using these Alternative Names/Model numbers

GE JBP56GR1 Electric Range

JBP56GR1 Schematic and Wiring Diagrams

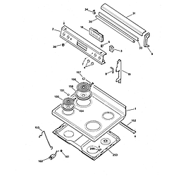
Control panel & cooktop Parts diagram
JBP56GR1 Electric Range Control panel & cooktop Parts diagram
Body Parts diagram
JBP56GR1 Electric Range Body Parts diagram
Door & drawer Parts diagram
JBP56GR1 Electric Range Door & drawer Parts diagram

Recent Service Requests

CityProblem DescriptionResolution
Woodbridge, VirginiaWhen trying to bake, broil, or clean Code F5. Left oven disconnected from power for more than an hour and reconnected. Code F3. Replaced Temperature sensor. Time to code F3 a little longer after temp sensor replaced.Repaired
Port Of Spain Tinidad nd TobagoElectricl surgeBeyond Repair

Common problems for General Electric Electric Range JBP56GR1 Timer Repair

Are you encountering a similar problem as them? Contact us now and we will try to help you fix your JBP56GR1 timer-related problem.
I have a GE self-cleaning electric oven model JBP56GR1wh. With the oven not in operation I get an error code F2 and the oven beeps and will not operate. I can reset the oven, but the error code and beeping starts again in about a minute What does the error code tell me? John
When I press on "Bake" on my GE oven, and then enter a temperature, it accepts the temperature and after a moment displays "100 degrees, bake ON", as is customary. However, exactly 17 seconds since I pressed "Bake", the display clears all the baking display data, leaving just the clock time. No error codes are displayed, it looks like the oven has simply canceled the "bake" without any message. A similar things happens with "Clean" and with "Broil", they are canceled after 17 seconds, without any message, just the clock remains on the display. I tested the Oven Sensor Assembly (GE # Part number: WB21X5301 $(document).ready(function() { $('.partvideo_WB21X5301').load('/videoproxy.php?partid=WB21X5301'); });
Hello, I have GE electric oven, 10-20 years old. When I try to self clean it, I get an 'f-3' error, which I assume means 'open' sensor. What does open sensor mean? Does this mean that the sensor needs to be replaced? Is this part a universal part? I can't my model number online anywhere, but the sensor looks similar to others I see online. Thanks for the help!