|
|||||||||||||||||||||||||||||||||||||||||||||||||||
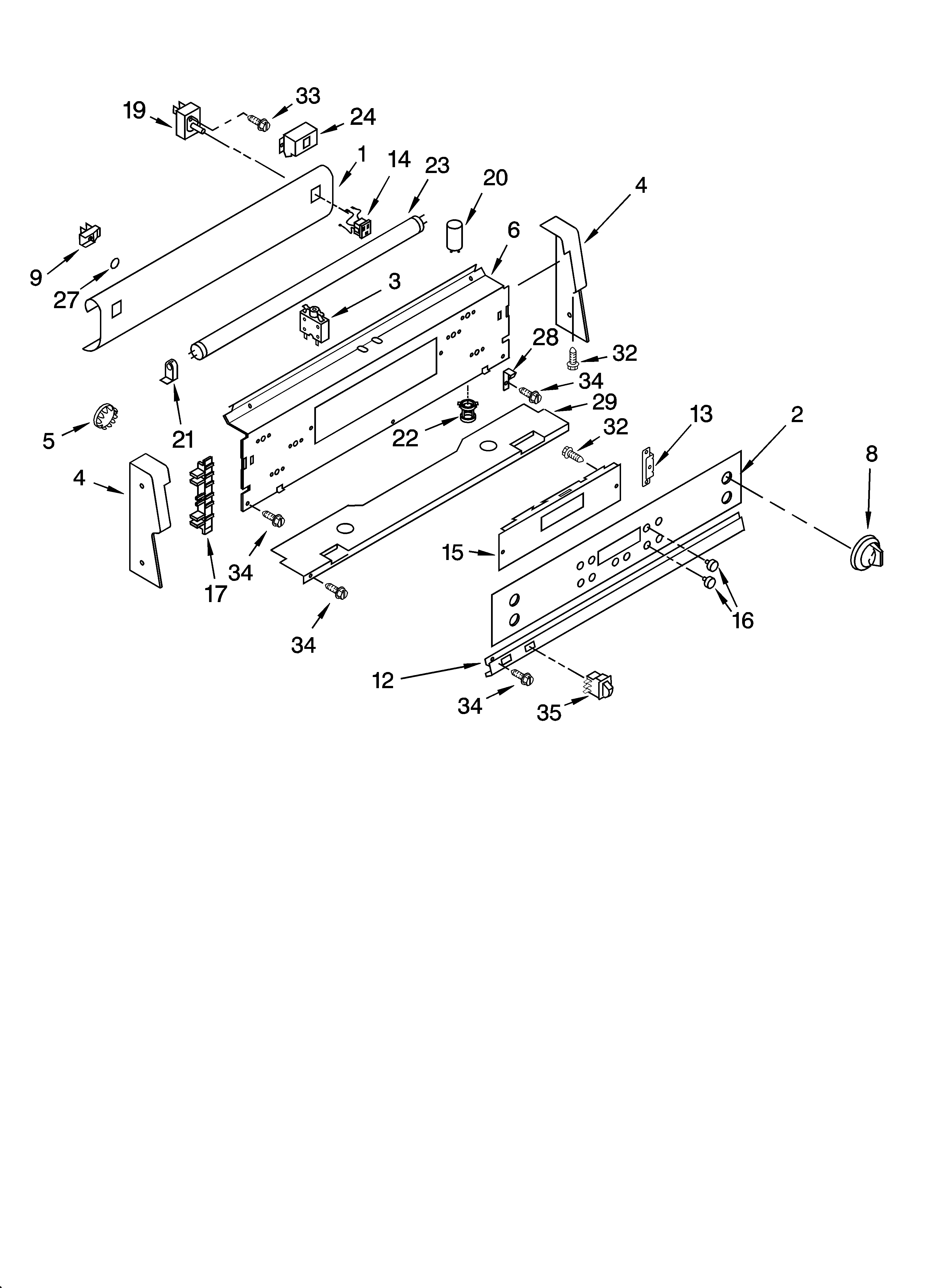
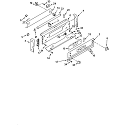
Whirlpool Free Standing Electric Range GLP85800 Timer RepairWhat is the timer/clock part number for the Whirlpool GLP85800 Free Standing Electric Range?![]() The GLP85800 Free Standing Electric Range uses timer part number 9754114. Do you have a failed Whirlpool GLP85800 control panel? Click here: We can repair or replace your faulty Whirlpool GLP85800 timer. GLP85800 Schematic and Wiring DiagramsRecent Service Requests
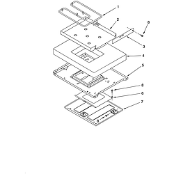
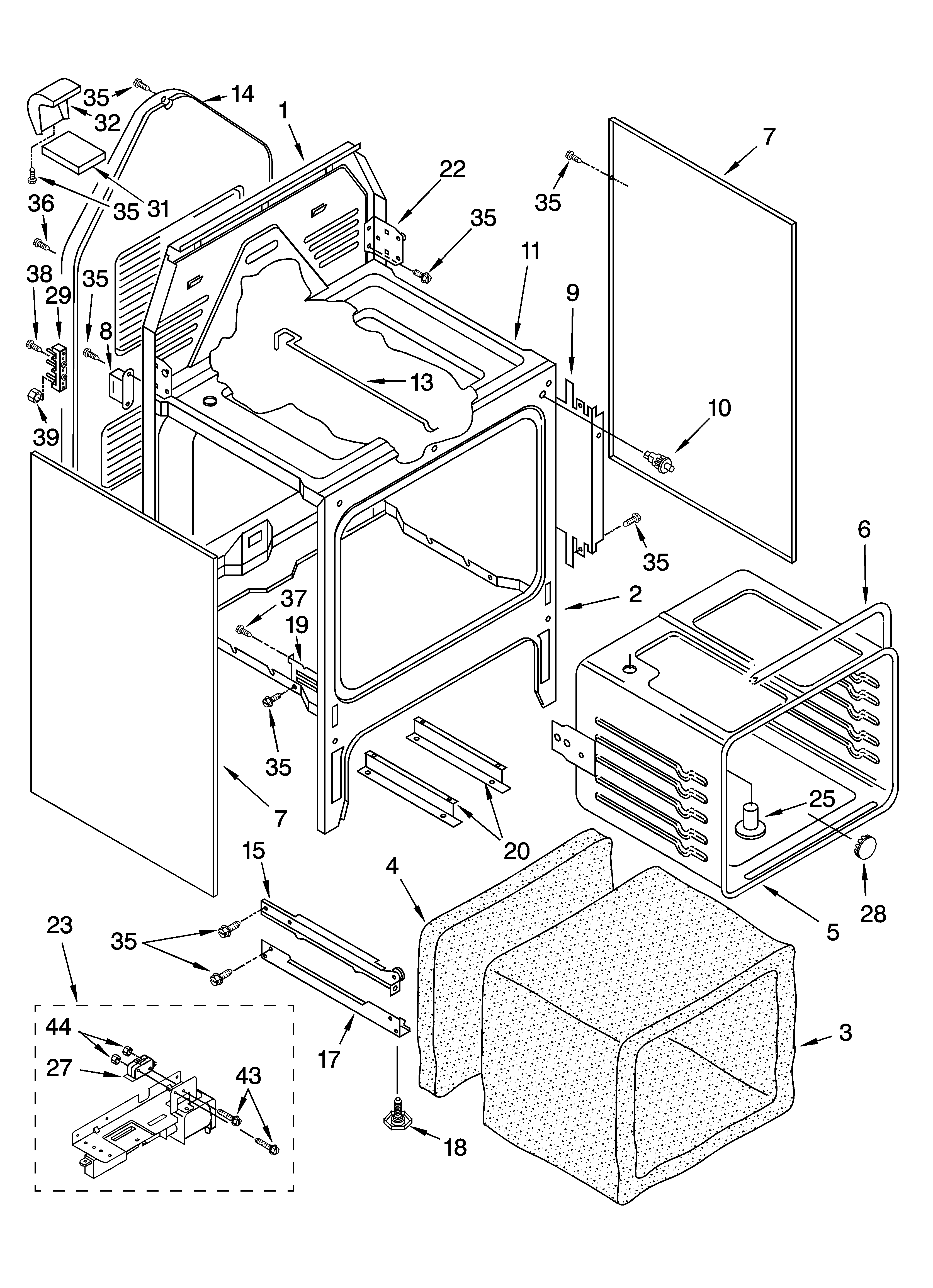
Common problems for Whirlpool Free Standing Electric Range GLP85800 Timer RepairAre you encountering a similar problem as them? Contact us now and we will try to help you fix your GLP85800 timer-related problem. I have a Model GLP85800, Type 30P Electric oven, it is 8 yrs old. Only half of the oven seems to be working. The broiler comes on, the controls indicates the oven is up to temperature, but it isn't Could you tell be what needs to be done and the approxiate cost to have it done. Thank you How do I install a bridge element on a whirpool range GLP85800 Was cookin baked potatos in the microwave got to the last one and it pressed baked potato and it did not heat up and said sensor error. Now it does not heat up anything but works just like normal lights are on turntable works fan works just no heat. What could be the problem? All functions of the microwave seem to work - Lights - table rotation - fan - clock - clock I opened the unit and found the schematic diagram. Went thru some of the basic checks. When running the unit with a large cup of I noticed a burning smell. Upon further inspection I noticed that the low voltage transformer P/N DE26-20155B SLV - 1350U (P) appears to have burn marks on two sides. (place where the channels are if I am describing it correctly). Q1: Would this explain the full functionality minus the in-ability to heat items? Q2: Is the part replacable or do I have to replace the entire "Smart board"? Cost is $173 versus approx. $20.0 to just replace the LVT1. Q3: If the transformer is replacable. Is it hard to do? Finally, given the symtoms are there any other parts which could be damaged? When I wasn't using it, my microwave suddenly started beeping, 4 long beeps, then 'set time' scrolled on display, then a couple of more short beeps and 'set clock' then 'set clock' scrolled on display, and finally it showed F 3 and beeped the 4 long beeps again. I came to this forum and read the posts about it being a shorted keypad. My question is: Is this error code the same on a Frigidaire as it is on those other brands? If it is, then do you have a diagram that shows the keypad (I want to make sure we are talking about the same thing). I went to Frigidaire parts site and they list a control panel but not a keypad, is this the same thing? I inadvertently posted my question 'as a reply' on the microwave repair forum. Sorry, at least now I know why I didn't get a reply. When I turn the oven to 400 degrees for instance the temperature doesn't go to 400 degrees and the top element is hot, not super hot and doesn't get red. It is a Whirlpool Gols, Acubake system. Model GLP85800 and Selial no IMR1759501 The digital display is too faint to read. What is the fix for this problem How do you remove the oven door for cleaning on model GLP85800 electris oven, |
|||||||||||||||||||||||||||||||||||||||||||||||||||
|
|||||||||||||||||||||||||||||||||||||||||||||||||||