Whirlpool Free Standing Electric Range GLP84200 Timer Repair

What is the timer/clock part number for the Whirlpool GLP84200 Free Standing Electric Range?

Timer part number 9754261 for Whirlpool GLP84200

The GLP84200 Free Standing Electric Range uses timer part number 9754261.

Do you have a failed Whirlpool GLP84200 control panel? Click here:

Request Appliance Timer Service

We can repair or replace your faulty Whirlpool GLP84200 timer.

GLP84200 Schematic and Wiring Diagrams

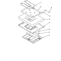
Cooktop Parts diagram
GLP84200 Free Standing Electric Range Cooktop Parts diagram
Control panel Parts diagram
GLP84200 Free Standing Electric Range Control panel Parts diagram
Door and drawer Parts diagram
GLP84200 Free Standing Electric Range Door and drawer Parts diagram
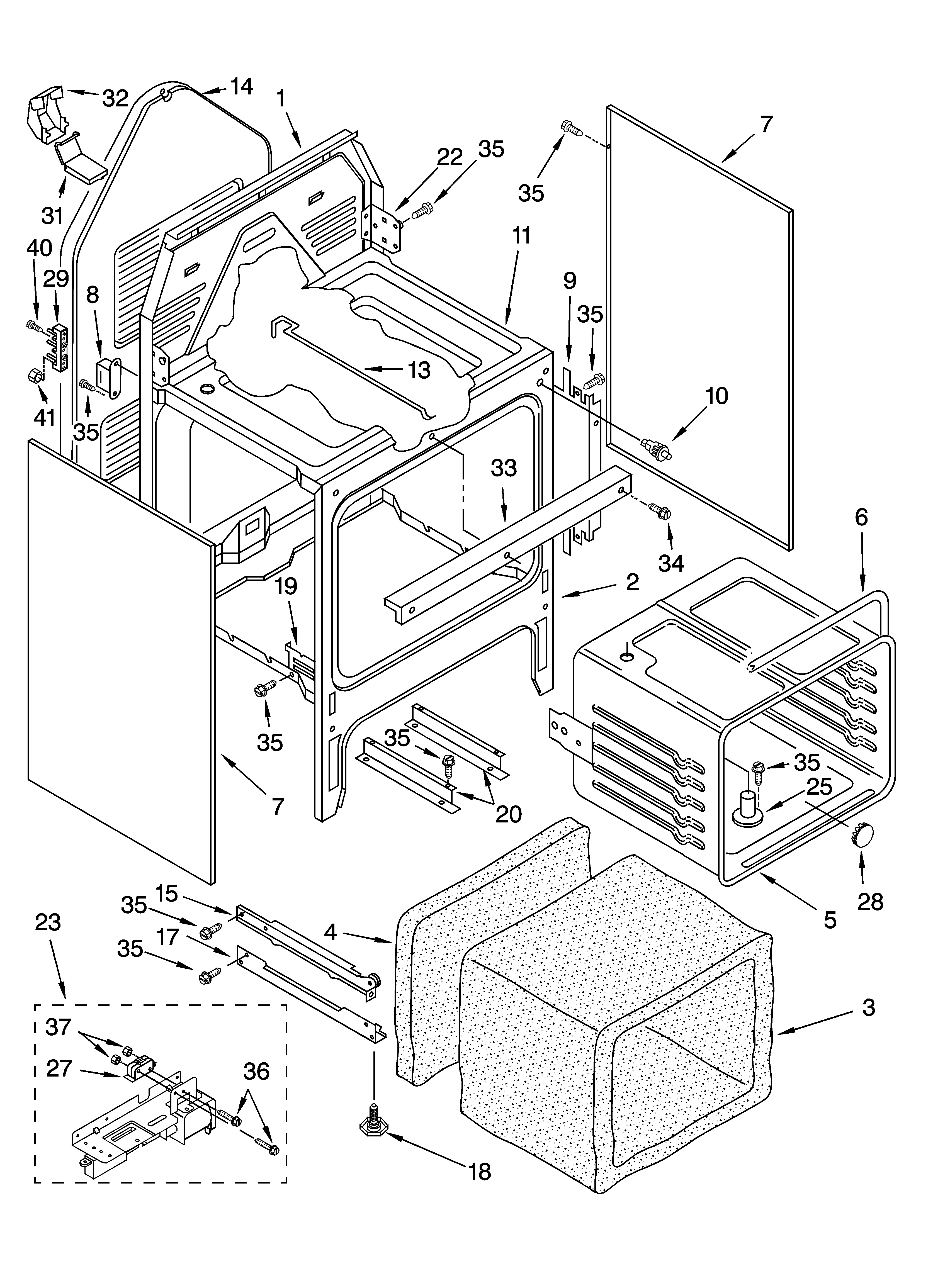
Oven chassis Parts diagram
GLP84200 Free Standing Electric Range Oven chassis Parts diagram
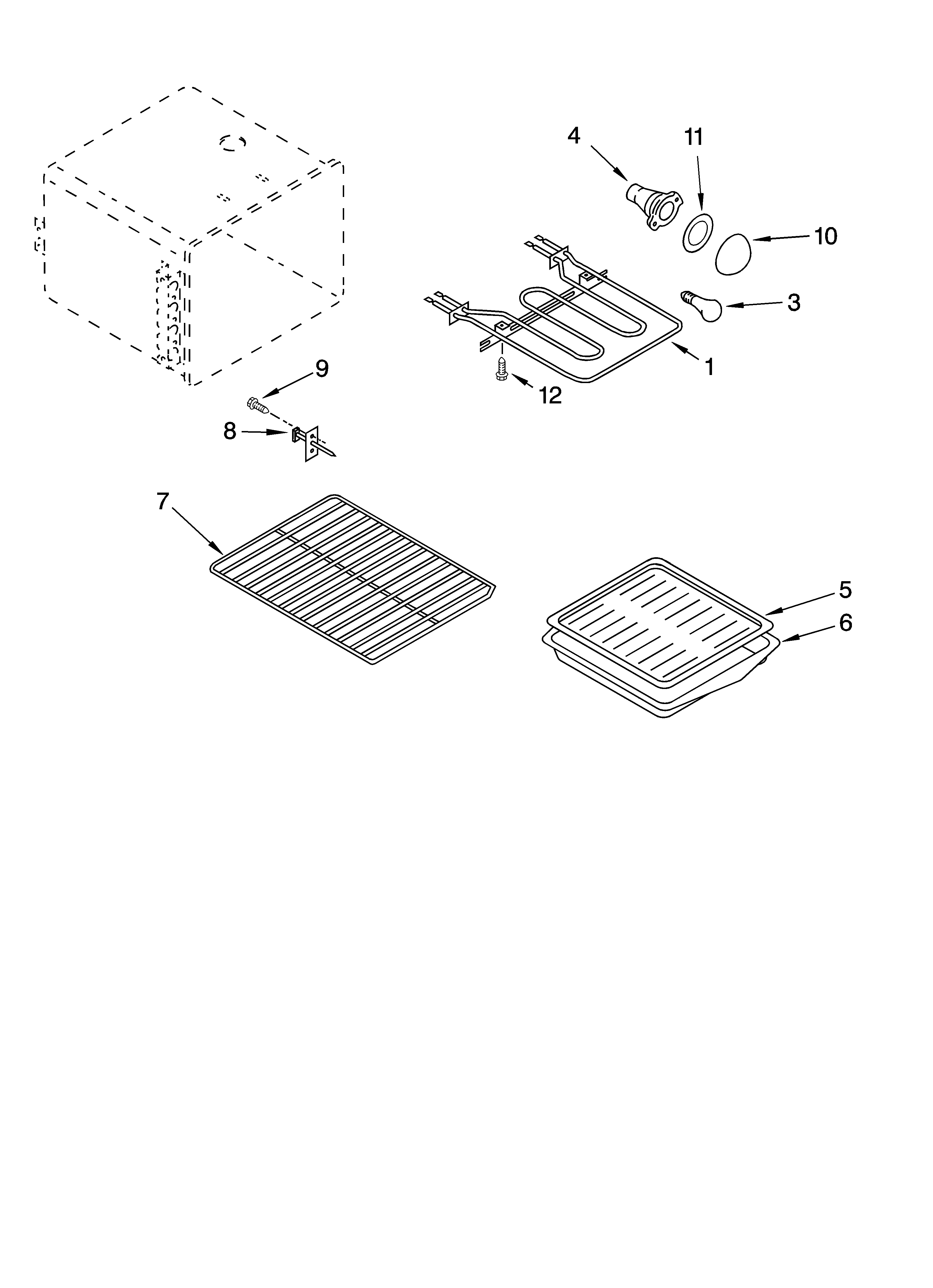
Oven Parts diagram
GLP84200 Free Standing Electric Range Oven Parts diagram
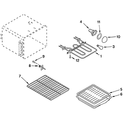
Hidden bake Parts diagram
GLP84200 Free Standing Electric Range Hidden bake Parts diagram

Recent Service Requests

CityProblem DescriptionResolution
Edmonton, AlbertaNo Power to Bake Element.Replaced with reconditioned timer