Whirlpool Free Standing - Electric GJP84802 Timer Repair

What is the timer/clock part number for the Whirlpool GJP84802 Free Standing - Electric?

Timer part number 9754261 for Whirlpool GJP84802

The GJP84802 Free Standing - Electric uses timer part number 9754261.

Do you have a failed Whirlpool GJP84802 control panel? Click here:

Request Appliance Timer Service

We can repair or replace your faulty Whirlpool GJP84802 timer.

GJP84802 Schematic and Wiring Diagrams

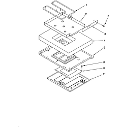
Cooktop Parts diagram
GJP84802 Free Standing - Electric Cooktop Parts diagram
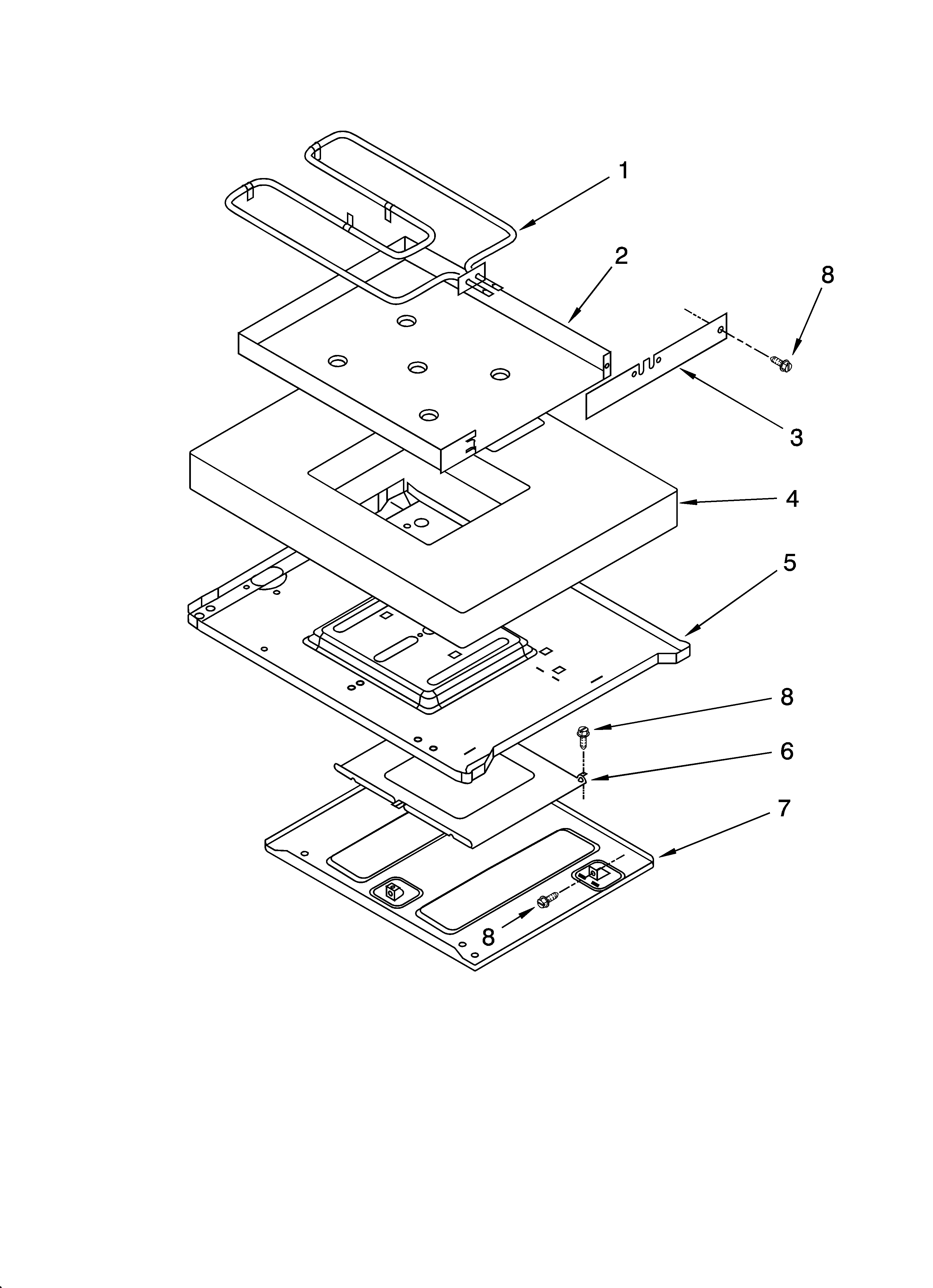
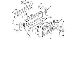
Control panel Parts diagram
GJP84802 Free Standing - Electric Control panel Parts diagram
Door and drawer Parts diagram
GJP84802 Free Standing - Electric Door and drawer Parts diagram
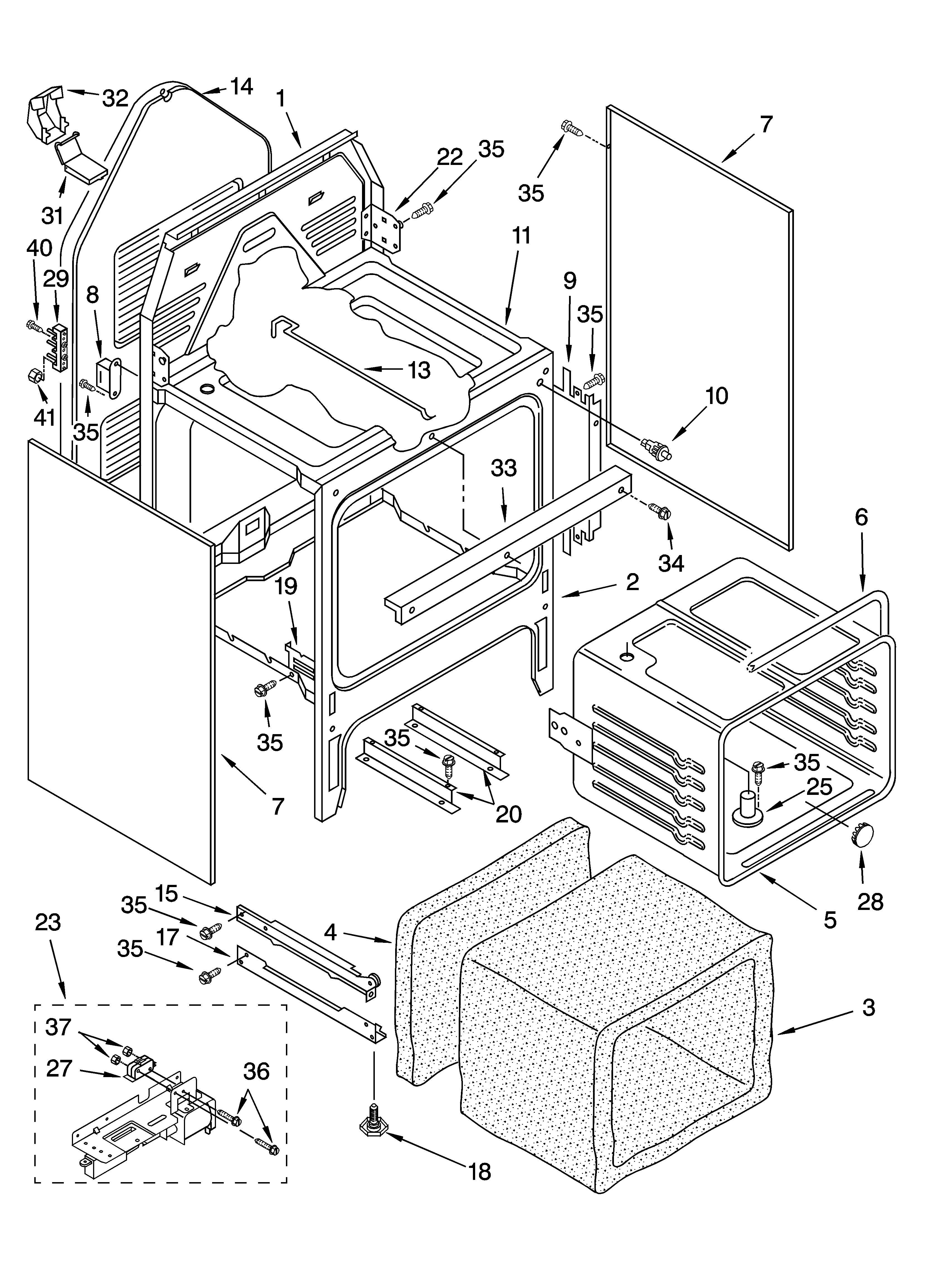
Oven chassis Parts diagram
GJP84802 Free Standing - Electric Oven chassis Parts diagram
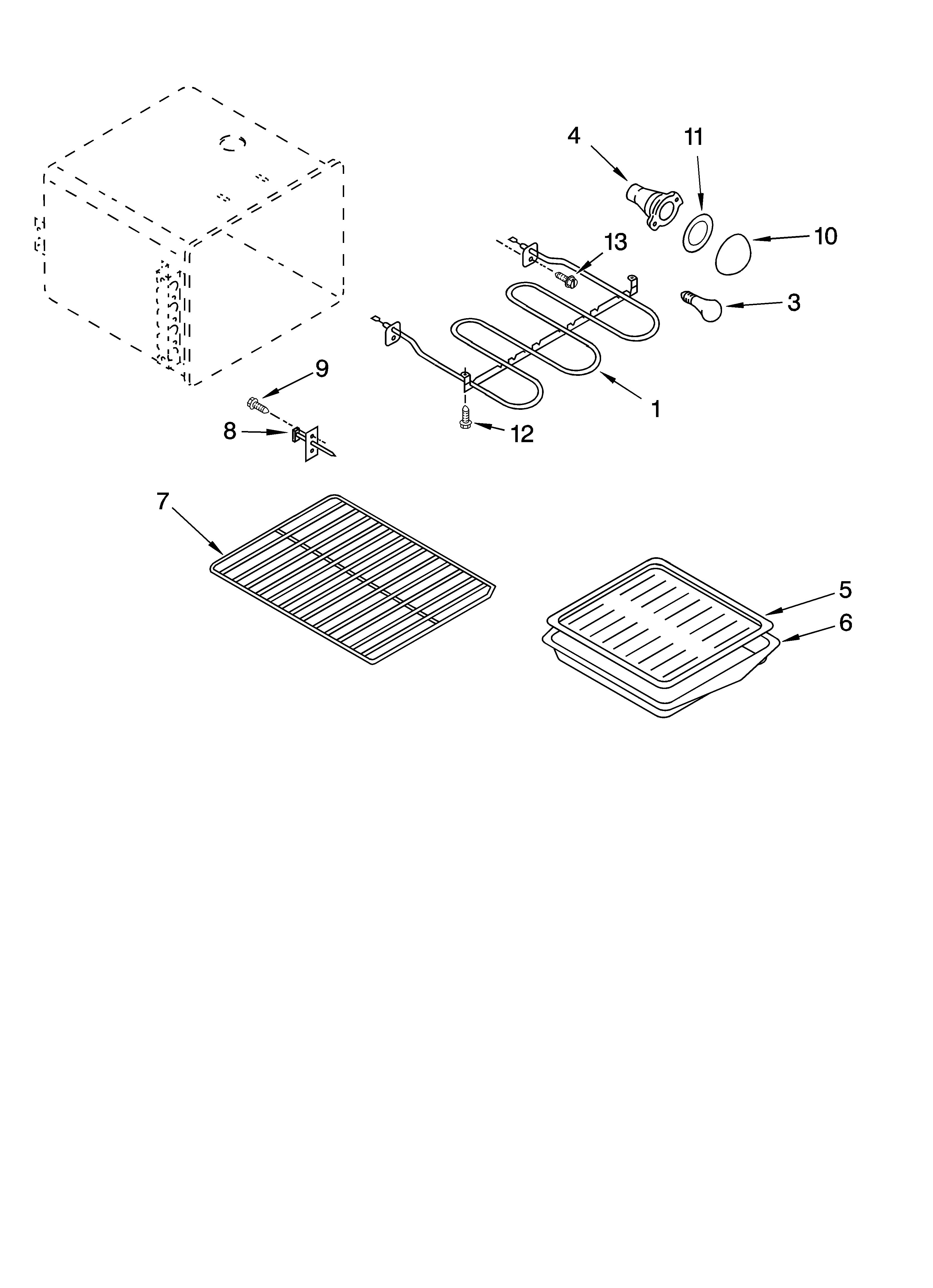
Oven Parts diagram
GJP84802 Free Standing - Electric Oven Parts diagram
Hidden bake Parts diagram
GJP84802 Free Standing - Electric Hidden bake Parts diagram

Recent Service Requests

CityProblem DescriptionResolution
Pointe-Claire, QuebecOven inoperative, unable to set display, E1 F1 error displayed.Repaired
County of Grande Prairie No.1, Albertawe had a power failure after that it just showed the codes E-1 and F-1Repaired
Gaspe, QuebecI have the error code PF power failure with my oven! The cook top are all ok! Since i am working in electronics, i open the unit and try to Fix the problem on the timer but it did not Work!Awaiting receipt of timer
Varennes, QuebecE1F1Repaired
Courtenay, British ColumbiaWe experience a power outage where one leg of the 120 volt blew a fuse on the hydro pole out side. After the power came back on the stove displayed an E1 F1 code on the digital display. The range top still works but oven does not. Tried a few times to unplug the stove and plug back in to reset but with no luck.Repaired
Aldergrove, British ColumbiaTimer failure after power outage. Cannot use oven, but range still works.Awaiting receipt of timer
mackenzie, British Columbiaoven not workingRepaired
Napanee, OntarioWe had a brown out and the timer display stopped working. We could still use the oven for a few days without display. One night while cooking dinner black smoke started coming out of the light area. We turned everything off. Took off the face plate and saw black smoke marks in two area on the timer / circuit board. Hope you can fix it! :)Awaiting receipt of timer
ottawa, Ontarioheat takes forever to attain 450 degrees and stove stops heating before reaching 450 degreesRepaired
Brantford, Ontariotimer flashes E1-F1, ceramic burners work, oven functions inoperableReplaced with reconditioned timer
Brantford, Ontariodisplay beeps and flashes E1 F1 error codes
all oven functions inoperable
ceramic cooktop burners working
Replaced with reconditioned timer
St-Basile le Grand, QuebecE1 F1 eror codeReplaced with reconditioned timer
Montreal, QuebecError code on display. Picture available if needed.Replaced with reconditioned timer
Kirkland, Québecsmoke came from it...oven will not heat up properly. Would like to know the price of a new timer.Replaced with reconditioned timer
mascouche, QuébecOven bake element replaced , it was burnt out.

After replacing element , burner does not heat.

Oven tested with thermometer at 350 degree F & oven heated to 150 F after 5 min preheat.
Repaired
Morin Heights, Quebecerror code flashing E1 F1, stove is not working.Replaced with reconditioned timer
Kensington, Prince Edward IslandClean oven doesn't work, door won't lock, oven light always stays on.Replaced with reconditioned timer
Kirkland, Québecoven doesn't heat up enough, not the element, Sears service person told us we need a new timer and we can't afford a new one...obviously.Replaced with reconditioned timer
London, OntarioBroil works fine. Bake elements does not work.
When started it owen is preheated for 5 minutes using top broil element but bake element does not kick in. Replaced bottom bake element which was fried. After that found that relay on timer board which controls bake element is fried (it is black under the board and does not switch on (checked with ohm meter). Broil relay works fine (I have switched baked element to broil relay and this works).
Replaced with reconditioned timer
Kincardine, OntarioFailure Code E1-F1 following major power failure
clock/oven not longer work

If our defective timer cannot be repaired can we use it for core charge and order a replacement from you?
Repaired

Common problems for Whirlpool Free Standing - Electric GJP84802 Timer Repair

Are you encountering a similar problem as them? Contact us now and we will try to help you fix your GJP84802 timer-related problem.
I own a Whirpool Gold range, Model #GJP84802. The bottom element is not working. This element is hidden. How do you replace this element?
I have a Whirlpool oven (Model GJP84802) with a Ceran cooktop. The oven light, clock and beeper have ceased to function although the oven, all burners, the self-cleaning feature all operate appropriately. I have replaced the oven door switch with no effect. Where do I go from here? Any advice would be appreciated
hello there, i have a whirlpool gold oven and the left front element - which has an inner and outer element - the inner element does not heat? is there a fuse problem or the element needs replacement? appreciate the help
i have a whirlpool range model gjp84802 and the clock board is fried.i am on a small disability and can not afford 300+for a new board.could you maybe help me out as i would hate to have to throw it away
have purchased an oven element and wish to replace myself. i have taken side panel off and am looking at insulation.How should i proceed
Problem with left front large dual element. When using either in single or dual element mode, element/elements are always fully on. Control knob does function to shut element/elements off. Seems like a possible thermostat problem. Is there a themostat that can be replaced? Do I need a new control knob? Or does the dual element need to be replaced?
Small burner on left front dual element will not heat up. I need to see or have someone tell me how to remove and replace the inter element. I would like to see an exploded view of the cooktop showing how it comes apart. Can you help?
Hello, I have a Whirlpool Electric cooktop ser# XT1210668. Mod GJC3634RB01. Suddenly 4 of the 5 burners do not work properly. 4 elements will begin to heat but then I hear a faint click at the control switch and the element goes cold, like it has a short or like it shorts out when it reaches or exceeds a certain tempature. With the heat control on, it will attempt to cycle up to heat again in a few seconds but will again fail at a certain point, with an audible click and go cold again. I live in Costa Rica and it is difficult to communicate with the repair people here. Language and culture. Your customer service people have give me the correct part numbers for the infininty switches that correspond to my cooktop and heating elements. I am ready to purchase and have figured out a way to get the swicthes here from the USA. My question is this? Based on what I have described, are the infinity switches the likely solution? Is it typical that 4 of 5 burners would all have the exact same pro
Hello and help!! Cooktop continues to click as if I am attempting to start burner. I have already replaced the spark module and it did not fix the problem. What would be the next probable cause for the clicking sound? Jaquie
Hi, Can someone please tell me how to replace the Hidden Baking element in my range. It is an Electric Whirlpool Gold Accubake oven. The Bottom Element is not visible (it's hidden). How do I access the baking element to check or replace it ? Are there any instructions how to do this ? Everything else in the oven or up top works fine, there are no error codes. It just stopped producing heat half way thru cooking a turkey ! Steve
My Whirlpool built-in single oven (model #RBS275PDQ6) would not heat. When I select the options "Bake and Start", it ask the question Start? Could some one enlighten me as to what hte problem might be and what part (number) it might need.
I have a whirlpool gold accubake # GJP84802, when I was using the broil on 500 F, it tripped the breaker. When I turned it back on, the lower element is not producing heat (top working). Is there a fuse for it or is there a way to see if it needs to be replaced?
could you solve my problem in whirlpool gold gjp84802 , it was lock show on E1F1 ON TIMEER, HOW CAN I SOLVE THIS PROBLEM THANKS SARAH
Broken glass on oven door for model GJP84802, and don't know how to replace it. Jay
I have a Whirlpool Gold Self Cleaning, Accubake System Electric oven/oven. Model GJP84200, Serial # IMK1256200, Type 30P, 250V, 45.5 Amps, 60 Hz. All of the digital controls appear to still all work fine, the top cooking elements all still work, so does the Broiling element inside the oven. While cooking a Turkey, it appears that the bottom element ? or maybe the Thermal Fuse on the back of the oven blew ? How can I detect what the problem may be ? You can still turn the oven on and it will pre-heat and look like it's working fine, but if you stick your hand inside just above the bottom of the oven, it's not scorching hot like the top element is.
whirlpool gold accubake GJP84802 I fried the bake element, changed it but does not turn on. Everything else works but the bake element. Can you help?