Jenn-Air D156W Timer Repair

What is the timer/clock part number for the Jenn-Air D156W Range?

Timer part number 205983 for Jenn-Air D156W

The D156W Range uses timer part number 205983.

Do you have a failed Jenn-Air D156W control panel? Click here:

Request Appliance Timer Service

We can repair or replace your faulty Jenn-Air D156W timer.

D156W are also sometimes referred to using these Alternative Names/Model numbers

Maytag D156W Range, Whirlpool D156W Range

D156W Schematic and Wiring Diagrams

Control panel (d156b, d156w) (d156b) (d156w) Parts diagram
D156W Range Control panel (d156b, d156w) (d156b) (d156w) Parts diagram
Control panel (d156) Parts diagram
D156W Range Control panel (d156) Parts diagram
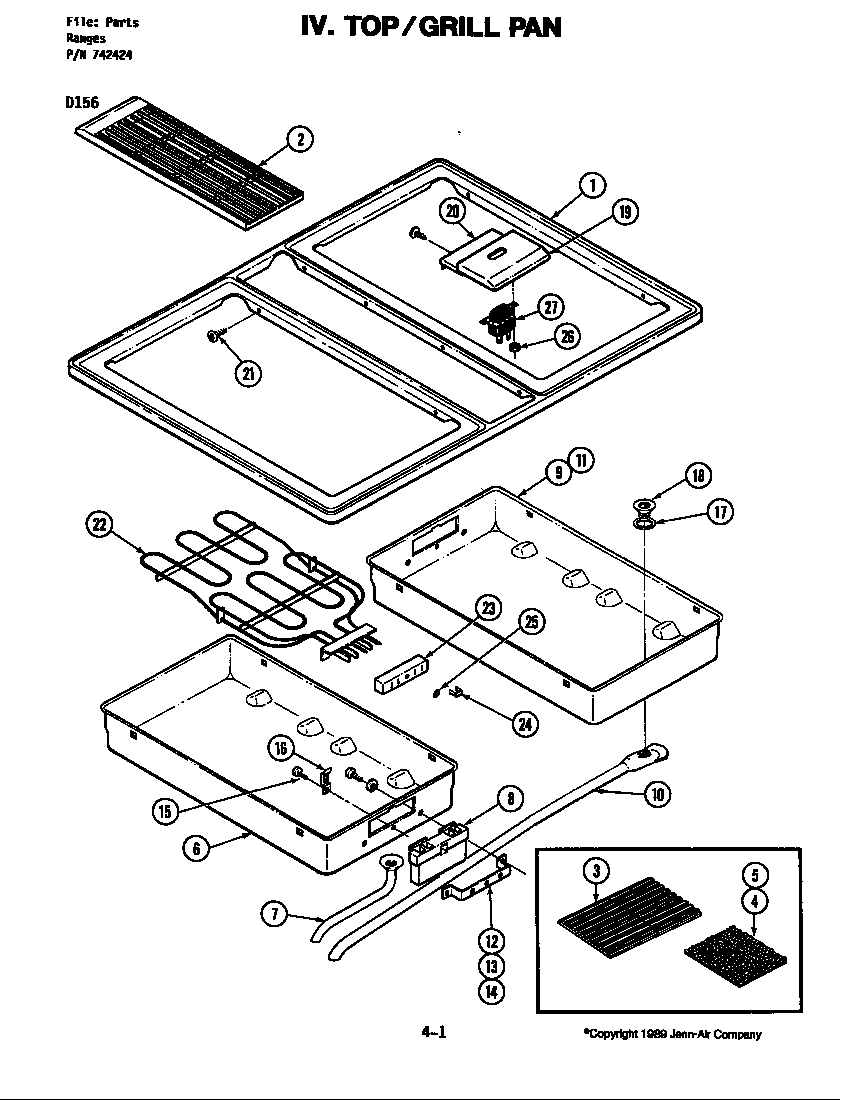
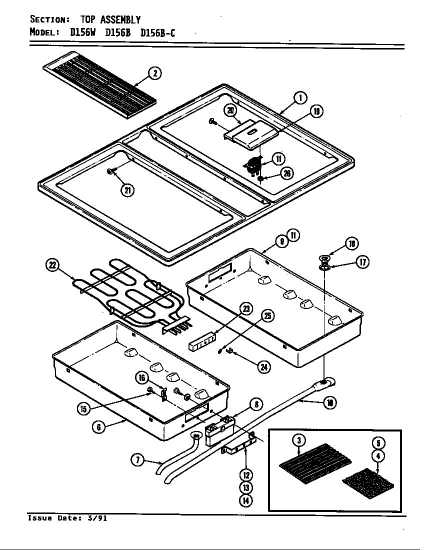
Top assembly (d156b & d156w) (d156b) (d156w) Parts diagram
D156W Range Top assembly (d156b & d156w) (d156b) (d156w) Parts diagram
Top (d156) Parts diagram
D156W Range Top (d156) Parts diagram
Body (d156b & d156w) (d156b) (d156w) Parts diagram
D156W Range Body (d156b & d156w) (d156b) (d156w) Parts diagram
Body (d156) Parts diagram
D156W Range Body (d156) Parts diagram
Internal controls (d156b & d156w) (d156b) (d156w) Parts diagram
D156W Range Internal controls (d156b & d156w) (d156b) (d156w) Parts diagram
Internal controls (d156) Parts diagram
D156W Range Internal controls (d156) Parts diagram
Liner (d156b & d156w) (d156b) (d156w) Parts diagram
D156W Range Liner (d156b & d156w) (d156b) (d156w) Parts diagram
Oven liner (d156) Parts diagram
D156W Range Oven liner (d156) Parts diagram
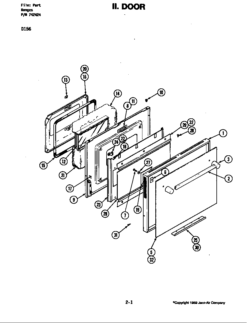
Door (d156b & d156w) (d156b) (d156w) Parts diagram
D156W Range Door (d156b & d156w) (d156b) (d156w) Parts diagram
Door (d156) Parts diagram
D156W Range Door (d156) Parts diagram
Blower motor (cooling d156b & d156w) (d156b) (d156w) Parts diagram
D156W Range Blower motor (cooling d156b & d156w) (d156b) (d156w) Parts diagram
Blower motor-cooling fan (d156) Parts diagram
D156W Range Blower motor-cooling fan (d156) Parts diagram
Blower motor (convection d156b & d156w) (d156b) (d156w) Parts diagram
D156W Range Blower motor (convection d156b & d156w) (d156b) (d156w) Parts diagram
Blower motor-convection fan (d156) Parts diagram
D156W Range Blower motor-convection fan (d156) Parts diagram
Blower motor (blower/plenum d156b & w) (d156b) (d156w) Parts diagram
D156W Range Blower motor (blower/plenum d156b & w) (d156b) (d156w) Parts diagram
Blower motor-blower/plenum (d156) Parts diagram
D156W Range Blower motor-blower/plenum (d156) Parts diagram

Recent Service Requests

CityProblem DescriptionResolution
Chateauguay, QuebecOven not turning on..or if does turn on...shut off by itselfRepaired
Chateauguay, QuebecOven not turning on..or if does turn on...shut off by itselfRepaired
Seal Beach, CaliforniaOven starts to heat for 10 seconds and then shuts off.Awaiting receipt of timer
Milford, DelawareOven shuts off randomly before switching from Pre-Bake to Bake.
Complete problem description and history of problems included with returned timer.
Awaiting receipt of timer
West Des Moines, IowaIAwaiting receipt of timer
CHIPPEWA FALLS, WisconsinCan't set oven, broiler etc. Seems to turn on for short 1-5 seconds then shuts off. Actually never sends power to oven element. The timer itself may still allow you to time an egg but sometimes it doesn't work either.Timer inspected, no repairs necessary
Detroit Lakes, MinnesotaWhen setting oven to bake, the oven will initiate the pre-bake cycle as normal and show "140*" as it begins to warm up - also as normal. However, within 10 seconds and before the heating elements are even hot to-the-touch, the oven shuts itself off.Repaired
CHIPPEWA FALLS, Wisconsinfails to turn on oven. You can press oven or clean or what ever and it lights up like it is turning on but nothing heats up and it turns itself off after about 5 seconds.Replaced with reconditioned timer

Common problems for Jenn-Air D156W Timer Repair

Are you encountering a similar problem as them? Contact us now and we will try to help you fix your D156W timer-related problem.
While using the oven, my oven would jump into the Clean Cycle all by itself. I would hit Cancel and reprogram the oven. A short while later it woul do it again. It got progressively worse until it was unusable. Sometimes it would start beeping and flash F1 error code. I purchased and changed the computer. This made the problem better but did not eliminate it. It got progressively worse again and is now unusable. On one of the diagrams, I saw a heat shield, but the oven did not have one. I purchased and installed the sheild when I installed the new computer. The problem still exists. Can anybody help me?
When I turn the oven on e.g. 350, the oven indicator displays 140 pre-heat for about 45 seconds and goes off. Does not display any error messages. The broiler does the same. Both the heating elements are warm to touch but that's all. We have replaced the oven sensor and the transformer relay board part number Y040100260 and still the oven nor the broiler works. Changing these two parts did nothing to solve the problem. Do you know what I need to do now aside from replacing the whole oven/oven????
Our oven stopped working and has a 'F0' code that will not clear. I've shut off power and it worked again for about 20 seconds but the F0 reappeared and it won't reset again. One line of advice is to replace the clock (available-$197), but another says that it may be the touch pad (no longer available). I hate to buy the clock (non-returnable) only to find it's the touch pad. Any advice?
I have a 1982 Jenn Air electric drop-in unit with downdraft venting model D156W. The unit competely stopped working the other day (both oven and cooktop) and indicates an 'FO' code. Any idea what's up?
I have a free standing Jenn Air oven, model D156W, that is flashing "F1" with an audible beep at the display panel. I've hit cancel and sometimes it ceases for 30-40 sec then begins again. I've unplugged the oven hoping for a "reboot", but to no avail. I've opened the front access panel and disconnected the ribbon leads as well as all cannon style wiring harnesses, but nothing has altered the problem. What am I dealing with, and how do I correct it? Noble Anderson
I have a Jenn-Air slide-in electric oven/oven, Model D156W that was installed in 1994. It has now developed a problem where it randomly starts to beep. It sounds like morse code at times. It does not seem to make any sense as to why it is going off. If I press "Cancel", it will stop for a short while then continue on its crazy way. If the oven is "On", it will shut off when the beeping starts. If I continuously turn the oven back on it eventually stops beeping and I will be able to continue baking. It does not affect the electric burners on the top if the range. The clock/clock is not affected as well. Since this oven is over 14 years old is it worth the repair cost for parts and labor or should I start looking for a replacement?