Jenn-Air D156 Timer Repair

What is the timer/clock part number for the Jenn-Air D156 Range?

Timer part number 205983 for Jenn-Air D156

The D156 Range uses timer part number 205983.

Do you have a failed Jenn-Air D156 control panel? Click here:

Request Appliance Timer Service

We can repair or replace your faulty Jenn-Air D156 timer.

D156 are also sometimes referred to using these Alternative Names/Model numbers

Maytag D156 Range, Whirlpool D156 Range, D156B, D156W

D156 Schematic and Wiring Diagrams

Control panel (d156b, d156w) (d156b) (d156w) Parts diagram
D156 Range Control panel (d156b, d156w) (d156b) (d156w) Parts diagram
Control panel (d156) Parts diagram
D156 Range Control panel (d156) Parts diagram
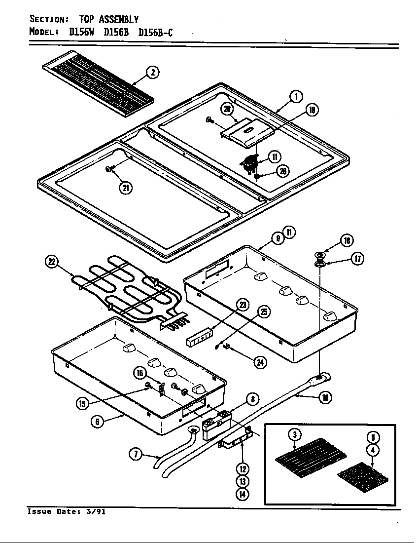
Top assembly (d156b & d156w) (d156b) (d156w) Parts diagram
D156 Range Top assembly (d156b & d156w) (d156b) (d156w) Parts diagram
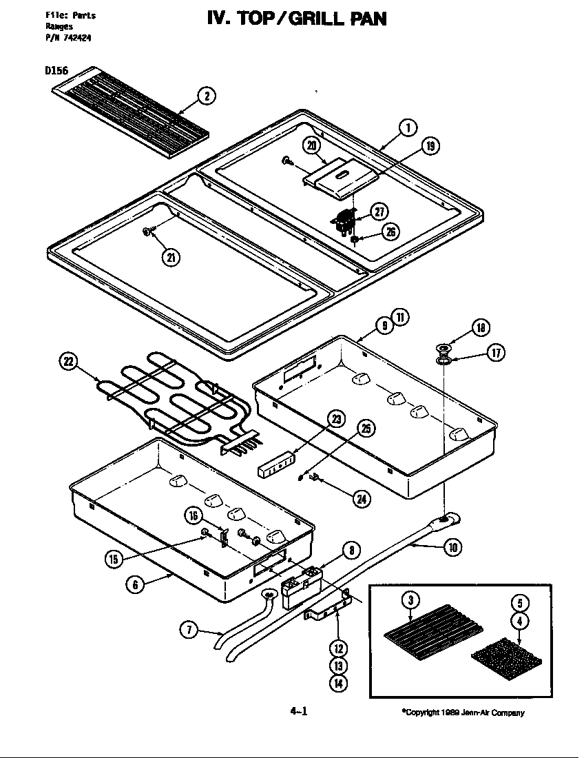
Top (d156) Parts diagram
D156 Range Top (d156) Parts diagram
Body (d156b & d156w) (d156b) (d156w) Parts diagram
D156 Range Body (d156b & d156w) (d156b) (d156w) Parts diagram
Body (d156) Parts diagram
D156 Range Body (d156) Parts diagram
Internal controls (d156b & d156w) (d156b) (d156w) Parts diagram
D156 Range Internal controls (d156b & d156w) (d156b) (d156w) Parts diagram
Internal controls (d156) Parts diagram
D156 Range Internal controls (d156) Parts diagram
Liner (d156b & d156w) (d156b) (d156w) Parts diagram
D156 Range Liner (d156b & d156w) (d156b) (d156w) Parts diagram
Oven liner (d156) Parts diagram
D156 Range Oven liner (d156) Parts diagram
Door (d156b & d156w) (d156b) (d156w) Parts diagram
D156 Range Door (d156b & d156w) (d156b) (d156w) Parts diagram
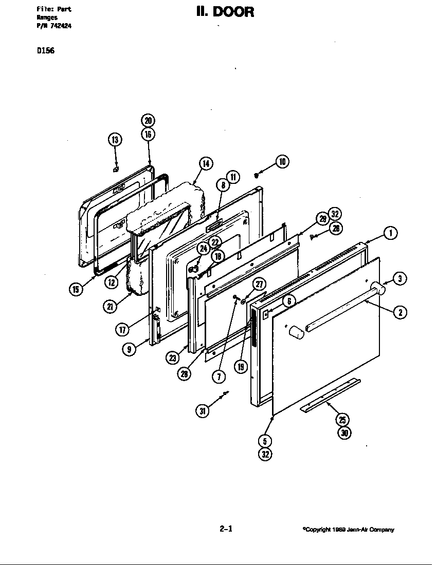
Door (d156) Parts diagram
D156 Range Door (d156) Parts diagram
Blower motor (cooling d156b & d156w) (d156b) (d156w) Parts diagram
D156 Range Blower motor (cooling d156b & d156w) (d156b) (d156w) Parts diagram
Blower motor-cooling fan (d156) Parts diagram
D156 Range Blower motor-cooling fan (d156) Parts diagram
Blower motor (convection d156b & d156w) (d156b) (d156w) Parts diagram
D156 Range Blower motor (convection d156b & d156w) (d156b) (d156w) Parts diagram
Blower motor-convection fan (d156) Parts diagram
D156 Range Blower motor-convection fan (d156) Parts diagram
Blower motor (blower/plenum d156b & w) (d156b) (d156w) Parts diagram
D156 Range Blower motor (blower/plenum d156b & w) (d156b) (d156w) Parts diagram
Blower motor-blower/plenum (d156) Parts diagram
D156 Range Blower motor-blower/plenum (d156) Parts diagram

Recent Service Requests

CityProblem DescriptionResolution
Philadelphia, PennsylvaniaStove beeps, Code F4 appears even if oven not operating. On at least one occasion, with oven on, the oven stopped heating when error code came on. After the code was cleared, oven operated normally.

If a new part is not available, we will consider repair of our timer or purchase of a reconditioned timer.
Repaired
Wrightsville Beach, North CarolinaWhen oven is on after a few minutes it beeps F4 and cannot turn back on. Hours later still can't turn on F4 and sometimes goes off hours later after it's turned off. Also when I cook on stovetop it beeps F4 and sometimes F2 and I turn it off but can still cook on stovetop -it beeps hours later also. Can come on in middle of night sometimes too!Awaiting receipt of timer
Wrightsville Beach, North CarolinaWhen oven is on after a few minutes it beeps F4 and cannot turn back on. Hours later still can't turn on F4 and sometimes goes off hours later after it's turned off. Also when I cook on stovetop it beeps F4 and sometimes F2 and I turn it off but can still cook on stovetop -it beeps hours later also. Can come on in middle of night sometimes too!Awaiting receipt of timer
UTICA, MichiganLED Display intermittently goes blank.Repaired
UTICA, MichiganLED Display intermittently goes blank.Repaired
Platte City, MissouriWhat is the cost for both a new timer and repaired timer?Awaiting receipt of timer
Chula Vista, CaliforniaIt is my mother's oven timer. I'm not that familiar with it. The clock doesn't work and the oven does not come on. Apparently, it has been this way for a long time.

David Ramm
davidramm619@yahoo.com
(619) 869-0487
Repaired
Topsham, MaineDisplay occasionally goes black and oven does not work. Banging the oven door hard revives the display for now.Repaired
Colchester, Vermontwhen oven is turned on you hear a click in the back of the stove and a few seconds later another click .Oven does not heat up at all.Repaired
Rochester, New YorkF1 code - can't stop the beeping.Awaiting receipt of timer
Decatur, GeorgiaI have a very old Jenn-Air drop-in oven (electric).
The oven is no longer working. It turns on for a few seconds and then abruptly shuts itself off. I've been told by 2 local appliance technicians that the control panel is no longer functioning, thus causing this issue. This issue started several weeks ago.
The range/stove works fine with no problems.
Repaired
Sorrento, British ColumbiaTimer/temperature dial rarely works. It feels smooth and clicks with every turn, but the oven does not register that it is being turned. Occasionally it will register and the oven will turn on at 320 or 330, but it is impossible to change the temperature as getting the dial to register being turned 2+ times in a row is extremely unlikely. Part select number: PS1754943Repaired
WOODBINE, GeorgiaHeating elements work even though there is constant beeping with F1 code. Sometimes I can get it to stop by turning on the timer. The oven will not stay on, goes to F1 code intermittently. The broiler usually works when timer is on. Have to use breaker switch when not using stove elements.Awaiting receipt of timer
Chateauguay, QuebecOven not turning on..or if does turn on...shut off by itselfRepaired
Chateauguay, QuebecOven not turning on..or if does turn on...shut off by itselfRepaired
Seal Beach, CaliforniaOven starts to heat for 10 seconds and then shuts off.Awaiting receipt of timer
Miami Springs, FloridaOven will start and then shut off with fault code F0, intermittent failure, clock will flash and keep time, but cannot setAwaiting receipt of timer
Lake Ronkonkoma, New YorkSelf cleaning of oven operation failedAwaiting receipt of timer
Wildomar, CaliforniaNo display.Awaiting receipt of timer
Midland, Texastimer will randomly begin beeping, resetting the oven each time.Awaiting receipt of timer

Common problems for Jenn-Air D156 Timer Repair

Are you encountering a similar problem as them? Contact us now and we will try to help you fix your D156 timer-related problem.
While using the oven, my oven would jump into the Clean Cycle all by itself. I would hit Cancel and reprogram the oven. A short while later it woul do it again. It got progressively worse until it was unusable. Sometimes it would start beeping and flash F1 error code. I purchased and changed the computer. This made the problem better but did not eliminate it. It got progressively worse again and is now unusable. On one of the diagrams, I saw a heat shield, but the oven did not have one. I purchased and installed the sheild when I installed the new computer. The problem still exists. Can anybody help me?
When I turn the oven on e.g. 350, the oven indicator displays 140 pre-heat for about 45 seconds and goes off. Does not display any error messages. The broiler does the same. Both the heating elements are warm to touch but that's all. We have replaced the oven sensor and the transformer relay board part number Y040100260 and still the oven nor the broiler works. Changing these two parts did nothing to solve the problem. Do you know what I need to do now aside from replacing the whole oven/oven????
Our oven stopped working and has a 'F0' code that will not clear. I've shut off power and it worked again for about 20 seconds but the F0 reappeared and it won't reset again. One line of advice is to replace the clock (available-$197), but another says that it may be the touch pad (no longer available). I hate to buy the clock (non-returnable) only to find it's the touch pad. Any advice?
I have a Jenn Air oven, model #D156. I got a code F0 and the repairman said he thinks it is the control touch panel. My husband thinks it might be the thermal switch. We have had no electricity to the range for 24 hours and when the range is turned on after that, the oven will work for a short period of time. The oven part works. Can you give me some insight?
model D156 control panel beeps constant, F0 & F1 rotate on the control panel all the time, oven is 50 degrees too cool.
My Jenn Air range Model D156 beeps intermittently. It beeps when the oven is not on, and it beeps when the elements are not on. If the oven is on and it beeps, it turns the oven off. It does not turn off the elements if they are on when it beeps.
I own a Jenn Air electric range model number D156, SN 227787FF. When the oven is used in all modes of operation, the range within a few minutes starts making beeping noises and it stops cooking ( the oven heating elements stop heating) . I tried resetting the power breaker but within seconds it starts making the beeping noise and cuts the power off to the internal oven heating element. Can you help me figure out what is causing this problem. Please note that no error codes are noted on the keypad. My thoughts is that the computer section is going bad and I got a local parts supplier provide me a quote for replacing it - part no. Y04100262 cost is $212. What is your expert adivce for correcting my range problem. I would need to know the parts that I need to purchase and a pdf file of my range so I can make the repair. Regards, Z. Andreou XXX-XXX-XXXX
I have a Jenn-Aire oven model #D156. The control panel beeps constant, F0,F1 rotate back and forth all the time. Also the oven is 50 degrees too cool. Can you give an answer to my prolem please?
We have just bought a used jenn-air oven (model d156). Everything works but the fan. Is the fan in the unit or is it separate. There was a plug hanging down underneath that does not plug in anywhere. Any help is greatly appreciated. Thank you Jon
I have a Jenn-aire electric oven, Model D156, bought in 1992--drop-in style. Recently, an alarm sounded and F1 was flashing. I canceled it. It occurred a second time and I called an appliance dealer. I was advised to reset the circuit breaker. I had a maintenance man come out (he did not seem very experienced). He felt that it was the control panel and recommended I buy a brand new oven. Any advice?
I have a 1982 Jenn Air electric drop-in unit with downdraft venting model D156W. The unit competely stopped working the other day (both oven and cooktop) and indicates an 'FO' code. Any idea what's up?
I have a free standing Jenn Air oven, model D156W, that is flashing "F1" with an audible beep at the display panel. I've hit cancel and sometimes it ceases for 30-40 sec then begins again. I've unplugged the oven hoping for a "reboot", but to no avail. I've opened the front access panel and disconnected the ribbon leads as well as all cannon style wiring harnesses, but nothing has altered the problem. What am I dealing with, and how do I correct it? Noble Anderson
I have a Jenn-Air slide-in electric oven/oven, Model D156W that was installed in 1994. It has now developed a problem where it randomly starts to beep. It sounds like morse code at times. It does not seem to make any sense as to why it is going off. If I press "Cancel", it will stop for a short while then continue on its crazy way. If the oven is "On", it will shut off when the beeping starts. If I continuously turn the oven back on it eventually stops beeping and I will be able to continue baking. It does not affect the electric burners on the top if the range. The clock/clock is not affected as well. Since this oven is over 14 years old is it worth the repair cost for parts and labor or should I start looking for a replacement?
I have a Jenn AIr oven model JES 9860AAW , serial 17121990ZS . The touch pad(s) for #9 / #0 / convect roast do not function .Would this be the touch pad , the clock , or some other problem ?
My electric dryer stopped getting hot at all. I have checked the following for continuity. I'm an electrical engineer so I will understand electrical terminology. 1. both 120 phases present at dryer 2. Heating coil reads about 12 ohms across it one wire removed to isolate. 3. High Limit thermostat reads zero ohms 4. Smaller thermostat at side of heater assembly reads zero ohms. 5. Thermostat in blower assembly reads about 22K across heating element and zero ohms through switch. 6. Could not find non-resetable fuse but door light and switch work properly which are fed through this fuse. Assume its OK then. 7. clock seems to work properly no loose wires or open wires to any of the upper panel controls. Problem - still don't know why dryer will hot get hot. No 120VAC to heating element. The lint area was a bit clogged so I assumed the thermostat in the lower blower assembly was blown. Replaced with one that reads about 6K across heater (not exact replacement) but dryer still does not get
I changed my battery and now need the code for radio:PHILIPS model No 22DC277/62D156 SecurityRN277F40450388PROD No FD03041004503888200256141TD156
My dryer started squealing slightly here and there when I would turn it on. Now, it is continuous! My husband seems to think we need to replace the dryer belt however I saw on anther post someone suggested replacing the rollers? Any additional advise? Welchgirl
what des error cde F1 mean on a Jenn-Air D156 drp-in oven
Help me for free drivers for Hp printer d1560 free drivers for Hp printer d156very urgent, please!
Jenn Air oven Model D156 won't turn on I have a Jenn Air slide in oven/oven. The oven will not turn on. When I press button and set temperature the control panel light flips to prebake and nothing happens from that point on. Any suggestions?
I have a Jenn-Air electric oven and the clock doesn't work so my wife cannot use the time bake on the oven. Is there anything else that could be wrong besided just the clock. How is it repaired.
how do you change clock on washing machine? can't get front knob off.
i just replaced my clock. my clock is also a push to start. when i select the dryer setting the clock works. but when i press the clock in to start the tumbler it dosent start.
I have a JennAir Model D156 that I recently replaced the bake element. When this element went out it also tripped the breaker. When turning on the oven, the display states that it is pre heating, but does not. Is there any other elements that could have blown at the same time, if so, which one(s) and how to test if these are good or not?