Caloric Electric Range CST6512WW Timer Repair

What is the timer/clock part number for the Caloric CST6512WW Electric Range?

Timer part number 31-315570-07-0 for Caloric CST6512WW

The CST6512WW Electric Range uses timer part number 31-315570-07-0.

Do you have a failed Caloric CST6512WW control panel? Click here:

Request Appliance Timer Service

We can repair or replace your faulty Caloric CST6512WW timer.

CST6512WW are also sometimes referred to using these Alternative Names/Model numbers

Amana CST6512WW Electric Range, Whirlpool CST6512WW Electric Range, CST6512WW-P1143841NWW

CST6512WW Schematic and Wiring Diagrams

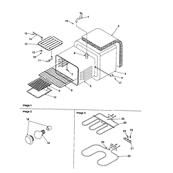
Cabinet Parts diagram
CST6512WW Electric Range Cabinet Parts diagram
Cavity Parts diagram
CST6512WW Electric Range Cavity Parts diagram
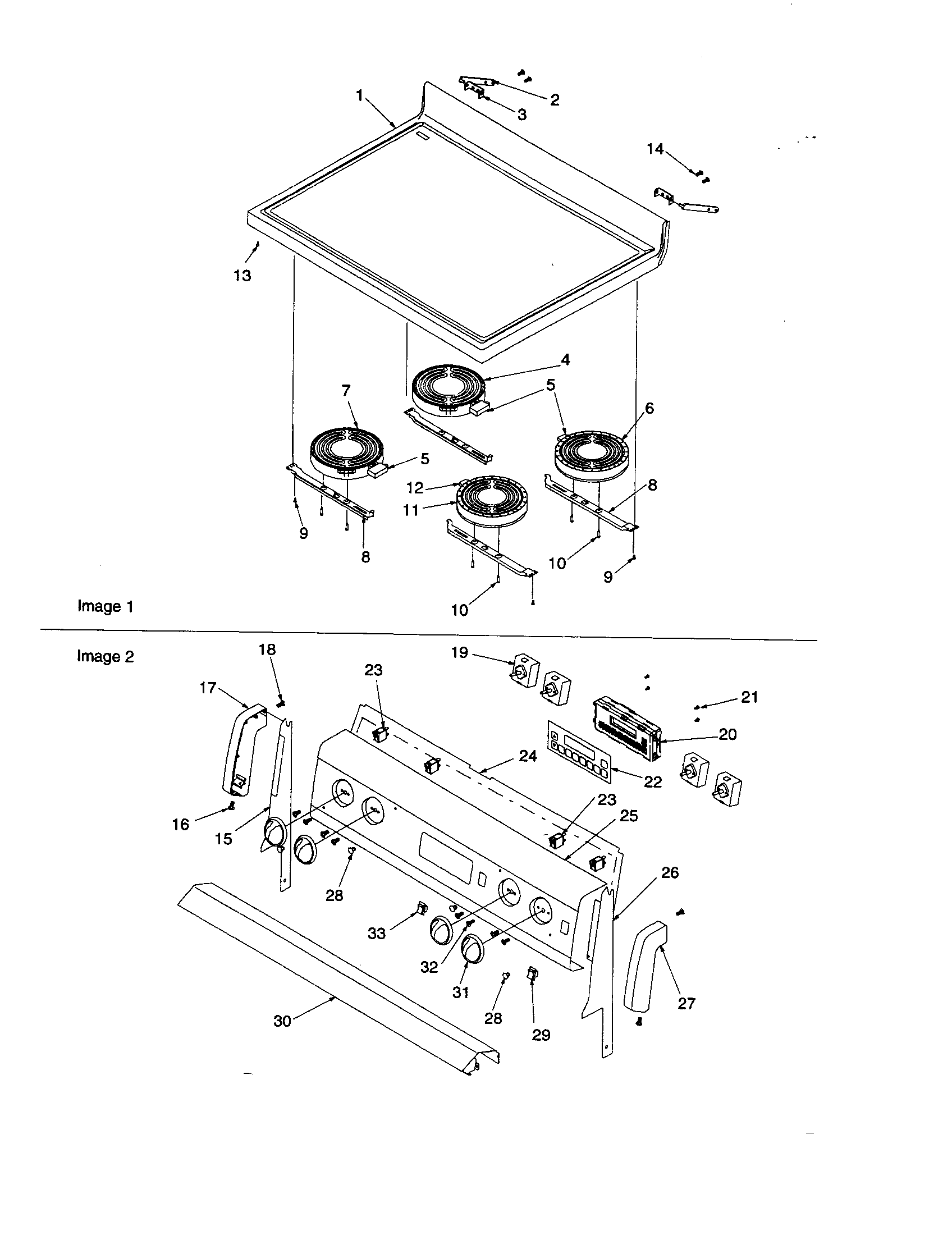
Maintop and backguard Parts diagram
CST6512WW Electric Range Maintop and backguard Parts diagram
Oven door and storage door Parts diagram
CST6512WW Electric Range Oven door and storage door Parts diagram

Recent Service Requests

CityProblem DescriptionResolution
Central Valley, UtahDisplay went out--no touch buttons work. Confirmed that there was power to the timer unit.Repaired

Common problems for Caloric Electric Range CST6512WW Timer Repair

Are you encountering a similar problem as them? Contact us now and we will try to help you fix your CST6512WW timer-related problem.
replaced element and need wireing diagram to hook up new one
Refrig light was off and inside was hot when I opened door. Freezer was also getting warmer. I unplugged it and then plugged it back in after a few minutes. I pressed turbo cool and temp in freezer and refrig cooled back to normal after a few hours. Light in refrig then went on fine when door was opened. Same thing happened the next day. Everything has been ok for last 3 days but I don't ever hear the usual clicking sounds that the refrig used to make. What could be happenning? Should I call for service?