Frigidaire Electric Range CPLEF398CCB Timer Repair

What is the timer/clock part number for the Frigidaire CPLEF398CCB Electric Range?

Timer part number 316207600 for Frigidaire CPLEF398CCB

The CPLEF398CCB Electric Range uses timer part number 316207600.

Do you have a failed Frigidaire CPLEF398CCB control panel? Click here:

Request Appliance Timer Service

We can repair or replace your faulty Frigidaire CPLEF398CCB timer.

CPLEF398CCB are also sometimes referred to using these Alternative Names/Model numbers

Electrolux CPLEF398CCB Electric Range, CPLEF398DCL, CPLEF398DCH, CPLEF398DCK, CPLEF398DCJ, CPLEF398DCE, CPLEF398DCD

CPLEF398CCB Schematic and Wiring Diagrams

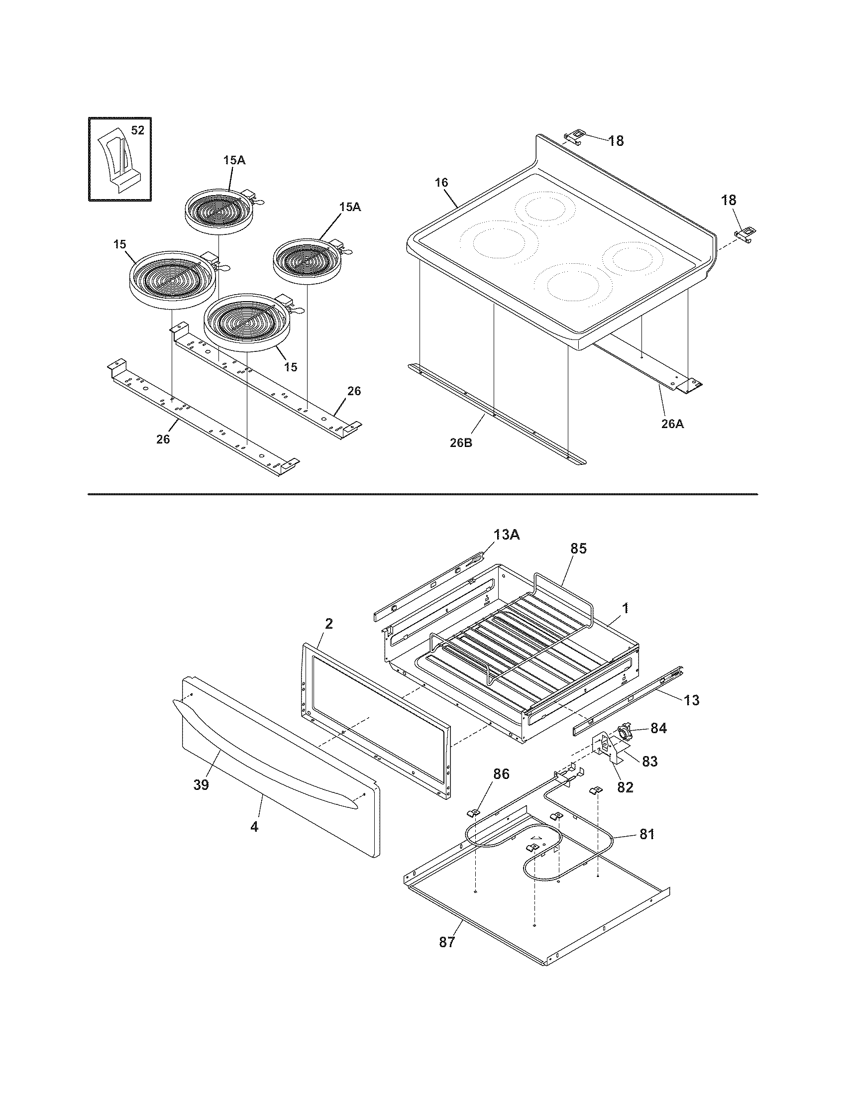
Backguard Parts diagram
CPLEF398CCB Electric Range Backguard Parts diagram
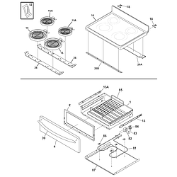
Body Parts diagram
CPLEF398CCB Electric Range Body Parts diagram
Top/drawer Parts diagram
CPLEF398CCB Electric Range Top/drawer Parts diagram
Door Parts diagram
CPLEF398CCB Electric Range Door Parts diagram

Recent Service Requests

CityProblem DescriptionResolution
Tillsonburg, OntarioThis Request Service form is for the timer delivered to you in person by Carl Jailall on Monday, August 16, 2010. If it is not repairable, please check your inventory to see if you have one in stock.
Please inform me when it is ready (by phone or by email at ) and Carl will pick it up in person to avoid shipping charges.
Thanks!
Repaired
Cambridge, OntarioStuck on code F09, beep. Will not reset using cancel button, nor after power removed for hours. Door motor replaced with no change in error. Cancel button operates door lock motor, but returns to F09 error with beep. Thank you.Repaired
St. Catharines, Ontariowhen I set the oven to bake at 400 F or down to 350 F, the controls read out clicks to "PF". The stove still works. I checked the back of the range, and all the connections seem good. I have turned the power from the breaker for 15 min, and then tried again with the same result. I'll press clear a few seconds after the oven trips out on "PF", and then try again, and it fails again.Awaiting receipt of timer
KELOWNA, British ColumbiaError message will come on within 5-7 hours after main power breaker is turned back on. Number selection for temperature very sensitive and usually takes a few attempts to set the desired temp.Timer inspected, no repairs necessary
Ottawa, OntarioDisplay shows broiling or baking (convection too) in progress but the broil or bake elements (both in good condition) do not heat up. Not sure if the part number is correct. Most of the previous repairs quoted 316207620. However your webpage stated "The CPLEF398CCB Electric Range uses timer part number 316207600."Repaired
Ottawa, OntarioDisplay shows broiling or baking (convection too) in progress but the broil or bake elements (both in good condition) do not heat up.
Not sure if the part number is correct. Most of the previous repairs quoted 316207620. However your webpage stated "The CPLEF398CCB Electric Range uses timer part number 316207600."
Repaired
carleton place, Ontariooven dose not workRepaired
Sainte-Julie, QuebecTop heaters working, oven not working.Awaiting receipt of timer
Waterloo, OntarioAll lights are ON and the touch panel doesn't work. Can't touch any button.Awaiting receipt of timer
Caledonia, OntarioHeard a pop and puff of black smoke and now portions of the timer no longer function. Can only heat oven to 170 as number pad is non-functional.Timer inspected, no repairs necessary
Delson, QuebecPF code when trying to use the Oven. i tcheck the current 240v, the resistance of 3 oven Elements, everything is good. i reset the EOC, then the timer starts beeping and F9 code flashing. i did look a at my door latch. its closing and opening none stop. i tested my NC and NO switch on door latch actuator, everything is working fine (current is there and switch is doing there job). i am now at the EOC.... that all there is left.Repaired
CALGARY, AlbertaThe oven / range stopped workinng altogether. The burners stopped heating up.Replaced with new in-stock timer
Collingwood, OntarioF9 fault will not reset. not allowing complete oven to be used. I installed my old time which the oven section was no good this has allowed me to use top plates and warm drawer. door lock seems to be working properly.Repaired
Burlington, OntarioOven is not heating upReplaced with new in-stock timer
Burlington, Ontarioclock burnt, customer reported smoke out of the panelReplaced with new in-stock timer
Calgary, Albertaboth the bake and broil elements don't turn on. I'm suspecting the problem is with the relay on the circuit board.Replaced with new in-stock timer
Calgary, AlbertaBroil and Bake elements won't come on.Replaced with new in-stock timer
Calgary, AlbertaOven won't turn on.Replaced with new in-stock timer
Longueuil, QuébecMy oven doesn't heat, the timer is off. All the burners work fine.Replaced with new in-stock timer
Waterloo, OntarioTIMER SPARKED, BOARDS ARE BURNTReplaced with new in-stock timer

Common problems for Frigidaire Electric Range CPLEF398CCB Timer Repair

Are you encountering a similar problem as them? Contact us now and we will try to help you fix your CPLEF398CCB timer-related problem.
i have a frigidaire cplef398ccb range, the oven does not heat up. everything else looks like it works fine
electronic range model # XXXXX serial number vf31936088 When I used the large front right element I realised during the setting at 2.4 the small element was red all the time I put the setting to OFF and the element still RED. don't want to stop... I must go to the breaker box to stop it.
Hell, I have an Electric oven ES400 controls...model #CPLEF398CCB, and the front right hand burn is stuck on high. I have to unplug it... can you help me please???
i am getting an error code "oc" on my display panel on my Frigidaire electric range. model number Cplef398ccb. It was in the cooking stage and then the power tripped from the main board and when i went to turn the unit back on it beeped. i hit clear and kept showing 'oc' oven top works find but i cannot press any buttons on the display for the oven. . . any suggestions?
Hi there, I have a Frigidaire electric oven model # XXXXX The range top works, but the oven/convection does not work at all! We have replaced the burners but that didn't work! Please help :)
I have a Frigidaire range Model # XXXXX While using range and rangetop heard a popping noise and the control pad is now off. The rangetop still works but the oven doesn't as the contol pad is inoperable. Is there an internal fuse that I can check, or what might be the problem.
model#CPLEF398CCB electric oven problem-right hand front element (dual surface radiant element)large element works on/off with dial.small element does not shut off at all.(shut off breaker) is this a result of a potentiometer control (dual) or hot surface sence switch or P12 power board or surface indicator or power board. could you please reply to me by e-mail thx XXX@XXXXXX.XXX
Frigidaire cplef398ccb Flashing F7 Re my Frigidaire cplef398ccb oven, it clicks whenever I touch the door sounds like relays clicking. Would that indicate the EDC needs replacing, I don't want to replace the wrong part.
F7 code and beeping I have a problem with my Frigidaire cplef398ccb range beeping and showing a F7 code.
So, I am cooking dinner on oven up top, and decide to add some bread below, so I preheat the oven, the clock counts down, but starts disapearing and coming back.... oven does not heat up....later I pulled the Oven out and notice the power cord barely in, so I plug it in, hoping that's the issue, still no heat up, clock clock, top range work fine, I don't have any kitchen power out, so no fuse is out, is there something I can check on this oven without having to call out a repairman... could it be the heating elements (both do not warm) or something else? any help would be appreciated!
Frigidaire cplef398ccb Flashing F7 My oven clicks when I touch the door, it sounds like relays clicking. Would that indicate that it is the EDC that needs replacing, I had origanally thought it was the EOC? Thanks
Programming a 2006 Pontiac Gran Prix Keyless remote I just need the programming instructions of a GM/L:22733523
I have a Frigidaire oven Model CPLEF398CCB. My daughter was baking muffins and it went stopped. The whole panel doesn't indicdate. When I turn an element on it indicates an F6 error. From my research Version 1 says replace EDC, Version 2 through 4 says replace EOC. I assume that EOC, sans for Eletronic Oven Control, but not sure what EDC is. Your help and possible part numbers would be appreciated. thanks, Brent