Thermador Convection Oven CMT231EC Timer Repair

What is the timer/clock part number for the Thermador CMT231EC Convection Oven?

Timer part number 1429937 for Thermador CMT231EC

The CMT231EC Convection Oven uses timer part number 1429937.

Do you have a failed Thermador CMT231EC control panel? Click here:

Request Appliance Timer Service

We can repair or replace your faulty Thermador CMT231EC timer.

CMT231EC are also sometimes referred to using these Alternative Names/Model numbers

Bosch CMT231EC Convection Oven

CMT231EC Schematic and Wiring Diagrams

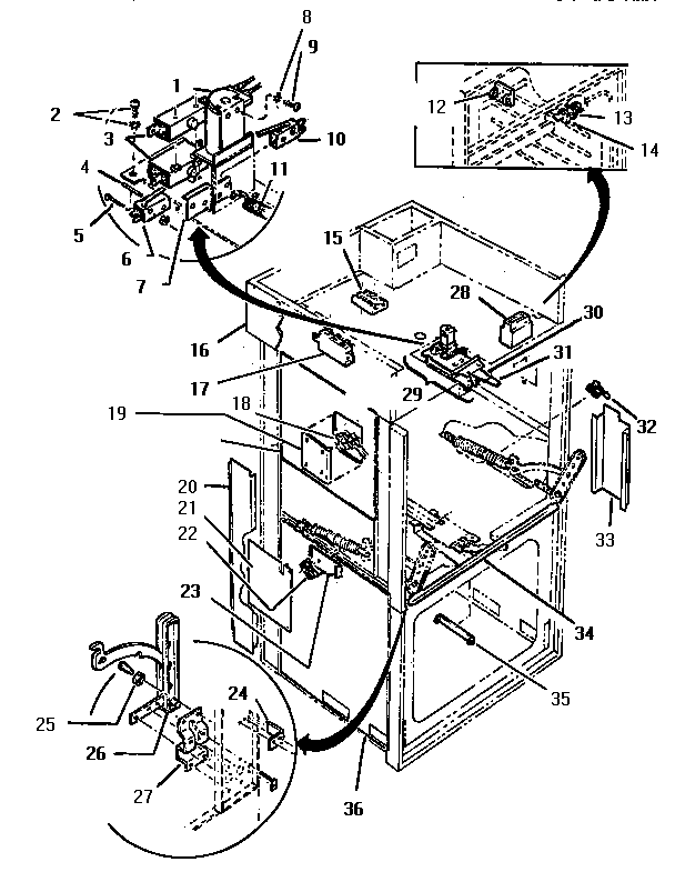
Switches & additional Parts diagram
CMT231EC Convection Oven Switches & additional Parts diagram
Body & accessory Parts diagram
CMT231EC Convection Oven Body & accessory Parts diagram
Power & related Parts diagram
CMT231EC Convection Oven Power & related Parts diagram
Control panel Parts diagram
CMT231EC Convection Oven Control panel Parts diagram
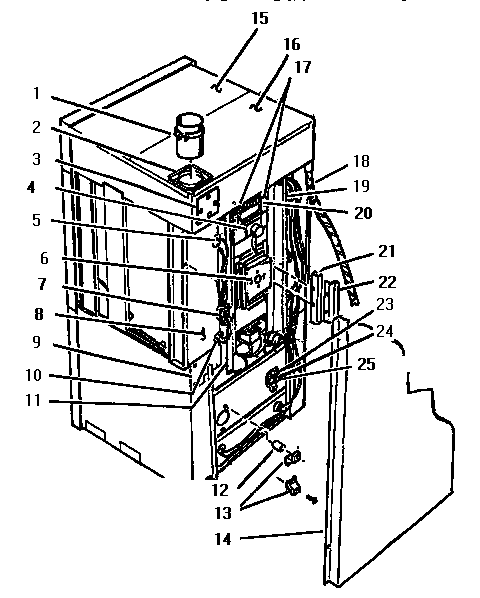
Body, rear Parts diagram
CMT231EC Convection Oven Body, rear Parts diagram
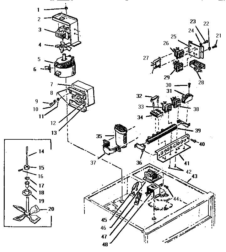
Convection blower assembly Parts diagram
CMT231EC Convection Oven Convection blower assembly Parts diagram
Blower assembly Parts diagram
CMT231EC Convection Oven Blower assembly Parts diagram
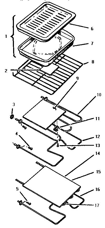
Rack, elements & pan Parts diagram
CMT231EC Convection Oven Rack, elements & pan Parts diagram
Microwave oven door, upper Parts diagram
CMT231EC Convection Oven Microwave oven door, upper Parts diagram
Oven door, lower Parts diagram
CMT231EC Convection Oven Oven door, lower Parts diagram
Europa ec cmt231 Parts diagram
CMT231EC Convection Oven Europa ec cmt231 Parts diagram

Common problems for Thermador Convection Oven CMT231EC Timer Repair

Are you encountering a similar problem as them? Contact us now and we will try to help you fix your CMT231EC timer-related problem.
My oven is not heating to temperature and not at all evenly. It is 22 hrs old......but it's a double oven and I sure don't want to just dump one of the twp