Amana Slide-In Electric Range ARTS6651WW Timer Repair

What is the timer/clock part number for the Amana ARTS6651WW Slide-In Electric Range?

Timer part number 315570 for Amana ARTS6651WW

The ARTS6651WW Slide-In Electric Range uses timer part number 315570.

Do you have a failed Amana ARTS6651WW control panel? Click here:

Request Appliance Timer Service

We can repair or replace your faulty Amana ARTS6651WW timer.

ARTS6651WW are also sometimes referred to using these Alternative Names/Model numbers

Whirlpool ARTS6651WW Slide-In Electric Range, ARTS6651E-P1143903NE, ARTS6651WW-P1143903NWW, ARTS6651CC-P1143903NCC

ARTS6651WW Schematic and Wiring Diagrams

Cabinet Parts diagram
ARTS6651WW Slide-In Electric Range Cabinet Parts diagram
Cavity Parts diagram
ARTS6651WW Slide-In Electric Range Cavity Parts diagram
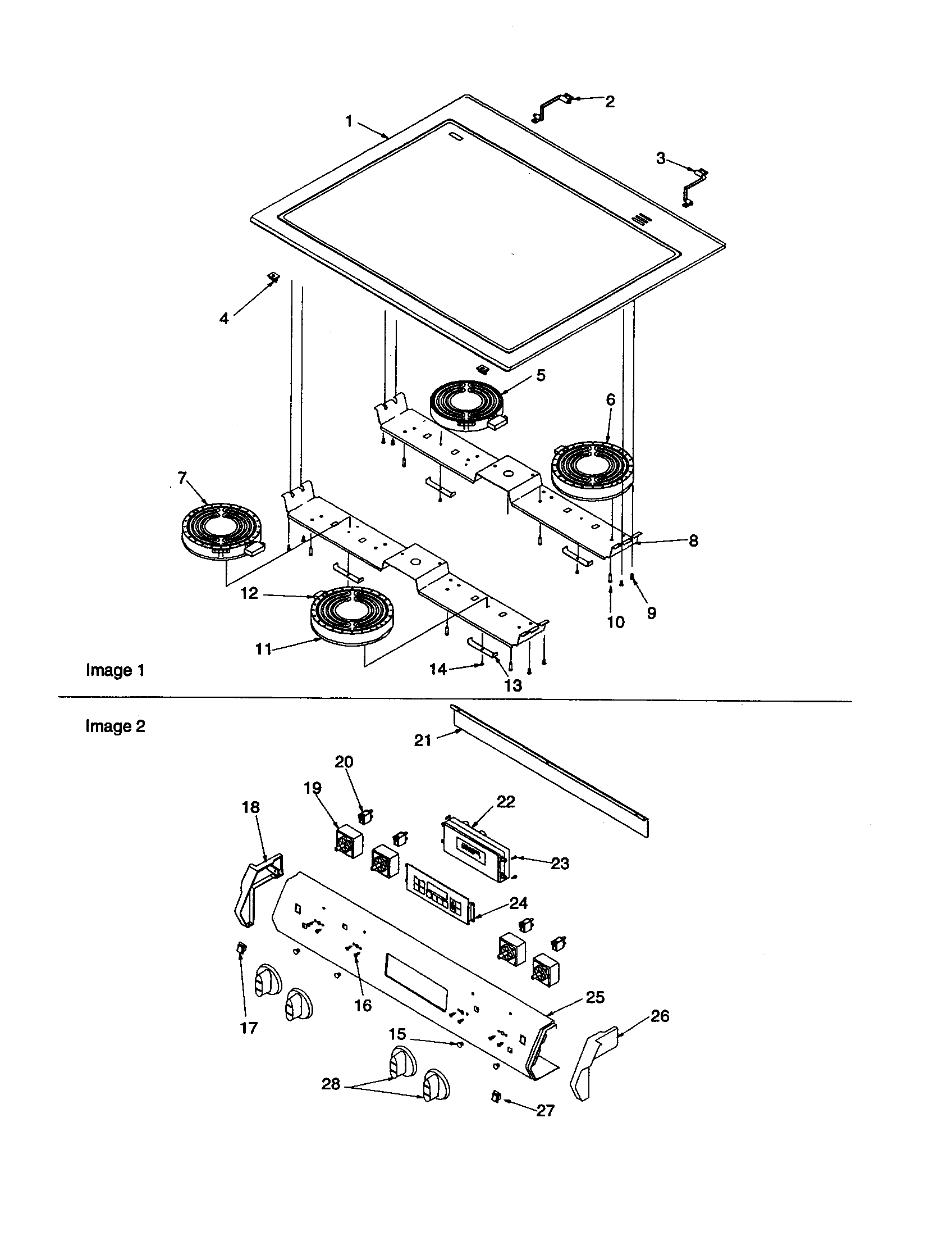
Main top and backguard Parts diagram
ARTS6651WW Slide-In Electric Range Main top and backguard Parts diagram
Oven door and storage drawer Parts diagram
ARTS6651WW Slide-In Electric Range Oven door and storage drawer Parts diagram

Recent Service Requests

CityProblem DescriptionResolution
Evans, GeorgiaThere is no oven power, no failure code on display. All breakers and fuses have been checked.Repaired

Common problems for Amana Slide-In Electric Range ARTS6651WW Timer Repair

Are you encountering a similar problem as them? Contact us now and we will try to help you fix your ARTS6651WW timer-related problem.
I have an Amana arts6651ww smooth top oven. The oven portion does not heat up correctly and then will not cool down or shut off when the button is pushed to shut it off. I know I need a new heating element, but what would cause the oven to not shut off ?
I have an Amana Electric Smoothtop oven Model ARTS6651WW and the oven does not work. I have reset the breaker and still no power. There is no lights on the display.