Amana Slide-In Electric Range ARTS6651E Timer Repair

What is the timer/clock part number for the Amana ARTS6651E Slide-In Electric Range?

Timer part number 31-315570-07-0 for Amana ARTS6651E

The ARTS6651E Slide-In Electric Range uses timer part number 31-315570-07-0.

Do you have a failed Amana ARTS6651E control panel? Click here:

Request Appliance Timer Service

We can repair or replace your faulty Amana ARTS6651E timer.

ARTS6651E are also sometimes referred to using these Alternative Names/Model numbers

Whirlpool ARTS6651E Slide-In Electric Range, ARTS6651E-P1143903NE

ARTS6651E Schematic and Wiring Diagrams

Cabinet Parts diagram
ARTS6651E Slide-In Electric Range Cabinet Parts diagram
Cavity Parts diagram
ARTS6651E Slide-In Electric Range Cavity Parts diagram
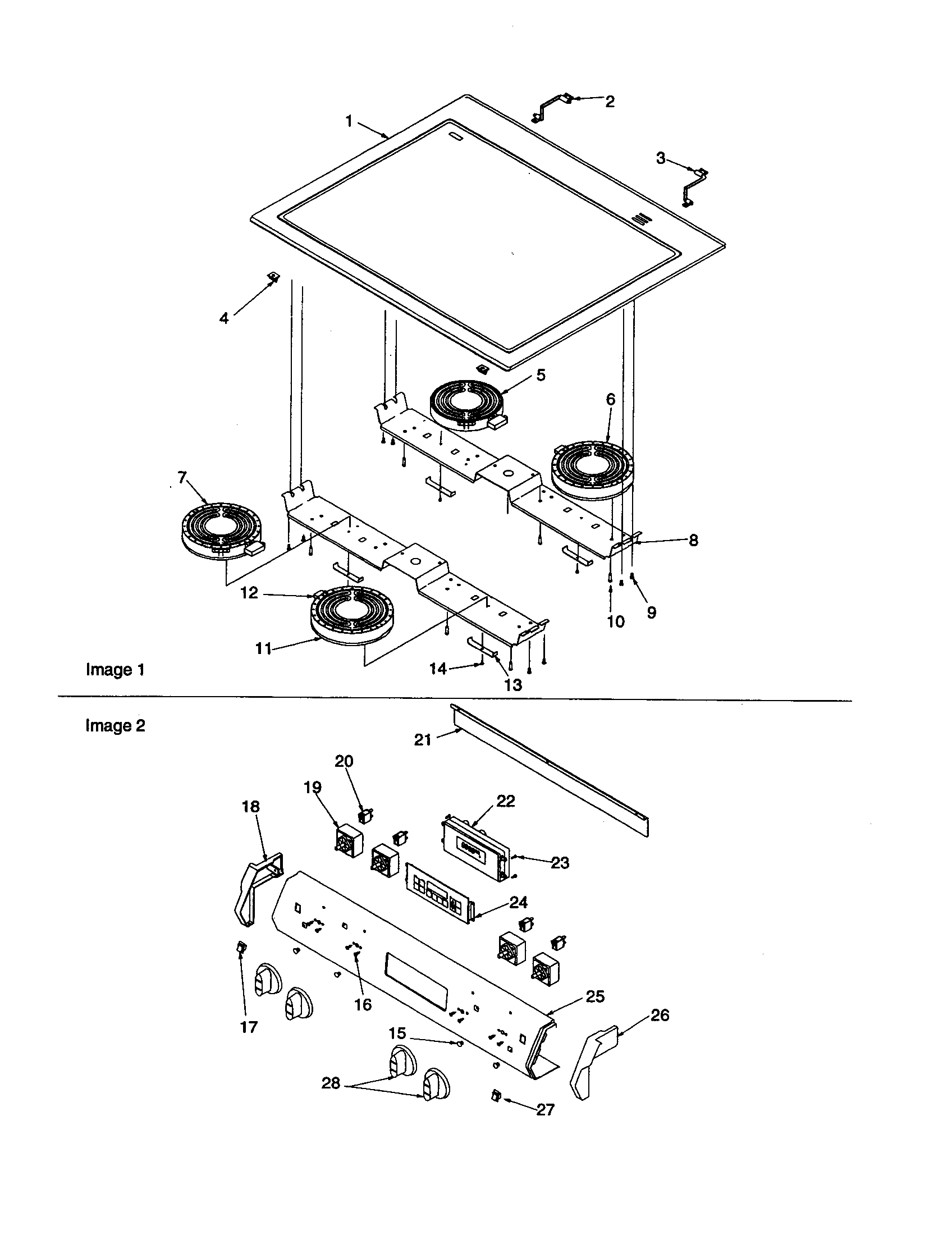
Main top and backguard Parts diagram
ARTS6651E Slide-In Electric Range Main top and backguard Parts diagram
Oven door and storage drawer Parts diagram
ARTS6651E Slide-In Electric Range Oven door and storage drawer Parts diagram

Recent Service Requests

CityProblem DescriptionResolution
New Orleans, LouisianaThe timer shuts down oven.Awaiting receipt of timer
Hastings, NebraskaThe timer itself is fine--it's the face plate that broke through that holds the timer to the front of the Amana stoveAwaiting receipt of timer
EASTHAMPTON, MassachusettsTHE OVEN GOES UP TO TEMP BEEPS COOKS THEN AT SOME POINT SHUTS OFF TIME BLINKS. AT THIS POINT YOU CAN RESET AGAIN AND IT REPEATS THE TIME IT ACTUALLY COOKS VARIES. IF YOU CAN NOT FIX THIS ONE CAN YOU SEND ME A RECONDITIONED ONE?Repaired
Greeley,, Coloradonothing on display and both oven burners stay on full they don't cut back.Beyond Repair

Common problems for Amana Slide-In Electric Range ARTS6651E Timer Repair

Are you encountering a similar problem as them? Contact us now and we will try to help you fix your ARTS6651E timer-related problem.
I have a signed, numbered, limited edition art print that came with a certificate of authenticity. I want to donate it to a local charity for auction. How do I transfer the certificate what has my name on it?Thanks
Are IRA distributions to an individual protected from judgement under Nevada state law?
I have an print by W. T. Dannat, which I assume, from the depth of the impression and density of the ink, is an etching. It is the same image of a young Spaniard drinking wine that appears in the Mariani Album (?), but more finely drawn, with a background, and an earthenware jare instead of a bottle. There is a signature and date (1883) also printed, and a signature in pencil in the bottom right hand corner "Xavier La Sueur". P. S. The image I sent is not of the etching, but of the page from the album, showing the identical figure, apart from the differences I mentioned. Thanks
Gentlemen: We have a 8 year old amana model ARTS6651CC. We have had problems ever since we owned this oven. The time pad blinks, then stops. We push bake, set time. The oven stays on for a couple minutes then goes off. We push bake again and the pad goes completly blank. We cannot get anything no matter what we push, screen stays blank. If we let set, sometimes an hour or more the screen lights up. We then push bake, sometimes oven works. If we let set again and go back later and hit bake, everything works. Once oven hits correct temp we have no problem tii we shut off oven. This is really wearing on my wif's nerves. Can you help. Thanking you in advance, Fred
i lost my password XXXXX using assigned one..am writing about frequent urination problem..had knee surgery in March Dr. now recommends hip surgery in January..I am leary..I am takinG BENICAR,,,LEVOTHYROXINE...WARFARIN...DIGOXIN...METROPOL,,,ACIPHEX...TYLENOL...HYDROXONE...CALTRATE...AND THANKS AGAIN...LIANA FIGONE