Amana Slide-In Electric Range ARTS6651CC Timer Repair

What is the timer/clock part number for the Amana ARTS6651CC Slide-In Electric Range?

Timer part number Y0315750 for Amana ARTS6651CC

The ARTS6651CC Slide-In Electric Range uses timer part number Y0315750.

Do you have a failed Amana ARTS6651CC control panel? Click here:

Request Appliance Timer Service

We can repair or replace your faulty Amana ARTS6651CC timer.

ARTS6651CC are also sometimes referred to using these Alternative Names/Model numbers

Whirlpool ARTS6651CC Slide-In Electric Range, ARTS6651E-P1143903NE, ARTS6651CC-P1143903NCC, ARTS6651WW-P1143903NWW

ARTS6651CC Schematic and Wiring Diagrams

Cabinet Parts diagram
ARTS6651CC Slide-In Electric Range Cabinet Parts diagram
Cavity Parts diagram
ARTS6651CC Slide-In Electric Range Cavity Parts diagram
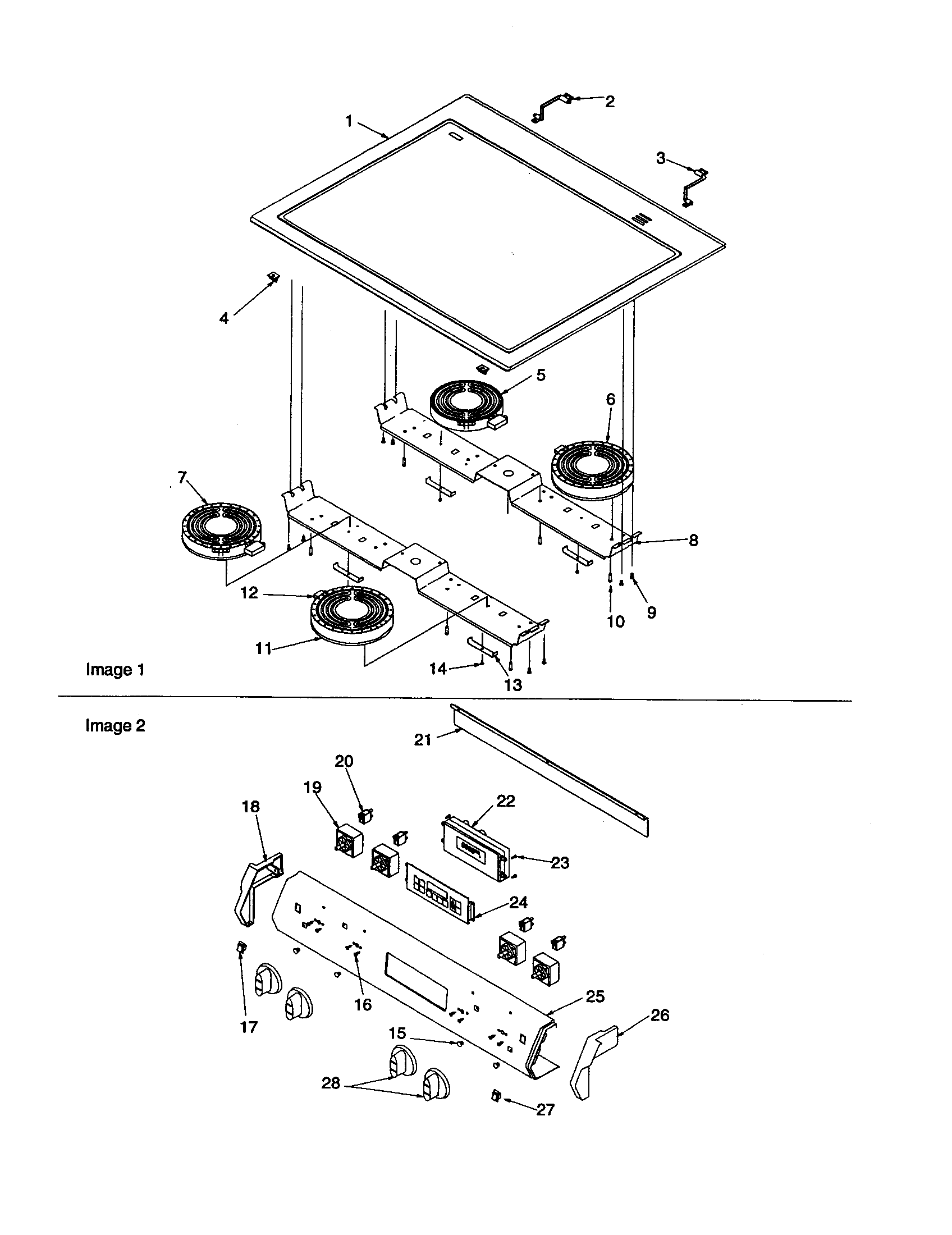
Main top and backguard Parts diagram
ARTS6651CC Slide-In Electric Range Main top and backguard Parts diagram
Oven door and storage drawer Parts diagram
ARTS6651CC Slide-In Electric Range Oven door and storage drawer Parts diagram

Recent Service Requests

CityProblem DescriptionResolution
Hamilton, MichiganThe clock flashes all of the time. The controller shuts the oven off randomly while in use.Awaiting receipt of timer
tampa, Floridatop of stove work but oven does not was strucr by lightlingAwaiting receipt of timer
tampa, Floridatop of stove work but oven does not was strucr by lightlingBeyond Repair