Amana Slide-In Range ARTS6650LL Timer Repair

What is the timer/clock part number for the Amana ARTS6650LL Slide-In Range?

Timer part number 315570 for Amana ARTS6650LL

The ARTS6650LL Slide-In Range uses timer part number 315570.

Do you have a failed Amana ARTS6650LL control panel? Click here:

Request Appliance Timer Service

We can repair or replace your faulty Amana ARTS6650LL timer.

ARTS6650LL are also sometimes referred to using these Alternative Names/Model numbers

Whirlpool ARTS6650LL Slide-In Range, ARTS6650WW/P1130698NWW, ARTS6650LL/P1130678NLL, ARTS6650WW/P1130683NWW, ARTS6650E/P1130683NE, ARTS6650WW/P1130667NWW, ARTS6650LL/P1130698NLL, ARTS6650WW/P1130678NWW, ARTS6650WW/P1143483NWW, ARTS6650E/P1130659NE, ARTS6650E/P1130678NE, ARTS6650LL/P1143483NLL, ARTS6650WW/P1130687NWW, ARTS6650E/P1143483NE, ARTS6650E/P1130667NE, ARTS6650LL/P1143906NLL, ARTS6650E/P1130687NE, ARTS6650WW/P1130659NWW, ARTS6650LL/P1130659NLL, ARTS6650WW/P1143906NWW, ARTS6650WW/P1130649NWW, ARTS6650E/P1130649NE, ARTS6650LL/P1130649NLL, ARTS6650LL/P1130683NLL, ARTS6650E/P1143906NE, ARTS6650LL/P1130687NLL, ARTS6650E/P1130698NE, ARTS6650LL/P1130667NLL

ARTS6650LL Schematic and Wiring Diagrams

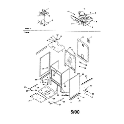
Cabinet Parts diagram
ARTS6650LL Slide-In Range Cabinet Parts diagram
Cavity Parts diagram
ARTS6650LL Slide-In Range Cavity Parts diagram
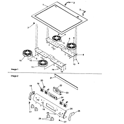
Main top and backguard Parts diagram
ARTS6650LL Slide-In Range Main top and backguard Parts diagram
Oven door and storage drawer Parts diagram
ARTS6650LL Slide-In Range Oven door and storage drawer Parts diagram

Recent Service Requests

CityProblem DescriptionResolution
Sioux Falls, South DakotaTimer dead. A tag on the timer has the following numbers:
31-315570-07-0
160-986-00
585/920-F96347248
Serial number of range is: 9610188415 Mfg: P1130649NLL
Repaired
North Haledon, New Jerseyneed replacementAwaiting receipt of timer
North Haledon, New JerseyOven off button brokenAwaiting receipt of timer
Allegany, New YorkI need a new or reconditioned timer.Awaiting receipt of timer
ogden, UtahThe range top works fine, but the timer, oven , bake clean control doesn't even turn onAwaiting receipt of timer