Amana Slide-In Electric Range ARTS6650 Timer Repair

What is the timer/clock part number for the Amana ARTS6650 Slide-In Electric Range?

Timer part number Y0315570 for Amana ARTS6650

The ARTS6650 Slide-In Electric Range uses timer part number Y0315570.

Do you have a failed Amana ARTS6650 control panel? Click here:

Request Appliance Timer Service

We can repair or replace your faulty Amana ARTS6650 timer.

ARTS6650 are also sometimes referred to using these Alternative Names/Model numbers

Whirlpool ARTS6650 Slide-In Electric Range, ARTS6650WW/P1143483NWW, ARTS6650E/P1130659NE, ARTS6650E/P1130678NE, ARTS6650E/P1130667NE, ARTS6650LL/P1143483NLL, ARTS6650WW/P1130687NWW, ARTS6650E/P1143483NE, ARTS6650LL/P1143906NLL, ARTS6650E/P1130687NE, ARTS6650WW/P1130659NWW, ARTS6650LL/P1130659NLL, ARTS6650WW/P1143906NWW, ARTS6650WW/P1130649NWW, ARTS6650E/P1143906NE, ARTS6650E/P1130649NE, ARTS6650LL/P1130649NLL, ARTS6650LL/P1130683NLL, ARTS6650LL/P1130687NLL, ARTS6650E/P1130698NE, ARTS6650LL/P1130667NLL, ARTS6650WW/P1130683NWW, ARTS6650WW/P1130698NWW, ARTS6650LL/P1130678NLL, ARTS6650WW/P1130678NWW, ARTS6650E/P1130683NE, ARTS6650WW/P1130667NWW, ARTS6650LL/P1130698NLL

ARTS6650 Schematic and Wiring Diagrams

Cabinet Parts diagram
ARTS6650 Slide-In Electric Range Cabinet Parts diagram
Cavity Parts diagram
ARTS6650 Slide-In Electric Range Cavity Parts diagram
Main top Parts diagram
ARTS6650 Slide-In Electric Range Main top Parts diagram
Control panel Parts diagram
ARTS6650 Slide-In Electric Range Control panel Parts diagram
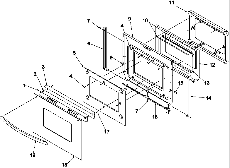
Oven door Parts diagram
ARTS6650 Slide-In Electric Range Oven door Parts diagram
Storage drawer Parts diagram
ARTS6650 Slide-In Electric Range Storage drawer Parts diagram

Recent Service Requests

CityProblem DescriptionResolution
Tacoma, WashingtonMine does not work looking for replacementAwaiting receipt of timer
Snohomish, WashingtonWe can't set the time or oven timer, the buttons no longer workAwaiting receipt of timer
COVENTRY, Rhode Islandcompletely dark and no soundAwaiting receipt of timer
Painesville, OhioDisplay panel not lighting, stove working oven notAwaiting receipt of timer
Salinas, CaliforniaThe timer stopped working, no lights, just blank. Does not respond to button presses. The stove top eyes work, but the oven does not.Repaired
HENDERSONVILLE, North CarolinaOVEN QUIT WORKING. REPAIRMAN SAID THAT THE OVEN TIMER WENT OUT AND THAT THEY NO LONGER MADE THAT PART. YOU HAVE ALREADY CONFIRMED THAT YOU DO NOT HAVE THIS UNIT IN STOCK. I'M SENDING IT FOR REPAIR.Repaired
Sioux Falls, South DakotaTimer dead. A tag on the timer has the following numbers:
31-315570-07-0
160-986-00
585/920-F96347248
Serial number of range is: 9610188415 Mfg: P1130649NLL
Repaired
Mission Viejo, CaliforniaThe whole display is lite. Oven elements are always on.Awaiting receipt of timer
North Haledon, New Jerseyneed replacementAwaiting receipt of timer
MIDLAND, GeorgiaTHE TIMER WENT BLANK. OVEN FAILS TO WORK. TOP OF RANGE WORKS FINE.Awaiting receipt of timer
North Haledon, New JerseyOven off button brokenAwaiting receipt of timer
Gaston, North CarolinaNeither clock nor oven will work anymore.Awaiting receipt of timer
Eugene, OregonOven and clock do not work. It does not light up at all.Repaired
Lancaster, PennsylvaniaTouchpad and oven do not work,dead; range works fineBeyond Repair
Evans, GeorgiaControls stopped working. I replaced all capacitors, but still doesn't work. I verified that 240V is being supplied to control relays.Repaired
Bryson City, North CarolinaOven doesn't work but top burners do. No lights on timer.Repaired
Evans, GeorgiaYou repaired this oven controller last May. The other day my wife said that the oven controller made a popping sound, stopped displaying the time, and then the oven turned on and couldn't be turned off except by killing the power to it at the fuse box. Please perform a warranty repair.Beyond Repair
Huntsburg, Ohiothe clock and controls go blank burner operation is fine but oven controls are dead when goes blank checked it out the harness connector to the transformer is arcing underneith the circuit board I don't know if it is a broken terminal connection or burned circuit board but the wires can be wiggled and the led will light up again but will go out againAwaiting receipt of timer
Coeur d'Alene, Idahonot workingBeyond Repair
Hogansville, GeorgiaOven worked great for 11 years and just recently the LCD was out and the buttons to do not functionRepaired

Common problems for Amana Slide-In Electric Range ARTS6650 Timer Repair

Are you encountering a similar problem as them? Contact us now and we will try to help you fix your ARTS6650 timer-related problem.
We recently purchased a house with an Amana oven included. It is an electric smooth top with a Dual Radiant Element on the front right side. Only the small element works (no matter which way the switch is pushed). The model number is XXXXX ARRS6550 or ARTS6650. How is this repaired and is it worth the expence to have someone do it?
I have an Amana self-cleaning slide-in electric oven model # XXXXX and ARTS6650. I turned the oven on to 425 degrees and worked for approx 45 min. then shut down completely. The cook top is working, the oven light works however, the oven panel with the clock and push button controls does not work and the oven will not go on. Please Help!
our Amana oven is stuck in the "lock" mode of a cleaning cycle that was started in error. -F9_ flashes and it continually beeps. I'm not sure the model number it is a flat cook top with "Euro Kera" on it. Touchpad oven controls and dials for the burn on the front as well
The "lock" light flashes continuously, then it starts beeping and then the F9 message flashes. The oven will not turn on. This is on out Amana ARTS6650 oven. What can we do?
Amana ARTS6650 oven - oven shuts off at various times while baking. Also sometines get F2 error code, even when oven NOT being used.
Following apparent power surge (clocks were blinking) screen reads "OFF" and oven doesn't work. clock is on but none of the controls work. oven is fine. ERC? Jack
First I was getting the F1 code and the oven functions would shut off, sometimes after heating up to 350. Then none of the oven touch buttons responded at all when touched. I removed the ERC, and then replaced it after a couple days (hoping for a miracle) and all the oven buttons were responding, but oven shuts off a few seconds after be turned on. (It's a convection model.)