Amana Electric Range ARTC7511 Timer Repair

What is the timer/clock part number for the Amana ARTC7511 Electric Range?

Timer part number Y0315570 for Amana ARTC7511

The ARTC7511 Electric Range uses timer part number Y0315570.

Do you have a failed Amana ARTC7511 control panel? Click here:

Request Appliance Timer Service

We can repair or replace your faulty Amana ARTC7511 timer.

ARTC7511 are also sometimes referred to using these Alternative Names/Model numbers

Whirlpool ARTC7511 Electric Range, ARTC7511LL-P1143822NLL, ARTC7511WW-P1143618NWW, ARTC7511E-P1143643NE, ARTC7511LL-P1143618NLL, ARTC7511WW-P1143660NWW, ARTC7511E-P1143618NE, ARTC7511WW-P1143691NWW, ARTC7511LL-P1143691NLL, ARTC7511E-P1143822NE, ARTC7511WW-P1143643NWW, ARTC7511LL-P1143660NLL, ARTC7511E-P1143691NE, ARTC7511E-P1143660NE, ARTC7511WW-P1143822NWW, ARTC7511LL-P1143643NLL

ARTC7511 Schematic and Wiring Diagrams

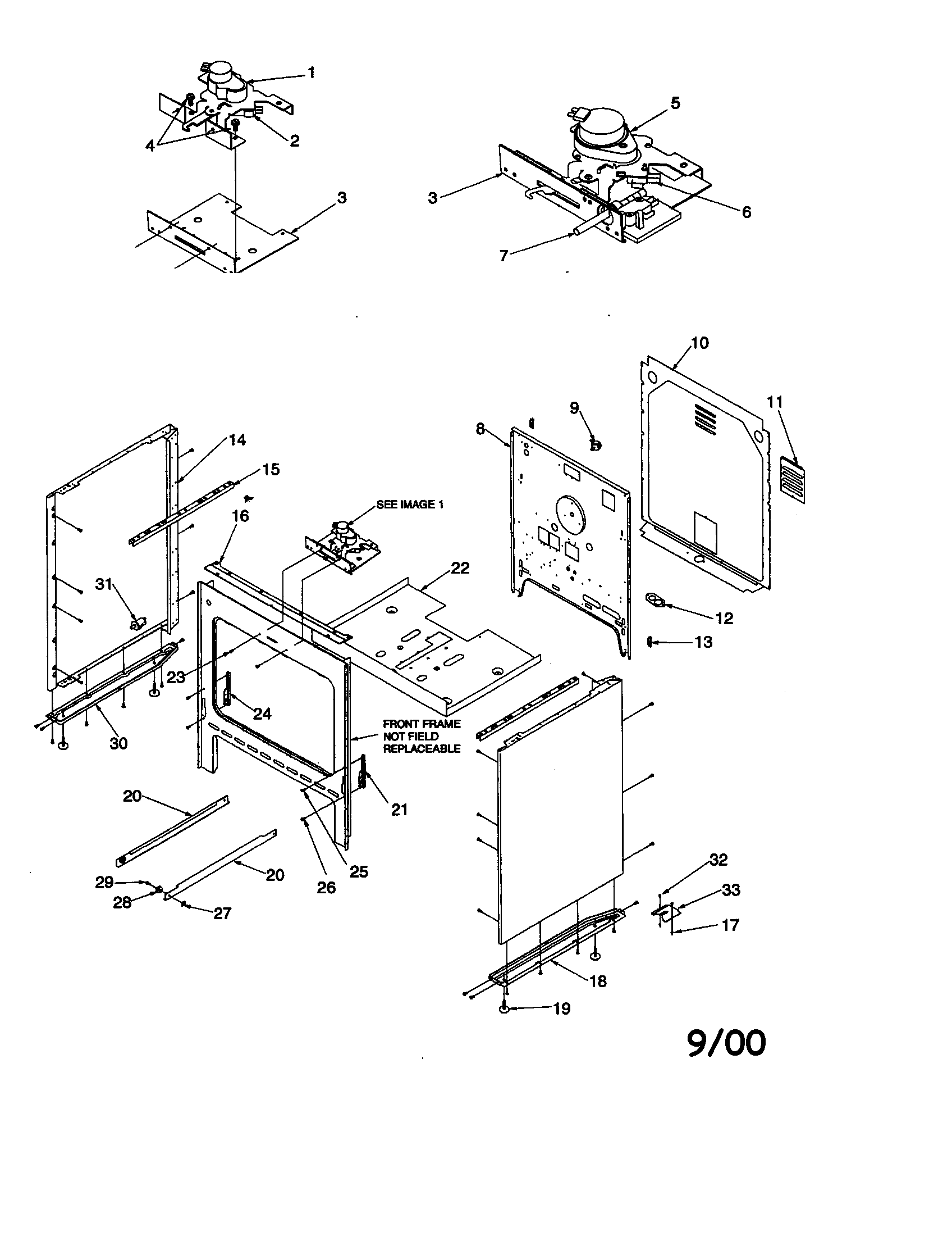
Cabinet Parts diagram
ARTC7511 Electric Range Cabinet Parts diagram
Cavity Parts diagram
ARTC7511 Electric Range Cavity Parts diagram
Main top and backguard Parts diagram
ARTC7511 Electric Range Main top and backguard Parts diagram
Oven door and storage drawer Parts diagram
ARTC7511 Electric Range Oven door and storage drawer Parts diagram

Recent Service Requests

CityProblem DescriptionResolution
Nampa, IdahoScreen went blankAwaiting receipt of timer
Fairport, New YorkOur Almond Amana stove works properly in broil but in bake mode the bottom heater heats but the top heater does not heat. Power does not come from the board to the upper heater in bake mode. Can you supply a replacement electronic control board.Awaiting receipt of timer
Telford, PennsylvaniaNo light at all so can't use electronic buttons for clock or ovenAwaiting receipt of timer
TAYLORSVILLE, UtahIn the unit I have the bottom burner will not heat up, however, everything else works great including the Broiler . I could see the the relay was burntRepaired
Bountiful, UtahBlank screen with no power to buttons.Repaired
Atlanta, GeorgiaThis Amana was purchased from Sears in 1999. About 2 weeks ago, the clock went dark, now cannot control the oven. Stovetop works fine.

I pulled the unit, found a dead bug lying across several contacts (bug was fried) on one of the 2 circuit boards!

I cleaned the contacts, and put the unit back in, turned the power on, but this ERC did not light up, so I've pulled it and sending it to you.
Repaired
CEDAR FALLS, IowaNo display, does not respond to buttons being pushed.Repaired
FAIRPORT, New YorkNO POWER DISPLAY ON CONTROL FOR CLOCK AND OVEN. BUT ALL SURFACE BURNERS WORK STILL WORK. ONE DAY IT WAS WORKING, THE NEXT DAY NO POWER.Awaiting receipt of timer
Ankeny, IowaWhen we turn the oven to bake and set to 350 degrees it will start out on the display 100 degrees but will not heat the element. It will click like it usually does as the degree is supposed to go higher but still no heat on the element.I know it is not the element because i installed a new one. It also is not the oven sensor because it is new. Thank you for any help you can give me! LarryRepaired
Berkley, MichiganNo display at all. No Oven functions work. Range top, Oven light, and Convection Fan do work.Repaired
Union, MissouriDisplay went out and mechanism stopped working.Repaired
Honeoye Falls, New YorkNo lit at all. Was fine and then saw one morning it was out. The stove top is working fine, but with this out can't use the oven. If you can not fix mine, would like a replacement.

Thank you
Beyond Repair
Burnsville, MinnesotaIf not available, can you let me know both the cost of a replacement timer and the cost to repair and return the one I have. Thank-you!Repaired
Lemitar, New MexicoElectronic Range Control appears dead. No lights at all. Voltage input to control seems normal. The rest of the electric range (glass cook top) works fine. Cnvection fan, oven light, cook top coils, all work normally.Repaired
Walnut Creek, CaliforniaOven will not turn on and timer display does not work (nothing on the display)Awaiting receipt of timer
Easley, South CarolinaLED does not illuminate. Pressing buttons does not initiate a sound.Awaiting receipt of timer
North Branch, MinnesotaIt's dead ~ Controls and clock don't work...Repaired
Washington, IllinoisDisplay screen is blank. Touch pad does not respond. Oven and broiler does not function. Stove top is still functional.Repaired
Columbia City, Indianaoven would not workRepaired
Buffalo, MinnesotaOven not working; LED screen dark.Repaired

Common problems for Amana Electric Range ARTC7511 Timer Repair

Are you encountering a similar problem as them? Contact us now and we will try to help you fix your ARTC7511 timer-related problem.
The control panel on our Amana oven suddenly has no power (lights) and the oven will not turn on, nor will the clock work. It was working yesterday when we did some baking. Ideas?
I have an Amana Even-Air Convection self-cleaning electric oven (ARTC7511WW). I've tried to clean it but get very nervous when I see blue flames on the top coils and also the bottom. As soon as I see flames, I turn it off. Is there another way to clean it? Also, I've missed placed the manual. Where can I get another one?
Our Amana ARTC7511ww Serial number XXXXXXXXXX Mfg P114344NWW the electronic oven control panel does not light up and as a result the oven and clocks do not function
My Amana EvenAir Convection oven won't heat up all the way. It has been set on 350 for almost an hour but has heated up to only 190. What to do?
Are you can fix the appliance or just send me to buy mycelf a new one? If i want to buy a new one I would not ask you here.If you cannot fix it, do not send me the bill. Leo Roytberg
My Amana ARTC7511 Electric oven is taking forever to heat up. Also, the bottom element is not heating up. I check element connection and it is connected.
Amana ARTC7511E clock does not lighted( ERC3)new part is not available. An old part is looks as new but does not work.(Part#YO315570).Can anyone repair? Leo
I have an Amana ARTC7511 self cleaning electric oven and convection oven. The broiler does not heat. I took the element out and measured the resistance at 190 ohms. Can you tell me what the problem might be? Is this something I can fix myself or should I call a repair man?
hi, this evening while heatng up the over, it got really bright in one corner(like a light might of been turned on brightness), then it fort of fizzled out in the over, now it wont heat up past about 125 degress and the heating element does not turn red, is it probally just the u shaped elemt that i need to replace? model number is artc7511e. thanks
Hi, Over the last few months our electric oven will at random times beep and the "Bake" indicator on the display panel will start to flash. Pressing the "Cancel" button will clear this. Last weekend we did a self-clean for about two hours and ever since then we can't get the oven to bake. We can press the "Bake" or "Convect" button and set the temperature, but the temperature display will start increasing immediately and within 30 seconds the oven will beep and show that it has reached the temperature we set, but the oven will still be cold? I was able to get the broiler to work but last night it seemed that the broiler element would only stay on for a few minutes but the display showed everything to be working? After using the broiler for about 10 minutes the display would only work when we pushed the "clock" and "Clean" buttons. I have a feeling the control panel needs to be replaced but could the lower element or temperature sensor also need replacing? The bottom element is fully co
Control Panel not working. Are there any trouble shooting steps I can follow the locate problem.