Amana Electric Range ARR6400WW Timer Repair

What is the timer/clock part number for the Amana ARR6400WW Electric Range?

Timer part number 315570 for Amana ARR6400WW

The ARR6400WW Electric Range uses timer part number 315570.

Do you have a failed Amana ARR6400WW control panel? Click here:

Request Appliance Timer Service

We can repair or replace your faulty Amana ARR6400WW timer.

ARR6400WW are also sometimes referred to using these Alternative Names/Model numbers

Whirlpool ARR6400WW Electric Range, ARR6400WW/P1143415NWW, ARR6400WW/P1143820NWW, ARR6400WW/P1143457NWW, ARR6400WW/P1143432NWW, ARR6400WW/P1143674NWW, ARR6400WW/P1143685NWW, ARR6400WW/P1143607NWW, ARR6400WW/P1143653NWW, ARR6400WW/P1142670NWW, ARR6400WW/P1143640NWW

ARR6400WW Schematic and Wiring Diagrams

Cabinet Parts diagram
ARR6400WW Electric Range Cabinet Parts diagram
Cavity Parts diagram
ARR6400WW Electric Range Cavity Parts diagram
Main top Parts diagram
ARR6400WW Electric Range Main top Parts diagram
Backguard Parts diagram
ARR6400WW Electric Range Backguard Parts diagram
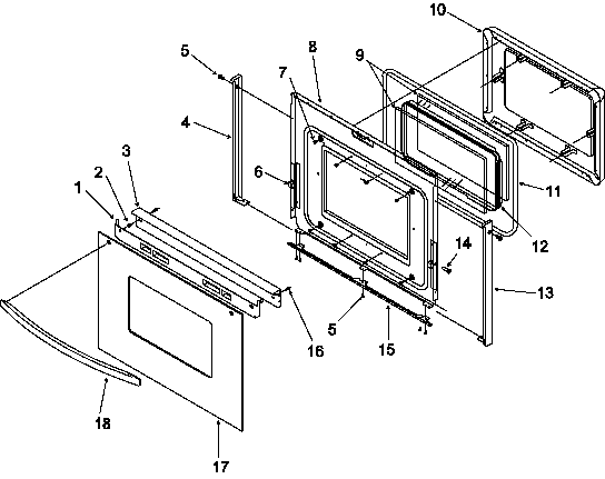
Oven door Parts diagram
ARR6400WW Electric Range Oven door Parts diagram
Storage drawer Parts diagram
ARR6400WW Electric Range Storage drawer Parts diagram

Recent Service Requests

CityProblem DescriptionResolution
Hyattsville, MarylandWon't do anything, won't light up, after lightning strike to tree near house.Beyond Repair
Blairsville, Georgiapanel doesn't light and none of the touch pads work, plus the oven and broiler come on at the same time and will not shut off with the controllerBeyond Repair
Saint Louis, MissouriTimer does not have any functioning display; oven does not operate. Top electric burners are fine.Replaced with reconditioned timer
MALVERN, OhioBLANK SCREEN WITH NO USE OF OVEN FUNCTIONS.Repaired

Common problems for Amana Electric Range ARR6400WW Timer Repair

Are you encountering a similar problem as them? Contact us now and we will try to help you fix your ARR6400WW timer-related problem.
amana oven model arr6400ww serial p1143415nww. top works. set oven temp wont work and clock flashes. thanks no codes, and turn off for 5 minutes does nothing.
In cooking today burners quit my oven also does not work but i have clock is there a breaker, fuse or link?
One of our range burners started getting really hot, really fast. We had replaced the element about a year ago. Tried swapping it with another element and did the same. I believe the burner control is shot, giving it full power only. I ordered a new control switch. Part # for new is 74011243. I received the new switch (says Maytag), and it has a different number of terminals, but most terminals are labeled so I can match the wires up– except for one. On the old switch, the last wire goes to a terminal marked P. One the new switch I still have 3 terminals to choose from! P1, P2, and one with no code. Where do I connect this last wire? Also, if I instal the switch so that the Top is at the top, the dial will not be lined up with the other dials, or the markings on the front of the range. Can I turn the dial 90 degrees to line up, without that causing a problem?
This drop in oven is 15 years old and in excellent conition except for this problem. This is the first problem ever with it. The oven heats up initially no problems but sometimes it will not cycle back on to maintain the temp. If you turn it off and back on it will heat right back up or if you switch to broil and back to bake it will heat back up. Its doing this about 75% of the time now. What could be the problem? Any help would be greatly appreciated.