Amana ARG7800WW Timer Repair

What is the timer/clock part number for the Amana ARG7800WW Electronic Range/Oven?

Timer part number 0315569, 31944801, PS2034176, 31-315569-07-0 or PS79785 for Amana ARG7800WW Stove

The ARG7800WW Electronic Range/Oven uses timer part number 0315569, 31944801, PS2034176, 31-315569-07-0 or PS79785. This part has been permanently discontinued by the manufacturer.

Do you have a failed ARG7800WW Electronic Range/Oven control panel? Click Here:

Request Appliance Timer Service

We can repair or replace your faulty ARG7800WW Electronic Range/Oven timer

ARG7800WW Schematic and Wiring Diagrams

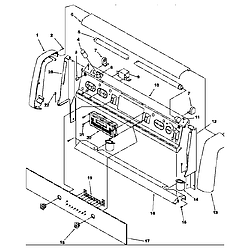
Cabinet Parts diagram
ARG7800WW Amana ARG7800WW Timer/Clock/ERC Cabinet Parts diagram
Cavity Parts diagram
ARG7800WW Amana ARG7800WW Timer/Clock/ERC Cavity Parts diagram
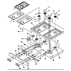
Main top Parts diagram
ARG7800WW Amana ARG7800WW Timer/Clock/ERC Main top Parts diagram
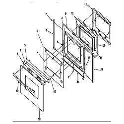
Backguard Parts diagram
ARG7800WW Amana ARG7800WW Timer/Clock/ERC Backguard Parts diagram
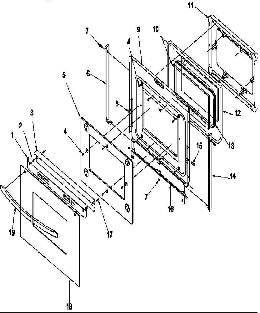
Oven door Parts diagram
ARG7800WW Amana ARG7800WW Timer/Clock/ERC Oven door Parts diagram
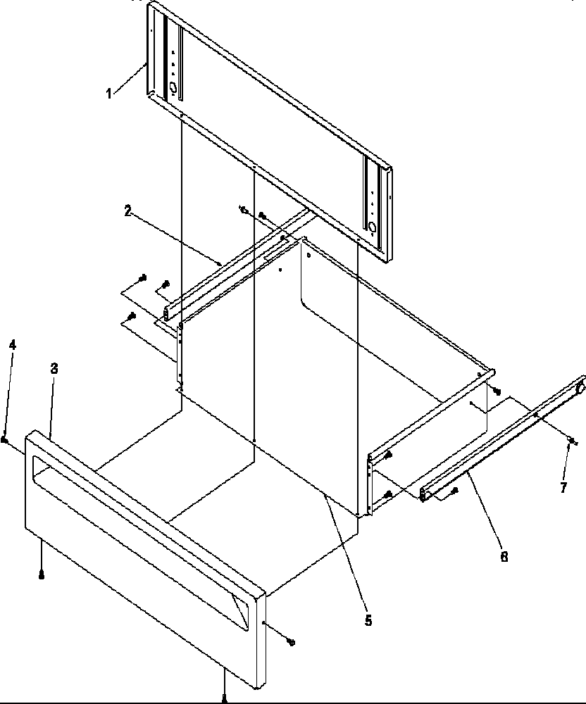
Storage drawer Parts diagram
ARG7800WW Amana ARG7800WW Timer/Clock/ERC Storage drawer Parts diagram
Gas supply Parts diagram
ARG7800WW Amana ARG7800WW Timer/Clock/ERC Gas supply Parts diagram

Appliancetimers.ca Service requests for Amana ARG7800WW Electronic Range/Oven Timer

CityProblem DescriptionResolution
Westbrook, MaineTurned oven on and heard the sound of fried eggs going on behind clock on circuit board. It produced a foul odor and then the controls that feeds through this timer unit failed to work. The clock still works, but all other functions have failed. The part number on the unit is what I entered above. I did try to get the part from a appliance parts supplier and they have the part number listed as 31944801 and when they attempted to order it from the manufacturer the manufacturer wouldn't release the part. Would like to purchase one from your inventory if you have one or I can send this unit to you to rebuild. thanks
serial # of stove:9904296369 mfg: P1143346NWW
Repaired
Saint-Eustache, QuebecNOTHINGAwaiting receipt of timer
Saint-Eustache, QuebecNothing is showed in the screen. When we push any bottom, nothing happens. Only oven light and neon on the top works.Awaiting receipt of timer
Star City, SaskatchewanDead screen, no response to buttonsRepaired
Francois Lake, British ColumbiaFor a few months we got an intermittent F5. Lately we get a consistent F3 whenever we use the oven.

The temp sensor seemed to check out fine--within the normal ohm range.
Repaired
Ottawa, OntarioThe timer etc just died very suddenly.Repaired
Albuquerque, New MexicoQuit working altogether. Still able to use the gas stove, but the clock/timer is blank thus cannot use the oven.Repaired
Berkeley, CaliforniaPlease contact me before returning part if ERC can not be repaired.....Repaired
boulder, ColoradoControl panel is completely non-functional. Can I return the purchased timer if it turns out to not be the problem with my range?Replaced with reconditioned timer

Common ARG7800WW timer/clock/ERC problems

I have an Amana Insta-Broil Gas oven and the Oven will not light up. Can you help Model ARG7302WW Serial # XXXXX MFG P1143343NWW
I bought a used Amana ARG7800WW gas range and converted it to propane. The oven will take 6-10 minutes to light. We have used the clean cycle and it worked fine. We tried baking with it and the first bread took about 15 minutes longer than it should have, and the second batch got half done and the oven wouldn't relight. The light coil gets bright red, but the gas doesn't seem to turn on. Any ideas? Barry
Amana gas oven model APG7800WW oven does not work. When turned on a loud buzzing sound occurs and a message appears; F 4 ,need service call. The burners and the rest of the range are fine. The serial # XXXXX the gas range is9812240345 This range is in a remote area of MN and I need advice on which parts are most likely to solve the problem cuz service calls are very difficult to aroven. Thanks, XXXXX XXXXX
Hello, my gas ARG7800ww digital display is not working, but the oven top still works. Last I tried using the display was when I was about to change the clock for daylight savings, but then stepped away and forgot to finish. Is it possible I ran a battery out?
amana model #arg7800ww/p1143346nww oven after reaching temperature stops working and gives the error code f3
I have an Amana insta-broil AGS751W. I have lost the manual and need instructions for cleaning the self-cleaning oven ASAP. We haven't used the oven for a few years (!) because we have been living elsewhere. Are we likely to run into any special problems because we haven't used it for so long?
Looking for manual for Amana ARG7800WW Gas Oven
Amana arg7800ww oven will not come up to temperature. already replaced oven temperature sensor, but oven will only heat up to 120 degrees. The Broiler ignitor will glow when turned on but will not ignite. Is it the gas valve??? any help will be appreciated. the range top burners work fine,,
Describe your amana arg7800ww Gas Kitchen oven Describe your Amana ARGS7650SS Gas Kitchen oven Problem we are getting an F3 and F2 error when trying to heat the oven to 350