Amana Gas Range ARG7800SS Timer Repair

What is the timer/clock part number for the Amana ARG7800SS Gas Range?

Timer part number 31944801 for Amana ARG7800SS

The ARG7800SS Gas Range uses timer part number 31944801.

Do you have a failed Amana ARG7800SS control panel? Click here:

Request Appliance Timer Service

We can repair or replace your faulty Amana ARG7800SS timer.

ARG7800SS are also sometimes referred to using these Alternative Names/Model numbers

Whirlpool ARG7800SS Gas Range, ARG7800SS-P1143355NSS, ARG7800SS-P1143388NSS, ARG7800SS-P1143385NSS

ARG7800SS Schematic and Wiring Diagrams

Cabinet Parts diagram
ARG7800SS Gas Range Cabinet Parts diagram
Cavity Parts diagram
ARG7800SS Gas Range Cavity Parts diagram
Main top Parts diagram
ARG7800SS Gas Range Main top Parts diagram
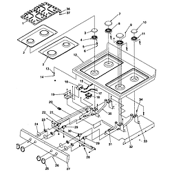
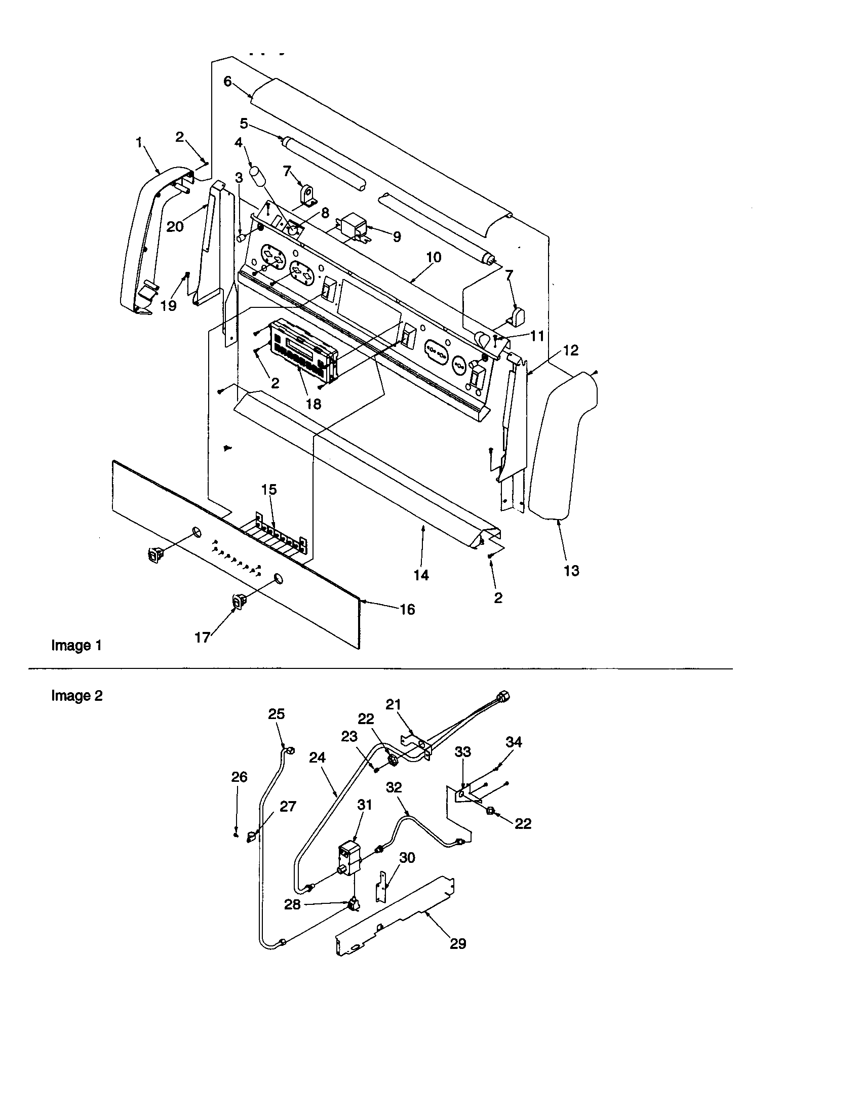
Backguard and gas supply Parts diagram
ARG7800SS Gas Range Backguard and gas supply Parts diagram
Oven door and storage door Parts diagram
ARG7800SS Gas Range Oven door and storage door Parts diagram

Recent Service Requests

CityProblem DescriptionResolution
burlington, Washingtonf-3 still happens after replacing temp sensorAwaiting receipt of timer
Rochester, New YorkUnit periodically goes dark, clock loses time and resets, oven will not function...then it returns to working condition.Awaiting receipt of timer
Castle Rock, ColoradoDisplay goes dead, wiggle harness by low voltage transformer it comes back.Awaiting receipt of timer
North Aurora, IllinoisTimer Dead everything else works Burners Lights.Repaired

Common problems for Amana Gas Range ARG7800SS Timer Repair

Are you encountering a similar problem as them? Contact us now and we will try to help you fix your ARG7800SS timer-related problem.
I have an Amana ARG7800SS Gas oven and it is not heating up quickly like it used to. Also, I have to turn the temperature gauge up to 450 or higher to get the flame to kick in and get the oven up to temperture up, but then it doesn't stay hot. It's as if it's being shut off. Help! I have a wedding cake to bake! Thanks, Jen