Amana Electric Range ARDS800WW Timer Repair

What is the timer/clock part number for the Amana ARDS800WW Electric Range?

Timer part number Y0308480 for Amana ARDS800WW

The ARDS800WW Electric Range uses timer part number Y0308480.

Do you have a failed Amana ARDS800WW control panel? Click here:

Request Appliance Timer Service

We can repair or replace your faulty Amana ARDS800WW timer.

ARDS800WW are also sometimes referred to using these Alternative Names/Model numbers

Whirlpool ARDS800WW Electric Range, ARDS800WW/P1131920NWW

ARDS800WW Schematic and Wiring Diagrams

Main body (ards800e/p1131920ne) (ards800ww/p1131920nww) (cards800e/p1131922ne) (cards800ww/p1131922nww) Parts diagram
ARDS800WW Electric Range Main body (ards800e/p1131920ne) (ards800ww/p1131920nww) (cards800e/p1131922ne) (cards800ww/p1131922nww) Parts diagram
Cabinet assembly (ards800e/p1131920ne) (ards800ww/p1131920nww) (cards800e/p1131922ne) (cards800ww/p1131922nww) Parts diagram
ARDS800WW Electric Range Cabinet assembly (ards800e/p1131920ne) (ards800ww/p1131920nww) (cards800e/p1131922ne) (cards800ww/p1131922nww) Parts diagram
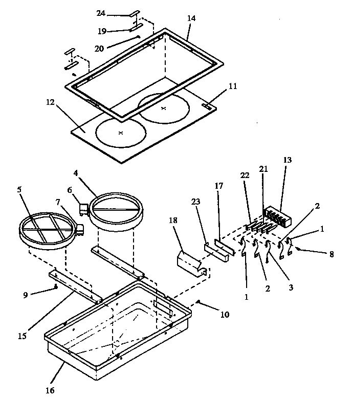
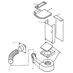
Vent (ards800e/p1131920ne) (ards800ww/p1131920nww) (cards800e/p1131922ne) (cards800ww/p1131922nww) Parts diagram
ARDS800WW Electric Range Vent (ards800e/p1131920ne) (ards800ww/p1131920nww) (cards800e/p1131922ne) (cards800ww/p1131922nww) Parts diagram
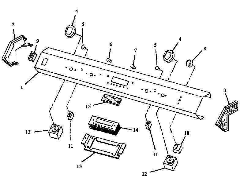
Control panel (ards800e/p1131920ne) (ards800ww/p1131920nww) (cards800e/p1131922ne) (cards800ww/p1131922nww) Parts diagram
ARDS800WW Electric Range Control panel (ards800e/p1131920ne) (ards800ww/p1131920nww) (cards800e/p1131922ne) (cards800ww/p1131922nww) Parts diagram
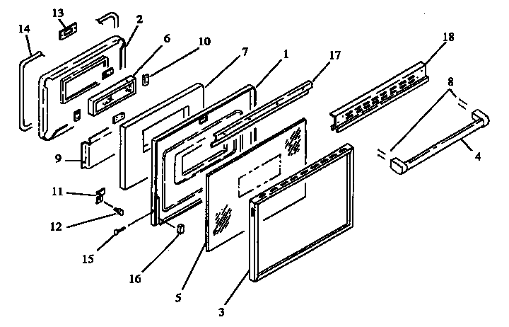
Door (ards800e/p1131920ne) (ards800ww/p1131920nww) (cards800e/p1131922ne) (cards800ww/p1131922nww) Parts diagram
ARDS800WW Electric Range Door (ards800e/p1131920ne) (ards800ww/p1131920nww) (cards800e/p1131922ne) (cards800ww/p1131922nww) Parts diagram
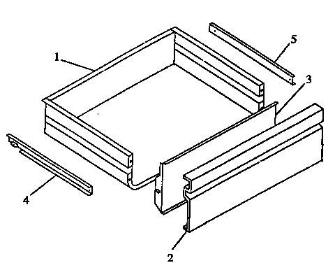
Drawer (ards800e/p1131920ne) (ards800ww/p1131920nww) (cards800e/p1131922ne) (cards800ww/p1131922nww) Parts diagram
ARDS800WW Electric Range Drawer (ards800e/p1131920ne) (ards800ww/p1131920nww) (cards800e/p1131922ne) (cards800ww/p1131922nww) Parts diagram
Electrical assembly (ards800e/p1131920ne) (ards800ww/p1131920nww) (cards800e/p1131922ne) (cards800ww/p1131922nww) Parts diagram
ARDS800WW Electric Range Electrical assembly (ards800e/p1131920ne) (ards800ww/p1131920nww) (cards800e/p1131922ne) (cards800ww/p1131922nww) Parts diagram
Backguard Parts diagram
ARDS800WW Electric Range Backguard Parts diagram
Module (cc11ls/all) Parts diagram
ARDS800WW Electric Range Module (cc11ls/all) Parts diagram
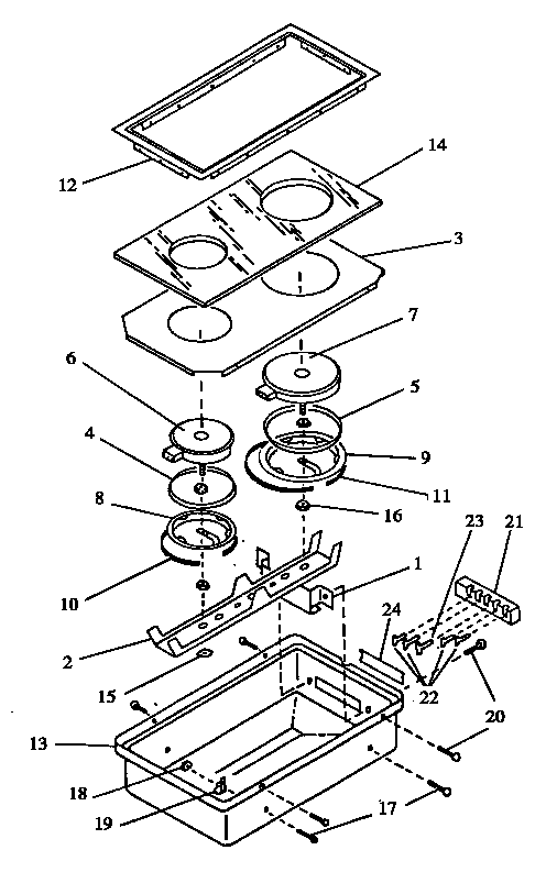
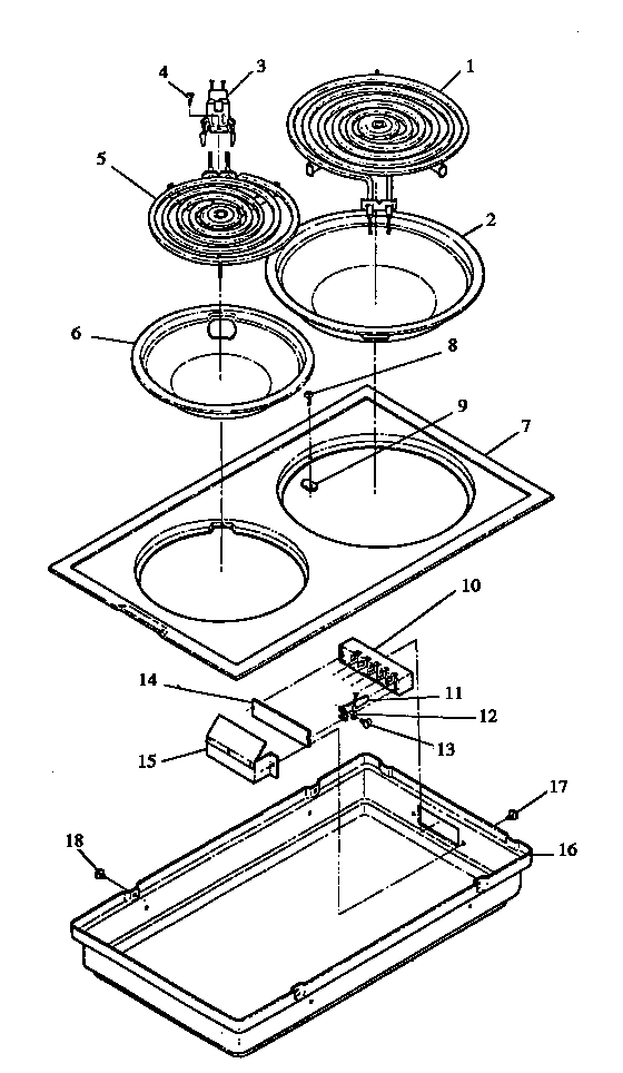
Cooktop (cc1e/p1155201) (cc1w/p1155202) Parts diagram
ARDS800WW Electric Range Cooktop (cc1e/p1155201) (cc1w/p1155202) Parts diagram
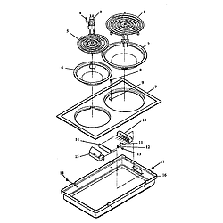
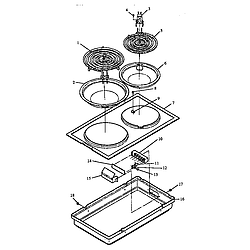
Cooktop Parts diagram
ARDS800WW Electric Range Cooktop Parts diagram
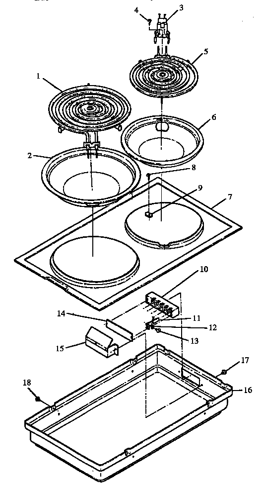
Cooktop (cc13e/p1155203) (cc13w/p1155204) Parts diagram
ARDS800WW Electric Range Cooktop (cc13e/p1155203) (cc13w/p1155204) Parts diagram
Cooktop (cc12hre/p1172301) (cc12hrw/p1172302) Parts diagram
ARDS800WW Electric Range Cooktop (cc12hre/p1172301) (cc12hrw/p1172302) Parts diagram
Voltage assembly (cards800e/p1131922ne) (cards800ww/p1131922nww) Parts diagram
ARDS800WW Electric Range Voltage assembly (cards800e/p1131922ne) (cards800ww/p1131922nww) Parts diagram

Recent Service Requests

CityProblem DescriptionResolution
Middleton, IdahoF-1 error reading and auditable alarmBeyond Repair
Middleton, IdahoF-1 error reading and auditable alarmBeyond Repair
Springfield, GeorgiaF1 comes across screen. I can use stove top if I turn on oven. If I don't turn on oven, F1 will come on and if I reset, F1 comes on in a few seconds.Timer inspected, no repairs necessary
Springfield, GeorgiaF-1 error code pops up and beeping begins. only way to stop is turn off breaker or turn on oven (which doesn't heat correctly).Timer inspected, no repairs necessary

Common problems for Amana Electric Range ARDS800WW Timer Repair

Are you encountering a similar problem as them? Contact us now and we will try to help you fix your ARDS800WW timer-related problem.
i HAVE AN aMANA range MODEL NO# XXXXX P1131920NWW. i BOILED A PAN OF WATER OVER AND IT TOOK OUT THE RELAY'S CHANGED RELAY BOARD . THE OVEN THAN SHOWED f3 SO i CHANGED THE THERMO COUPLING TO THE OVEN . IT STILL SHOW F3 AND THE OVEN WILL NOT WORK ANY SUGGESTIONS WHERE CAN I BUY A NEW OR USED clock CONTROLER
Oven only getting to about 150F period F8 error code
I have an Amana downdraft oven model #: ARDS800WW. After using the oven, it began beeping and displayed "F-1" in the clock window. The owner's manual states this may indicate a short in the control. When I push the SET/CANCEL button, the control panel resumes (as normal) and the beeping stops for approx 30 seconds, then it starts beeping and the "F-1" displays again. All of the other functions/heating elements seem to work OK. I have disassembled the unit enough to see what appears to be a solid-state circuit board (I suspect there are no serviceable parts). What do you suggest I do next?
I have an electric downdraft oven Model ANDS800WW, I am getting a F7 error and a beep. The only way I can clear it is to turn off the Breaker.
had the oven set to 350 it worked, went to turn it off the button would not work, so I hit other buttons and accidentally hit clean, now where the time normally is it says -F1- and is beeping and nothing is working to stop the beeping. it's an amana oven and the model number is ards800ww
Fridge is warm, freezer is cold. Damper in top back of fridge is open. Coils have been cleaned. I Reset the defrost clock per instructions but no hissing sound that was to indicate a problem. Fan in back near compressor is running but seems like it might be slow. Please advise me as to what I might try next. Tedhead.
amana electric oven f-1 error code and beeping. model ARDS800WW
I've done a lot of research but I need some specific picture/descriptive help. I have a bottom freezer that is frosting up, either the heater, clock or thermostat for the defrost cycle is not working. I tried to use this site to figure out how to test the clock and thermostat but the sticky on testing these parts does not relate to refrigerators only other appliances. In this thread (Constant freezing up - FixYa) the picture looks just like my freezer. From the parts diagrams here I take it that #1 is the heating coil, #2 is the thermostat and I'm not sure what #3 is. Here, I've found parts AP3492964 for the clock (not pictured in the above thread) and AP3475238 as the thermostat. I would love to test the parts I can with a digital tester but I don't know what specific points to test and what the readings should be. Any help here? A service manual and/or replacement instructions would be VERY appreciated!
Befor I start, great site and has been helpful. My machine has all the symptoms of a problem in the defrost cycle. Have recently replaced the clock and the thermostat. Guess the heater is next. Is there anything else I'm missing? How hot does the heater get when on? Next time I have to defrost the machine, in a month, I'll check the Ohms on the heater. I know the power must be off, but can I check the heater while the leads are still connected.
I have a bottom freezer model with a bad control freezer temp, the part with the tiny metal bulb that senses the temp and makes a little switch open or close inside the same part. I know it's bad. My freezer was getting completely frosty every week or two and the fridge was not cool enough. I first replaced the defrost clock in the fridge but I did not test it to see if it was definitely bad. The problem is just the same, and when I test the new defrost clock, it appears to be bad as well. When I test it with an ohm meter, the black wire gets no reading at all. My question is this: if the control freezer temp part is bad, can it burn out or somehow ruin the defrost clock? OR, could it make the defrost clock appear not to work? If one would not affect the other, then I was sold a bad defrost clock. If one can ruin the other, then I caused it and need to order and pay for two new parts. Anyone know the answer on this?
We have a amana range model ARDS800WW... when trying to use self cleaning It started beeping and Showed error F2.. What does F2 mean? I have since cleaned oven by hand and just want to be sure oven is safe to use. Thanks
can anyone help with location of defrost clock?
Hello. I have a ref that the defrost isn't working. I opened up the back and it was frozen solid and it isn't letting air up to the frig. The fans work. I can find the defrost thermostat but not the clock. Is there aclock and where? And how do I tell what part I need?
We recently went away for a month, and left our Amana fridge/freezer running. When re returned, the fridge compartment was near-freezing (milk on top shelf ices up, nothing on the lower shelves freeze), and our freezer was filled with frost and ice. We defrosted the entire thing, and left it for a week, making sure that the door was securely sealed. Its started icing up again, and the milk is freezing again. So, I took the back off the freezer compartment, and the controls from the fridge which is where the defrost clock is located. I had to cut one wire that led to the defrost thermostat, and tested it. When it is frozen, it has continuity, and when warmed up, it doesn't. In other words, it works fine. I checked the resistance of the defrost heater. It ohms out at 35 ohms (correct) and works fine. I also tested the defrost clock, by marking where it was with a Sharpie, and letting it advance. It advances as it should, hitting the defrost setting on the clock every 6 hours. So... what
How do I access defrost clock to check it ... I don't want to break the plastic parts .. the on line blow up is not detailed enough? Also where on the diagrams is the defrost Thermostat on plate 4 / number 30?