Amana Self Cleaning, Frestanding Gas Range AGS781WW Timer Repair

What is the timer/clock part number for the Amana AGS781WW Self Cleaning, Frestanding Gas Range?

Timer part number 309440 for Amana AGS781WW

The AGS781WW Self Cleaning, Frestanding Gas Range uses timer part number 309440.

Do you have a failed Amana AGS781WW control panel? Click here:

Request Appliance Timer Service

We can repair or replace your faulty Amana AGS781WW timer.

AGS781WW are also sometimes referred to using these Alternative Names/Model numbers

Whirlpool AGS781WW Self Cleaning, Frestanding Gas Range, AGS781WW-P1143306NWW, AGS781WW-P1141275NWW, AGS781WW-P1142636NWW

AGS781WW Schematic and Wiring Diagrams

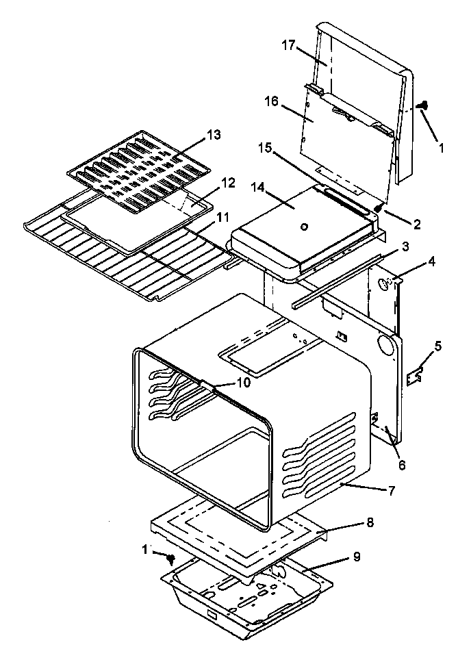
Oven assy Parts diagram
AGS781WW Self Cleaning, Frestanding Gas Range Oven assy Parts diagram
Cabinet assy Parts diagram
AGS781WW Self Cleaning, Frestanding Gas Range Cabinet assy Parts diagram
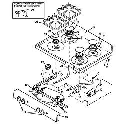
Main top assy Parts diagram
AGS781WW Self Cleaning, Frestanding Gas Range Main top assy Parts diagram
Backguard assy Parts diagram
AGS781WW Self Cleaning, Frestanding Gas Range Backguard assy Parts diagram
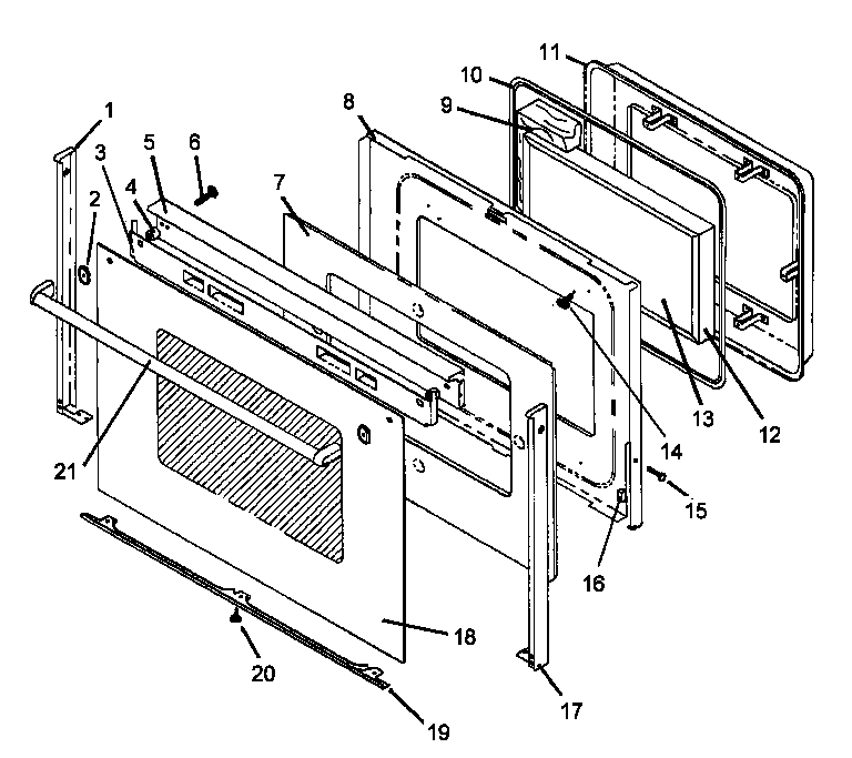
Oven door assy Parts diagram
AGS781WW Self Cleaning, Frestanding Gas Range Oven door assy Parts diagram
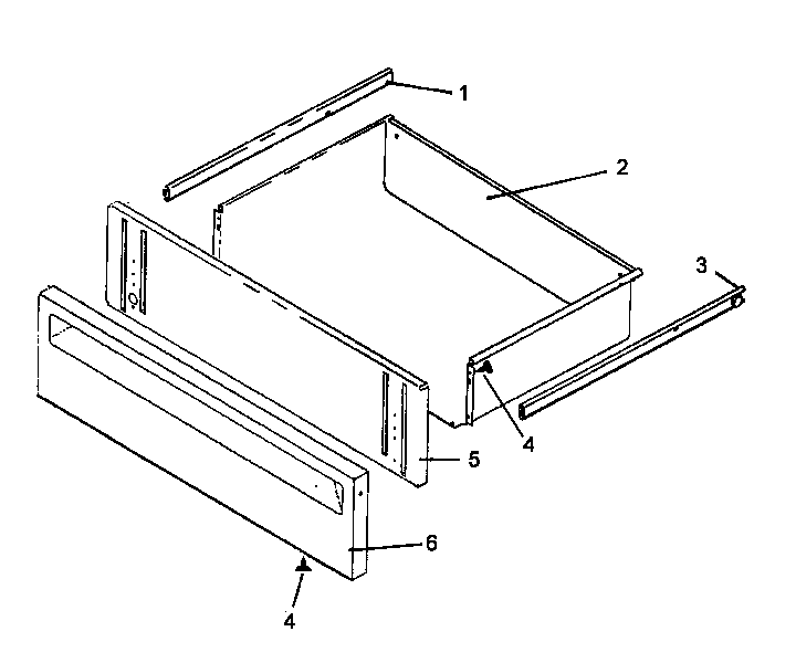
Storage drawer assy Parts diagram
AGS781WW Self Cleaning, Frestanding Gas Range Storage drawer assy Parts diagram
Electrical components Parts diagram
AGS781WW Self Cleaning, Frestanding Gas Range Electrical components Parts diagram
Gas components Parts diagram
AGS781WW Self Cleaning, Frestanding Gas Range Gas components Parts diagram

Recent Service Requests

CityProblem DescriptionResolution
Pacific Junction, Iowa@Intermittently fails to fire the ovenAwaiting receipt of timer
Pacific Junction, Iowa@Intermittently fails to fire the ovenAwaiting receipt of timer
kingston, MassachusettsBLANK NOTHING worksRepaired
Carmel, CaliforniaTimer not powered up at all, so it does not functionAwaiting receipt of timer
Mississauga, OntarioVery slow oven heat-up. Gas comes on full then quickly fades to a trickle. I unplugged the range for 24 hours then reconnected. Oven worked fine for a year then the problem returned. Unplugged again. Oven worked fine for a week.Awaiting receipt of timer

Common problems for Amana Self Cleaning, Frestanding Gas Range AGS781WW Timer Repair

Are you encountering a similar problem as them? Contact us now and we will try to help you fix your AGS781WW timer-related problem.
I had a customer complaining about a gas smell I found the gas regulator was cracked. The part #is Y0308866 is on a Amana AGS781WW oven on natural gas. This part is no longer avalible is there a replacement regulator that can be used
I have lost my user's manual. Could you please send me one?
I have gas range model # XXXXX The oven door handle came lose so I took the door apart to re-attach and tighten the handle and now I can't get the door back together properly. Is there a diagram or directions I can refer to in order to put the door back together again?
Our Amana gas oven began to make a gas odor when it was in operation and didn't seem to be consistently reaching temperature and/or was slow in heating. I have observed the operation a couple times with the access cover removed. The ignitor seems to be heating up normally but when the gas valve opens it doesn't open completely as evidenced by gas smell and failure to light. I can light manually with a lighter but the flame travel is so short that it is apparent that the combustible mixture is not reaching to the ignitor. I then tapped lightly on the valve at which time the flame became normal indicating to me that the valve then opened fully. This is a dual valve that controls both the oven and the broiler. Would you think that this most likely means that the ignitor current is insufficient to fully stroke the valve or is it the valve itself that is most likely the problem? (The valve seems to work fine for broiler operation.)
I cannot remove the bulb cover in the oven. It should twist off. But instead of the glass unscrewing the entire base turns. Is there something I can use to losen the two? Or can I go in from the back of the range to solve the problem?
Ive gotta Amana gas oven that wont light the oven or broiler, when you set a preheat temp it defaults back to "100" in the digital display and provides to no heat up at all. Im a total newb to these things, any tips or tricks on getting this thing back up and going? The wife is getting impatient haha. Is it as simple as a pilot light possibly? -Tom
This oven is just over 5 years old and it has been shutting itself off in the middle of cooking for about 4-5 months now. It isn't a big deal if you are standing right there and turn it back on, sometimes it will only happen once and other times it happens evey 5 mins, and can drive you crazy. I have a huge crowd coming for Can you help?
I have replaced the oven ignitor a couple times. A while ago the oven stopped igniting.... I needed it to work so I tried heating up the ignitor with a small propane torch. This worked well! I only needed to warm up the ignitor for a few seconds then it started to work properly. So I ordered a new ignitor. I just installed the new ignitor and it does not work. So I'm thinking the only other problem could be in the circuit that sends the AC voltage to the ignitor. There seems to be only one circuit board on the system. It has the clock, and a few knobs on the front face. Do I need to replace this circuit board? Is there a way to test my theory?
Oh Boy --- PLEASE HELP !!! I have an Amana Gas Oven .. model # AGR5715QDQ. The bake mechanism doesn't work. When I put it on it goes up to 100 degress and remains there and goes no higher. There is a little red circle that lights up on the right high corner of the 100. All the rest of the oven works properly - the brolier, the clean mechanism, the clock etc. ---it's just the bake. We did troubleshooting and saw that it might me the igniter that is faulty so we order a new one from Appliance parts . My husband installed it properly but to no avail. It still doesnt work. I would hate to buy a new oven because it really isn't old. Pleasae guide us.
My Amanda gas oven Model no. AGS781WW is not heating up in the oven, nor does the broiler come on. The electronic ignition glows, I don't smell any gas in the oven. The cooktop comes on fine.