Kenmore Electric Range 911936918 Timer Repair

What is the timer/clock part number for the Kenmore 911936918 Electric Range?

Timer part number 345445 for Kenmore 911936918

The 911936918 Electric Range uses timer part number 345445.

Do you have a failed Kenmore 911936918 control panel? Click here:

Request Appliance Timer Service

We can repair or replace your faulty Kenmore 911936918 timer.

911936918 are also sometimes referred to using these Alternative Names/Model numbers

Sears 911936918 Electric Range, 9119369181, 9119369180

911936918 Schematic and Wiring Diagrams

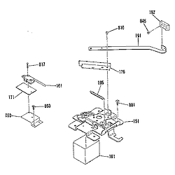
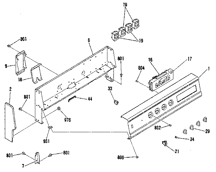
Backguard section Parts diagram
911936918 Electric Range Backguard section Parts diagram
Door lock section Parts diagram
911936918 Electric Range Door lock section Parts diagram
Main top section Parts diagram
911936918 Electric Range Main top section Parts diagram
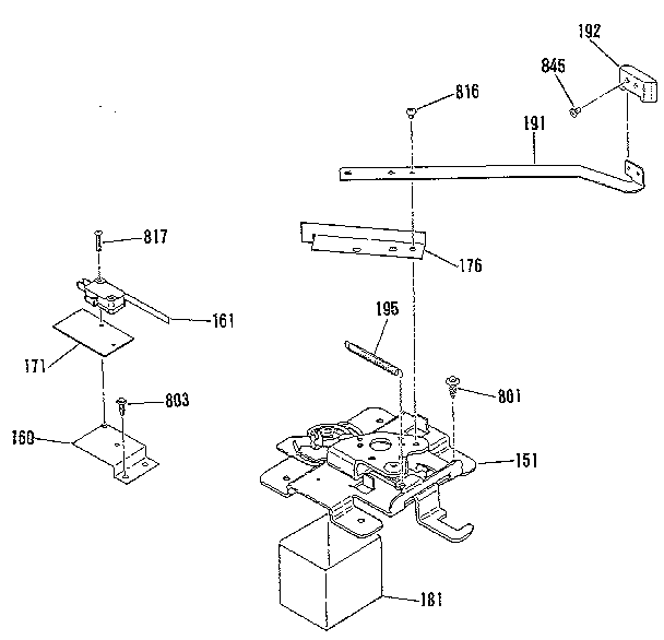
Body section Parts diagram
911936918 Electric Range Body section Parts diagram
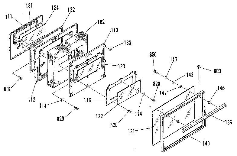
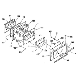
Oven door section Parts diagram
911936918 Electric Range Oven door section Parts diagram
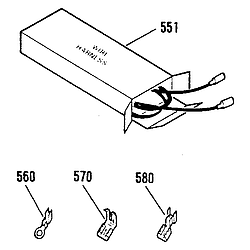
Wire harnesses and components Parts diagram
911936918 Electric Range Wire harnesses and components Parts diagram

Recent Service Requests

CityProblem DescriptionResolution
Waynesboro, PennsylvaniaAbout 10 years ago, LED display (both time and temp.) became very dim and hard to read. Just a few days ago, oven and broiler will not heat. Display shows them to be on, but no heat on either. All other functions work well. After disconnecting and reconnecting wires to control board, display is now a little brighter, but oven and broiler still do not heat.Repaired
Louisiana, Missouritimer/control board will not operate oven.Repaired