Kenmore Electric Range 9119359181 Timer Repair

What is the timer/clock part number for the Kenmore 9119359181 Electric Range?

Timer part number WB27K5074 for Kenmore 9119359181

The 9119359181 Electric Range uses timer part number WB27K5074.

Do you have a failed Kenmore 9119359181 control panel? Click here:

Request Appliance Timer Service

We can repair or replace your faulty Kenmore 9119359181 timer.

9119359181 are also sometimes referred to using these Alternative Names/Model numbers

Sears 9119359181 Electric Range

9119359181 Schematic and Wiring Diagrams

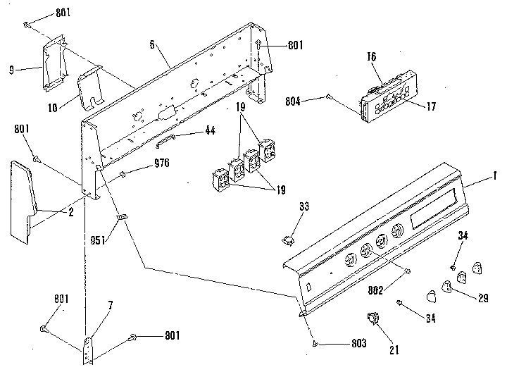
Backguard section Parts diagram
9119359181 Electric Range Backguard section Parts diagram
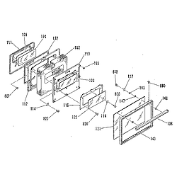
Door lock section Parts diagram
9119359181 Electric Range Door lock section Parts diagram
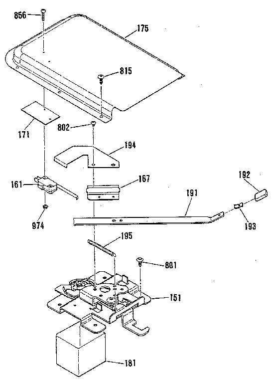
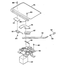
Main top section Parts diagram
9119359181 Electric Range Main top section Parts diagram
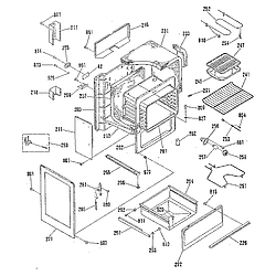
Body section Parts diagram
9119359181 Electric Range Body section Parts diagram
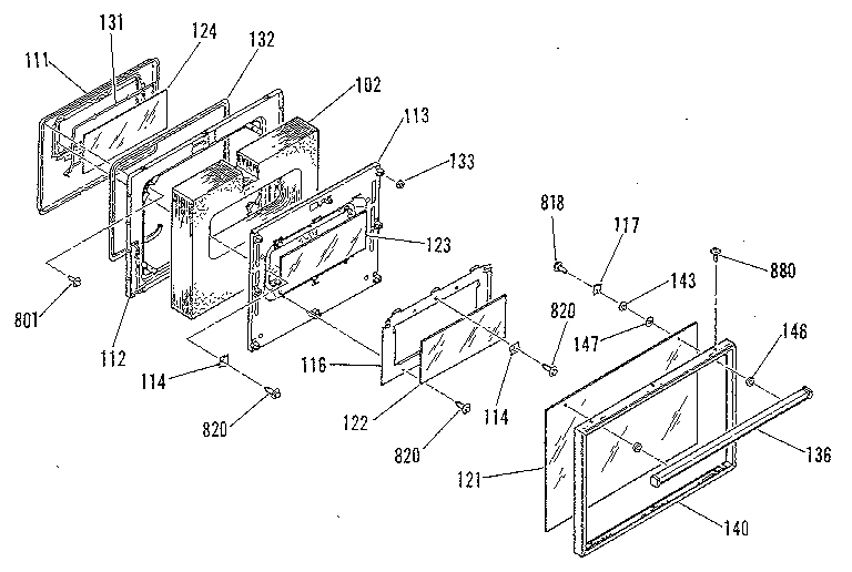
Oven door section Parts diagram
9119359181 Electric Range Oven door section Parts diagram
Wire harnesses and components Parts diagram
9119359181 Electric Range Wire harnesses and components Parts diagram

Recent Service Requests

CityProblem DescriptionResolution
Driggs, IdahoOven does not reach selected temperature before panel says it does. Only about 100 degrees before shutting elements off with panel set to 400.Repaired
Driggs, IdahoOven does not reach selected temperature before panel says it does. Only about 100 degrees before shutting elements off with panel set to 400.Awaiting receipt of timer
callicoon, New YorkNo display. Can't turn oven on at all.Awaiting receipt of timer
Westminster, MarylandDeadAwaiting receipt of timer

Common problems for Kenmore Electric Range 9119359181 Timer Repair

Are you encountering a similar problem as them? Contact us now and we will try to help you fix your 9119359181 timer-related problem.
need owners manual for Model #9119359181 - KENMORE Electric oven
I have a kenmore oven (model 9119359181) that we are trying to find a part 345445 to replace, do you know anyone that still has this part? Our oven is great working order but the temp has to be on 500 in order for the oven to work and other than that it's great...hate to purchase a new oven just for this.
kenmore oven model #9119359181 oven temp will go kenmore oven model #9119359181 oven temp will go up to 100 then shut itself off.